Запчасти Case IH 990 (C08-1) - GEARBOX, SELECTOR MECHANISM - TRANSFER GEARBOX MK4 4WD TRACTORS, DAVID BROWN AXLE, 990 4WD, 996 4WD Gearbox

Схема запчастей Case IH 990 - (C08-1) - GEARBOX, SELECTOR MECHANISM - TRANSFER GEARBOX MK4 4WD TRACTORS, DAVID BROWN AXLE, 990 4WD, 996 4WD Gearbox
4
6
14
13
16
1
9
2
5
11
17
7
3
15
12
8
FIT
1:1
100%

Артикул

Название

Примечание

Количество

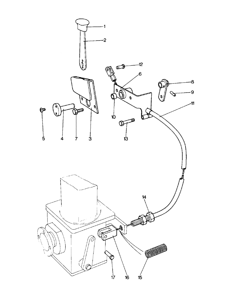
1

K901738

KNOB

1шт.

2

K952264

LEVER

HAND LEVER - 4WD selector, (Mk4 tractor, David Browwn axle)

1шт.

3

K952263

PLATE

GATE - hand lever

1шт.

4

K952257

SHAFT

- hand lever

1шт.

5

K605632

SCREW

- 1/4 UNC x 3/8 in. (Hand, Serial Range: lever-shaft)

2шт.

K626341

SPRING WASHER

SPRING WASHER - 3/8 in. (Hand, Serial Range: lever-shaft)

2шт.

6

K952255

BRACKET

PIVOT BRACKET

1шт.

7

K602849

SCREW

SETSCREW - 5/16 UNC x 7/8 in., plated (Gate to pivot bracket)

2шт.

K19481

SPRING WASHER

SPRING WASHER - 5/16 in. (Gate to pivot bracket)

2шт.

8

K952260

LEVER

- operating

1шт.

9

K623740

SPLIT PIN/SAFETY PIN

SPRING PIN - 3/16 x 7/8 in., Serial Range: lever-shaft

1шт.

10

K628759

BUSHING

BUSH - pivot bracket

2шт.

11

K200088

CABLE

- operating

1шт.

12

K625941

PIN

-, Serial Range: cable-lever

1шт.

K626682

WASHER

- 5/16 in., cable pin

1шт.

K19528

PIN

SPLIT PIN - 3/32 x 3/4 in.

1шт.

13

K600154

BOLT

- 1/4 UNC x 1-3/4 in. (Cable clamp)

1шт.

K626341

SPRING WASHER

SPRING WASHER - 1/4 in. (Cable clamp)

1шт.

K607043

NUT

- 1/4 UNC (Cable clamp)

1шт.

14

K200610

NUT

CABLE ADJUSTER

1шт.

425-1410

JAM NUT,Jam, 5/8"-11, G5

LOCKNUT - 5/8 UNC, adjuster

1шт.

15

K625098

SPRING

RETURN SPRING

1шт.

16

K622207

FORK

- cable end

1шт.

17

K69984

SPLIT PIN/SAFETY PIN

COUPLING PIN - fork end to selector lever - 3/8 in.

1шт.

K19472

WASHER

- 3/8 in.

1шт.

K19532

PIN

SPLIT PIN - 1/8 x 1 in.

1шт.

Выбрано товаров: 26