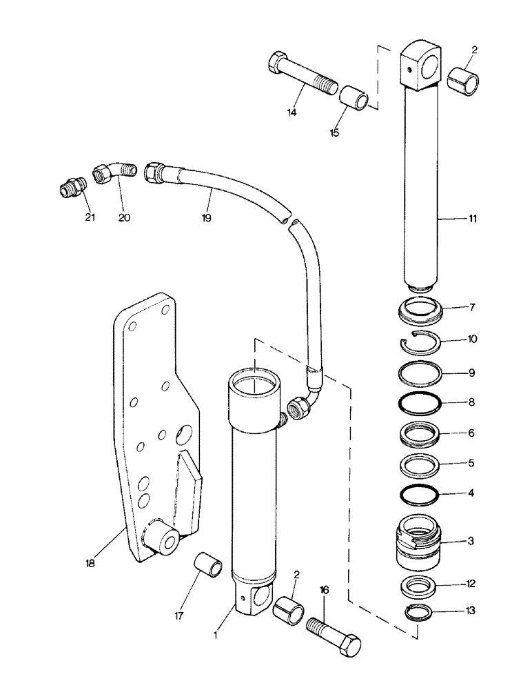
Запчасти Case IH 990 (E13-1) - SELECTAMATIC HYDRAULIC SYSTEM, LINKAGE SUPPORT RAM - U1616 (K930884) OPTIONAL EQUIPMENT (07) - HYDRAULIC SYSTEM

Схема запчастей Case IH 990 - (E13-1) - SELECTAMATIC HYDRAULIC SYSTEM, LINKAGE SUPPORT RAM - U1616 (K930884) OPTIONAL EQUIPMENT (07) - HYDRAULIC SYSTEM
7
19
17
18
2
12
14
2
10
21
15
1
8
5
16
20
9
11
3
6
13
4
FIT
1:1
100%

Артикул

Название

Примечание

Количество

K924497

CYLINDER

SUPPORT RAM ASSEMBLY, Includes: Ref. 1 - 13

1шт.

1

K924634

CYLINDER

CASE - ram cylinder

1шт.

2

K690720

BUSHING

TENSION BUSH

2шт.

219-8

LUBE NIPPLE,1/4" - 28 NPTF

NIPPLE, LUBE, , ANF 1/4"-28 NPT x .54" lg

2шт.

3

K924639

SLEEVE

1шт.

K962911

SEAL

SEAL PACK - support ram, Includes: Ref. 4 - 9

1шт.

4

K691287

O-RING,0.21" Thk x 1.725" ID, -327, Cl 6, 90 Duro

"O" RING - 1-3/4 in. internal dia.

1шт.

5

K691286

RING

ANTI-EXTRUSION RING - 1-3/4 in. internal dia.

1шт.

6

K691285

SEAL

NU-LIP SEAL - 1-3/4 in. internal dia.

1шт.

7

K691505

SEAL,44.45mm ID x 12.7mm Thk

SCRAPER SEAL - 1-3/4 in. internal dia.

1шт.

8

K24844

O-RING,0.139" Thk x 2.234" ID, -228, Cl 6, 90 Duro

"O" RING - 2-1/4 in. internal dia.

1шт.

9

K623529

RING,56.95mm ID x 1.83mm OD x 3.3mm Thk

ANTI-EXTRUSION RING - 2-1/4 in. internal dia.

1шт.

10

K11735

RING, SNAP

CIRCLIP - 2-1/4 in., internal

1шт.

11

K924640

ROD

RAM ROD

1шт.

12

K924643

STOP

RING

1шт.

13

K11129

RING, SNAP

CIRCLIP - 1-1/4 in., external

2шт.

14

K601466

BOLT

- 3/4 UNC x 4 in. (Cylinder to lift arm)

1шт.

K19476

WASHER

- 3/4 in. (Cylinder to lift arm)

1шт.

15

K901963

BUSHING

BUSH (Cylinder to lift arm)

1шт.

K607446

NUT

CLEVELOC NUT - 3/4 UNC (Cylinder to lift arm)

1шт.

16

K601462

BOLT

- 3/4 UNC x 3 in. (Cylinder to hitch plate)

1шт.

K19486

WASHER, LOCK

SPRING WASHER - 3/4 in. (Cylinder to hitch plate)

1шт.

K19476

WASHER

- 3/4 in. (Cylinder to hitch plate)

1шт.

17

K901963

BUSHING

BUSH (Cylinder to hitch plate)

1шт.

18

K944983

HITCH ASSY

HITCH PLATE - right-hand

1шт.

19

K924211

HOSE

FLEXIBLE PIPE - 3/4 UNF x 45 in.

1шт.

20

K622115

NUT

ELBOW - 3/4 UNF (3-way valve)

1шт.

21

K626039

FITTING

UNION - 3/4 UNF (3-way valve)

1шт.

Выбрано товаров: 28