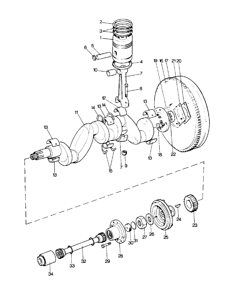
Запчасти Case IH 995 (A03-1) - ENGINE, PISTONS, CRANKSHAFT AND FLYWHEEL (01) - ENGINE

Схема запчастей Case IH 995 - (A03-1) - ENGINE, PISTONS, CRANKSHAFT AND FLYWHEEL (01) - ENGINE
7
18
20
14
9
25
10
3
15
22
30
33
7
32
2
27
29
23
26
13
24
4
19
5
14
13
31
21
13
11
17
34
16
1
8
13
6
12
13
28
FIT
1:1
100%

Артикул

Название

Примечание

Количество

1a

K949721

PISTON & RINGS KIT

PISTON ASSEMBLY - standard bore (990, 990Q, 990G, 990SK), Includes: Ref. 2 - 6

4шт.

1b

K949474

PISTON & RINGS KIT

PISTON ASSEMBLY - standard bore (995, 995Q, 995G, 995SK, 996, 996Q, 996G, 996SK), Includes: Ref. 2 - 6

4шт.

2

K943881

RING, PISTON

PISTON RING - no. 1 compression

1шт.

3

K943882

RING, PISTON

PISTON RING - no. 2 and 3 compression

2шт.

4

K917409

SCRAPER

PISTON RING - scraper

1шт.

5

K904370

PIN

GUDGEON PIN

1шт.

6

K34501

RING, SNAP

CIRCLIP - 1-1/4 in., internal

2шт.

7

K80043

ROD, CONNECTING

CONNECTING ROD AND CAP ASSEMBLY, Includes: Ref. 8 - 10

4шт.

8

K905198

BOLT

- 7/16 BSF, special

2шт.

9

K623151

LOCK NUT

- 7/16 BSF, self locking

2шт.

10

K31669

BEARING

BUSH - small end

1шт.

11a

K962224

CRANKSHAFT

- with bearings (990, 990Q, 990G, 990SK), Includes: Ref. 12 - 15

1шт.

11b

K962157

CRANKSHAFT

- with bearings (995, 995Q, 995G, 995SK, 996, 996Q, 996G, 996SK), Includes: Ref. 12 - 15

1шт.

REF 11B MODEL 996 DAVID BROWN ENGINE WAS USED ALSO IN A 580 SUPER E.

1шт.

12

K911904

HALF-BEARING, CRANKS

BEARING - big end, halves (Standard diameter journals)

8шт.

13

K928541

HALF-BEARING, CRANKS

BEARING MAIN HALVES (Standard diameter journals)

6шт.

14

K928542

SET

THRUST WASHER - upper (Standard diameter journals)

2шт.

15

K928543

SET

THRUST WASHER - lower (Standard diameter journals)

2шт.

16a

K954726

FLYWHEEL

ASSEMBLY - 11/11 in. double clutch (990, 990Q, 990G, 990SK, 995, 995Q, 995G, 995SK), Includes: Ref. 17

1шт.

Used on models 990, 990Q, 990G, 990SK, S/N E52890 and after

1шт.

Used on models 995, 995Q, 995G, 995SK, S/N E50780 and after

1шт.

16b

K947979

FLYWHEEL

ASSEMBLY - 10/11 in. double clutch (990, 990Q, 990G, 990SK, 995, 995G, 995SK), Includes: Ref. 17

1шт.

Used on models 990, 990Q, 990G, 990SK, up to S/N E52890

1шт.

Used on models 995, 995Q, 995G, 995SK, up to S/N E50780

1шт.

16c

K947983

FLYWHEEL

ASSEMBLY - single clutch (990, 990Q, 990G, 990SK, 995, 995Q, 995G, 995SK), Includes: Ref. 17

1шт.

16d

K947995

FLYWHEEL

ASSEMBLY - dual clutch (996, 996Q, 996G, 996SK), Includes: Ref. 17

1шт.

17

K36134

GEAR

STARTER RING

1шт.

18

K903431

STEP BOLT

- 7/16 UNF, special, Serial Range: (Flywheel-crankshaft)

4шт.

K616968

NUT

- 7/16 UNF, Serial Range: (Flywheel-crankshaft)

4шт.

19

K10629

PIN

DOWEL - 1/2 in. x 15/16 in., Serial Range: (Flywheel-crankshaft)

1шт.

20

K910883

WASHER

TABWASHER, Serial Range: (Flywheel-crankshaft)

1шт.

21a

K903255

DISC

LOCATING DISC - clutch plate (990, 990Q, 990G, 990SK, 995, 995Q, 995G, 995SK)

1шт.

21b

K912323

HOUSING

LOCATING DISC - clutch plate (996, 996Q, 996G, 996SK)

1шт.

22

K19167

BALL BEARING,22.23mm ID x 50.8mm OD x 14.29mm W

- clutch shaft spigot

1шт.

23

K945094

GEAR

- 34 teeth, steel

1шт.

24

K19608

KEY

- Woodruff no. 606

1шт.

25a

K944348

PULLEY

- with front drive fitting

1шт.

25b

K944349

PULLEY

- without front drive fitting

1шт.

26

K626403

WASHER

- 1 in. special

1шт.

27

K623300

NUT

- 1 in. special

1шт.

28

K910538

COUPLING, BREAK AWAY

COUPLING - crankshaft pulley (Optional equipment)

1шт.

29

K600203

BOLT,Hex, 5/16" - 18 x 1 1/4", Gr 5

- 5/16 UNC x 1-1/4 in. (Optional equipment)

4шт.

K19481

SPRING WASHER

SPRING WASHER - 5/16 in. (Optional equipment)

4шт.

30a

K627580

BUSHING

RUBBER DISC - 5/16 in. thick (Optional equipment)

1шт.

30b

K627581

BUSHING

RUBBER DISC - 7/16 in. thick (Optional equipment)

1шт.

30c

K627582

BUSHING

RUBBER DISC - 9/16 in. thick (Optional equipment)

1шт.

31

K910559

PLATE

STEEL DISC (Optional equipment)

1шт.

32

K914297

SHAFT

DRIVESHAFT (Optional equipment)

1шт.

33

K623555

O-RING,1.396" OD x 0.255" Width

"O" RING - 1-7/16 in. internal dia. (Optional equipment)

2шт.

34

K910534

COUPLING, BREAK AWAY

COUPLING - pump (Optional equipment)

1шт.

Выбрано товаров: 50