Запчасти Case IH 995 (M01-1) - ELECTRICAL EQUIPMENT, ALTERNATOR, BATTERY AND STARTER (06) - ELECTRICAL SYSTEMS

Схема запчастей Case IH 995 - (M01-1) - ELECTRICAL EQUIPMENT, ALTERNATOR, BATTERY AND STARTER (06) - ELECTRICAL SYSTEMS
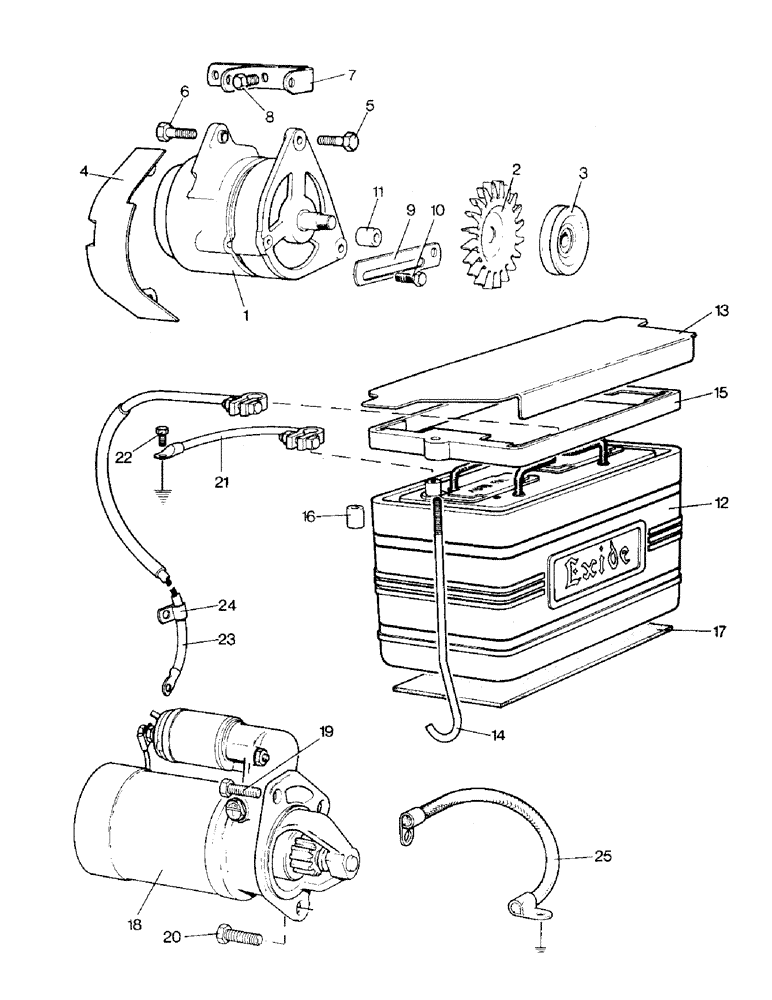
7
9
20
15
24
1
6
2
5
25
22
17
19
12
10
16
18
3
23
8
21
11
4
13
14
FIT
1:1
100%

Артикул

Название

Примечание

Количество

1

K925009

ALTERNATOR

ALTERNATOR - Lucas 23700F

1шт.

1

92293C1R

REMAN-ALTERNATOR

Reman For New PN K925009

1шт.

1

92293C1C

CORE-ALTERNATOR

Return Number

1шт.

1

K953785

ALTERNATOR

ALTERNATOR - AC-Delco 7982952, See Figure M01-1

1шт.

1

K956426

ALTERNATOR

Alternator

1шт.

1

104020A1GV

ALTERNATOR

Value, 12V, 26A

1шт.

1

104020A1R

REMAN-ALTERNATOR

Remanufactured 12 VOLT, 26 AMP Alternator

1шт.

1

104020A1C

CORE-ALTERNATOR

Return Number, 12 VOLT, 26 AMP Alternator

1шт.

1

104020A1RGV

ALTERNATOR

REMANUFACTURED 12 VOLT, 26 AMP ALTERNATOR

1шт.

2

K942129

FAN

FAN - alternator

1шт.

3

K952702

PULLEY

PULLEY - alternator

1шт.

4

K950496

FAN

GUARD - alternator fan

1шт.

5

K600359

BOLT

BOLT - 5/16 UNC x 1-1/4 in.

1шт.

6

K600365

BOLT

BOLT - 5/16 UNC x 1-1/2 in.

1шт.

Ref #6 - Use 113-122 12/15/95

1шт.

K19481

SPRING WASHER

SPRING WASHER - 5/16 in.

2шт.

9635082

NUT,5/16" - 18, Gr 5

NUT - 5/16 UNC

2шт.

7

K947375

SUPPORT

SUPPORT BRACKET - alternator

1шт.

8

K608235

STUD

STUD - 3/8 UNC x 1-1/4 in. (Bracket to cylinder block)

1шт.

8

88206

BOLT,Hex, 3/8" - 16 x 1", Gr 5

BOLT, (Bracket to cylinder block) Hex, 3/8"-16 x 1", G5, Full Thd

1шт.

K19482

SPRING WASHER

SPRING WASHER - 3/8 in. (Bracket to cylinder block)

2шт.

280136

NUT,3/8"-16, G8

NUT, (Bracket to cylinder block) 3/8"-16, G8

1шт.

9

K950495

ADJUSTER

ADJUSTER STRAP - alternator

1шт.

10

280345

BOLT,Hex, 5/16" - 18 x 7/8", Gr 5, Full Thd

SETSCREW - 5/16 UNC x 7/8 in.

1шт.

K626916

WASHER

WASHER - 5/16 in., special

1шт.

K19481

SPRING WASHER

SPRING WASHER - 5/16 in.

1шт.

11

K627028

BUSHING

DISTANCE PIECE - adjuster strap

1шт.

12a

A38411

DRY BATTERY

BATTERY - 12 volt, Exide 6/TXMZ15L (Standard duty battery) (replaced K907789)

1шт.

13a

A38411

DRY BATTERY

COVER - battery (Standard duty battery) (replaced K947399)

1шт.

14a

K948515

STEM

CLAMPING STUD - 1/4 UNC x 10-3/4 in. (Standard duty battery)

2шт.

15

K947080

FRAME

CLAMP - battery (Standard duty battery)

1шт.

K19470

WASHER

WASHER - 1/4 in. (Standard duty battery)

2шт.

K626341

SPRING WASHER

SPRING WASHER - 1/4 in. (Standard duty battery)

2шт.

K607200

NUT

WING NUT - 1/4 UNC (Standard duty battery)

2шт.

12b

K952487

BATTERY

BATTERY - 12 volt, Exide 6/RMAZ17R (Heavy duty battery)

1шт.

13b

K948699

COVER

COVER - battery (Heavy duty battery)

1шт.

14b

K948523

STUD

CLAMPING STUD - 1/4 UNC x 14 in. (Heavy duty battery)

2шт.

15

K947080

FRAME

CLAMP - battery (Heavy duty battery)

1шт.

16

K948524

BUSHING

DISTANCE PIECE - clamp stud (Heavy duty battery)

2шт.

K607043

NUT

NUT - 1/4 UNC (Heavy duty battery)

2шт.

K19470

WASHER

WASHER - 1/4 in. (Heavy duty battery)

4шт.

K626341

SPRING WASHER

SPRING WASHER - 1/4 in. (Heavy duty battery)

2шт.

K607200

NUT

WING NUT - 1/4 UNC (Heavy duty battery)

2шт.

17

K908394

BUSHING

SPARE PART SEATING PAD - battery

1шт.

18a

K89772

STARTER MOTOR

STARTER - Lucas 26278

1шт.

18b

K954700

STARTER MOTOR

STARTER - Bosch 0-001-362-060

1шт.

19

K600408

BOLT,3/8" x 2"

SETSCREW - 3/8 UNC x 2 in.

1шт.

20

K600406

BOLT

SETSCREW - 3/8 UNC x 1-3/4 in.

2шт.

280136

NUT,3/8"-16, G8

NUT, 3/8"-16, G8

1шт.

K19482

SPRING WASHER

SPRING WASHER - 3/8 in.

3шт.

21

K913945

CABLE

CABLE -, Serial Range: battery-earth

1шт.

22

K602840

SCREW

SETSCREW - 5/16 UNC x 1/2 in.

1шт.

K11517

WASHER

SPRING WASHER - 5/16 in.

1шт.

9635082

NUT,5/16" - 18, Gr 5

NUT - 1/4 UNC

1шт.

23

K947406

CABLE

CABLE -, Serial Range: battery-starter

1шт.

K87560

CONTACT HOUSING

RUBBER COVER - starter terminal

1шт.

24

K15518

CLAMP

CLIP - starter cable

1шт.

25

K918762

CABLE

CABLE -, Serial Range: starter-earth

1шт.

Выбрано товаров: 58