Запчасти Case IH 996 (G18) - BRAKES, EXHAUST BRAKE (5.1) - BRAKES

Схема запчастей Case IH 996 - (G18) - BRAKES, EXHAUST BRAKE (5.1) - BRAKES
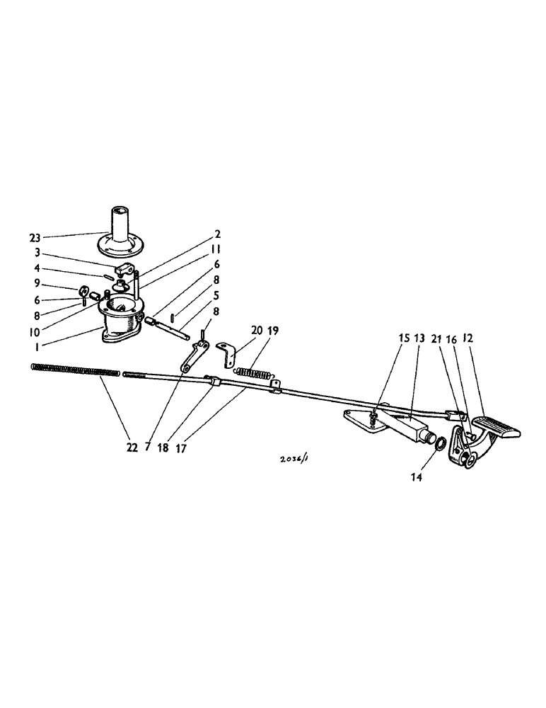
14
6
21
20
13
17
15
6
23
8
4
11
22
5
2
12
1
8
7
19
10
9
18
8
3
16
FIT
1:1
100%

Артикул

Название

Примечание

Количество

K925879

EXHAUST BRAKE (U1319), Manual Steering - 990 and 995 Tractors

1шт.

K925881

EXHAUST BRAKE (U1320), Hydrostatic Steering - 990 and 995 Tractors

1шт.

K925871

EXHAUST BRAKE (U1322), Manual Steering - 1210 Tractors

1шт.

K925873

EXHAUST BRAKE (U1323), Hydrostatic Steering - 1210 Tractors (Optional Equipment)

1шт.

K922553

VALVE

ASSEMBLY, Includes: Ref. 1 - 10

1шт.

1

K907032

VALVE

HOUSING

1шт.

2

K904545

VALVE

1шт.

3

K904537

VALVE

LEVER

1шт.

4

K19541

PIN

SPLIT PIN, 5/32 x 1-1/8 in

1шт.

5

K906454

SPINDLE

OPERATING SPINDLE

1шт.

6

K904547

BUSHING

BUSH

2шт.

7

K922551

LEVER

OPERATING LEVER

1шт.

8

K623733

PIN

SPRING PIN, 3/16 x 7/8 in

3шт.

9

K904551

COLLAR

1шт.

10

K608200

STUD

3/8 UNC x 1-5/16 in

2шт.

K68327

GASKET

1шт.

11

K608220

STUD

3/8 UNC x 4-3/4 in

2шт.

280136

NUT,3/8"-16, G8

4шт.

12

K920782

PEDAL

CONTROL PEDAL

1шт.

13a

K920630

PEDAL

SUPPORT BRACKET, pedal (U1322)

1шт.

K920631

CLAMP

bracket to steering box (U1322)

1шт.

K600419

BOLT

3/8 UNC x 3-3/4 in, bracket to steering box (U1322)

2шт.

K19482

SPRING WASHER

SPRING WASHER, 3/8 in, bracket to steering box (U1322)

2шт.

14

K11129

RING, SNAP

CIRCLIP, 1-1/4 in external, bracket to steering box (U1322)

1шт.

13a

K920630

PEDAL

SUPPORT BRACKET, pedal (U1323)

1шт.

K602903

SCREW

SETSCREW, 3/8 UNC x 7/8 in, bracket to steering box (U1323)

2шт.

K19482

SPRING WASHER

SPRING WASHER, 3/8 in, bracket to steering box (U1323)

2шт.

14

K11129

RING, SNAP

CIRCLIP, 1-1/4 in external, bracket to steering box (U1323)

1шт.

13b

K927096

SUPPORT

pedal (U1320)

1шт.

14

K11129

RING, SNAP

CIRCLIP, 1-1/4 in external (U1320)

1шт.

15

K600403

BOLT

3/8 UNC x 1-3/8 in, support to gearbox cover (U1320)

3шт.

K19482

SPRING WASHER

SPRING WASHER, 3/8 in, support to gearbox cover (U1320)

3шт.

16

K928521

PIN

1шт.

17

K922550

ROD

CONTROL ROD

1шт.

K621587

RING, SNAP

'E' CLIP, 3/8 in

2шт.

18

K920650

NO LONGER SERVICED

EYE END

1шт.

19

K906456

SPRING

RETURN SPRING

1шт.

20

K920629

BRACKET

ANCHOR BRACKET

1шт.

219-8

LUBE NIPPLE,1/4" - 28 NPTF

NIPPLE, LUBE, , ANF 1/4"-28 NPT x .54" lg

1шт.

21

K15484

WASHER

1-9/32 in, special (nominal)

1шт.

K922548

BUSHING

DISTANCE PIECE, control rod

1шт.

22

K920652

SPRING

control rod

1шт.

K19471

WASHER

5/16 in

1шт.

231-1435

LOCK NUT,5/16"-18, GB

NYLOC NUT, 5/16 UNC

1шт.

23

K928700

FLANGE

EXHAUST FLANGE

1шт.

K904550

GASKET

1шт.

K928704

MUFFLER

SILENCER, replaces K926834 (990, 995)

1шт.

K928712

MUFFLER

SILENCER, replaces K926833 (1210)

1шт.

The Exhaust Brake description of the Part # K925879, K925881, K925871 & K925873 is Not Applicable. 10/17/95

1шт.

Выбрано товаров: 49