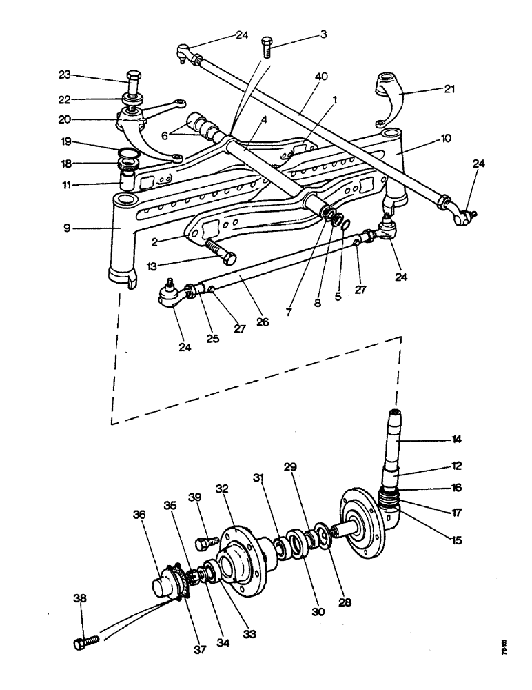
Запчасти Case IH 996 (H12) - STEERING AND FRONT AXLE, HEAVY DUTY FRONT AXLE, 996 TRACTORS, OPTIONAL EQUIPMENT Steering & Front Axle

Схема запчастей Case IH 996 - (H12) - STEERING AND FRONT AXLE, HEAVY DUTY FRONT AXLE, 996 TRACTORS, OPTIONAL EQUIPMENT Steering & Front Axle
17
6
11
12
24
15
24
35
27
38
16
39
28
26
29
36
31
13
37
40
3
5
22
10
33
19
8
21
18
23
14
32
24
30
34
4
24
20
7
1
9
2
25
27
FIT
1:1
100%

Артикул

Название

Примечание

Количество

1

K906197

BEAM

CENTRE BEAM, front

1шт.

2

K906198

BEAM

CENTRE BEAM, rear

1шт.

3

K606863

SCREW

Wedglock, 3/8 UNC x 7/8 in

1шт.

4

K913314

PIN

TRUNNION PIN

1шт.

5

K15596

RING,3.63mm Thk x 31.34mm ID

'O' RING, 1-1/4 in internal dia.

1шт.

6

K15597

BUSHING

BUSH

4шт.

7a

K902719

WASHER

THRUST WASHER, 15/64 in, alternatives

2шт.

7b

K902720

X

THRUST WASHER, 17/64 in, alternatives

2шт.

7c

K902721

WASHER

THRUST WASHER, 9/32 in, alternatives

2шт.

7d

K86661

WASHER

THRUST WASHER, 5/32 in, alternatives

2шт.

7e

K86662

WASHER

THRUST WASHER, 3/16 in, alternatives

2шт.

7f

K86663

WASHER

THRUST WASHER, 7/32 in, alternatives

2шт.

7g

K86664

WASHER

THRUST WASHER, 1/4 in, alternatives

2шт.

8

K15619

SEAL

DIRT EXCLUDER

2шт.

9

K961294

BEAM EXTENSION, left-hand, (with bushes)

1шт.

10

K961295

BEAM

EXTENSION, right-hand, (with bushes)

1шт.

11

K621331

BUSHING

upper

2шт.

12

K621367

BUSHING

BUSH, lower

2шт.

219-8

LUBE NIPPLE,1/4" - 28 NPTF

NIPPLE, LUBE, , ANF 1/4"-28 NPT x .54" lg

2шт.

13

K601417

BOLT

3/4 UNC x 4-3/4 in

4шт.

K607007

NUT

3/4 UNC

4шт.

K19486

WASHER, LOCK

SPRING WASHER, 3/4 in

4шт.

14

K962341

SHAFT

STUB AXLE AND KING PIN, left-hand

1шт.

K962342

SHAFT

STUB AXLE AND KING PIN, right-hand

1шт.

15

K24764

O-RING

'O' RING, 2-5/8 in internal dia.

2шт.

16

K620180

THRUST BEARING

2шт.

17

K626692

DISC

THRUST WASHER

4шт.

18

K85298

SEAL

RETAINER

2шт.

19

K623524

O-RING,0.139" Thk x 2.109" ID, -227, Cl 5, 75 Duro

'O' RING, 2-1/8 in internal dia.

2шт.

20a

K910511

LEVER

STEERING LEVER, left-hand, (manual steering)

1шт.

20b

K972483

LEVER

STEERING LEVER, left-hand, (hydrostatic steering)

1шт.

21

K910512

LEVER

STEERING LEVER, right-hand

1шт.

K622321

KEY

PARALLEL KEY, 3/8 x 1/4 x 1-1/2 in

4шт.

22

K15595

WASHER

5/8 in, special

2шт.

23

K601212

BOLT

5/8 UNC x 3 in

2шт.

K19485

WASHER

SPRING WASHER, 5/8 in

2шт.

24

K908071

BALL JOINT

BALL AND SOCKET ASSEMBLY

2шт.

K961701

BOOT

DIRT EXCLUDER, (rubber)

4шт.

K622500

LOCK NUT

LOCKNUT, special

4шт.

231-2448

LOCK NUT,1/2"-20, GB

NYLOC NUT, 1/2 UNF

4шт.

25

K906210

ROD

TRACK ROD

2шт.

26

K906209

BUSHING

SPACER TUBE, track rods

1шт.

27

K600316

BOLT

5/16 UNC x 2-1/4 in

2шт.

K19481

SPRING WASHER

SPRING WASHER, 5/16 in

2шт.

9635082

NUT,5/16" - 18, Gr 5

5/16 in

2шт.

28

K910429

SPACER

DIRT EXCLUDER

2шт.

29

K910428

RING RACE

SLEEVE, oil sleeve

2шт.

K962986

SEAL

BEARING AND SEAL PACK, Includes: Ref. 30 & 31

2шт.

30

K623419

OIL SEAL

OIL SEAL, 2-3/4 x 2-3/4 x 1/2 in

2шт.

31

K19186

BEARING, ROLLER

TAPERED ROLLER BEARING, inner

2шт.

32

K972447

HUB

FRONT HUB

2шт.

219-8

LUBE NIPPLE,1/4" - 28 NPTF

NIPPLE, LUBE, , ANF 1/4"-28 NPT x .54" lg

2шт.

33

K19085

TAPERED BEARING,38.1mm ID x 72.02mm OD x 17.02mm W

outer, part of K962986

2шт.

34

K626673

WASHER

3/4 in, special

2шт.

35

K617157

NUT

SLOTTED NUT, 3/4 UNF

2шт.

K623603

PIN

SPLIT PIN, 11/64 x 1-1/8 in, part of K962986

2шт.

36

K908913

CAP

HUB CAP

2шт.

37

K15344

GASKET,0.25mm Thk

part of K962986

2шт.

38

9627874

BOLT,Hex, 5/16" - 18 x 5/8", Gr 5, Full Thd

SETSCREW, 5/16 UNC x 5/8 in

6шт.

K19481

SPRING WASHER

SPRING WASHER, 5/16 in

6шт.

39a

K907400

WHEEL BOLT,1/2" - 13 x 1 1/8"

WHEEL BOLT, 1/2 UNC x 1 in (without front brakes)

12шт.

39b

K971809

WHEEL BOLT

WHEEL BOLT, 1/2 UNC x 2-1/4 (with front brakes)

12шт.

K912076

LINK

DRAG LINK ASSEMBLY, (manual steering), Includes: Ref. 40 & 24

1шт.

40

K909033

DRAG LINK

TUBE

1шт.

24

K908071

BALL JOINT

BALL SOCKET ASSEMBLY

2шт.

Выбрано товаров: 65