Запчасти Case IH 996 (L09-1) - CHASSIS, BONNET AND FITTINGS, 990, 995, 996, 990G, 995G, 996G, 990Q, 995Q, 996Q, 990SK, 995SK, 996SK (12) - CHASSIS

Схема запчастей Case IH 996 - (L09-1) - CHASSIS, BONNET AND FITTINGS, 990, 995, 996, 990G, 995G, 996G, 990Q, 995Q, 996Q, 990SK, 995SK, 996SK (12) - CHASSIS
16
14
8
12
2
11
7
1
5
3
15
10
4
6
13
17
9
18
FIT
1:1
100%

Артикул

Название

Примечание

Количество

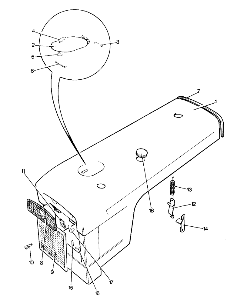
1a

K961898

GUARD

BONNET ASSEMBLY (990, 995, 996, 990G, 995G, 996G), Includes: Ref. 2 - 7B

1шт.

1b

K964835

HOOD

BONNET ASSEMBLY (990Q, 995Q, 996Q, 990SK, 995SK, 996SK), Includes: Ref. 2 - 7B

1шт.

2

K962015

COVER

HATCH COVER, Includes: Ref. 3 - 6

1шт.

3

K914557

SPRING

PIN - hatch pivot

1шт.

4

K942158

LEVER

1шт.

K626956

WASHER

FIBRE WASHER - 7/16 in.

1шт.

K626899

SHIM

BRASS WASHER - 7/16 in.

1шт.

5

K621588

RING, SNAP

CIRCLIP - 7/16 in., external

1шт.

6

K917749

FASTENER

SPRING - hatch fastener

1шт.

K11405

RIVET

- 1/8 x 3/8 in.

2шт.

K19495

WASHER

- 1/8 in.

2шт.

7a

K915789

BEAD

ING (990, 995, 996, 990G, 995G, 996G)

1шт.

K624151

RIVET

- 1/8 x 1/8 in. (990, 995, 996, 990G, 995G, 996G)

9шт.

7b

K946390

BEAD

EDGING STRIP - order in metres (990Q, 995Q, 996Q, 990SK, 995SK, 996SK)

1шт.

8

K915871

GRILLE

LOUVRE PLATE (Outboard headlamps)

1шт.

K624587

RETAINER

PUSH-ON FIXING (Outboard headlamps)

6шт.

K627999

PLUG

- 11/16 in. bonnet side (Inboard headlamps)

2шт.

K914804

PLUG

- 3/8 in., bonnet nose (Inboard headlamps)

4шт.

9

K947644

GUARD

LOUVRE, Includes: Ref. 10

1шт.

Ref #9 - Use K921811 & K947842 12/15/95

1шт.

10

K921811

FASTENER

- bonnet louvre

2шт.

11

K916654

SHIM

BRACKET AND SPRING - louvre fastener

2шт.

12a

K915791

GRIP

FINGER GRIP - bonnet fastener (990, 995, 996, 990G, 995G, 996G)

2шт.

12b

K88680

GRIP

FINGER GRIP - bonnet fastener (990Q, 995Q, 996Q, 990SK, 995SK, 996SK)

1шт.

13a

K624911

SPRING

(990, 995, 996, 990G, 995G, 996G)

2шт.

13b

K624914

SPRING

(990Q, 995Q, 996Q, 990SK, 995SK, 996SK)

2шт.

14

K953892

SPRING

ANCHOR BRACKET - bonnet fastener, left-hand (990Q, 995Q, 996Q, 990SK, 995SK, 996SK)

1шт.

K953891

SPRING

ANCHOR BRACKET - bonnet fastener - right-hand (990Q, 995Q, 996Q, 990SK, 995SK, 996SK)

1шт.

15

K608125

STUD

- 5/16 UNC x 1-3/4 in., Serial Range: (Bonnet-frame)

2шт.

K915627

WASHER

RUBBER WASHER - 5/16 in., Serial Range: (Bonnet-frame)

2шт.

16

K626669

WASHER

- 5/16 in., special, Serial Range: (Bonnet-frame)

2шт.

17

K607201

NUT

WING NUT - 5/16 UNC, Serial Range: (Bonnet-frame)

2шт.

18a

K914347

INSERT

RUBBER INSERT - 2-3/4 in. dia. (990, 995, 996, 990G, 995G, 996G)

1шт.

18b

K956075

INSERT

RUBBER INSERT - 3-1/4 in. dia., exhaust pipe aperture (990, 995, 996, 990G, 995G, 996G)

1шт.

Выбрано товаров: 34