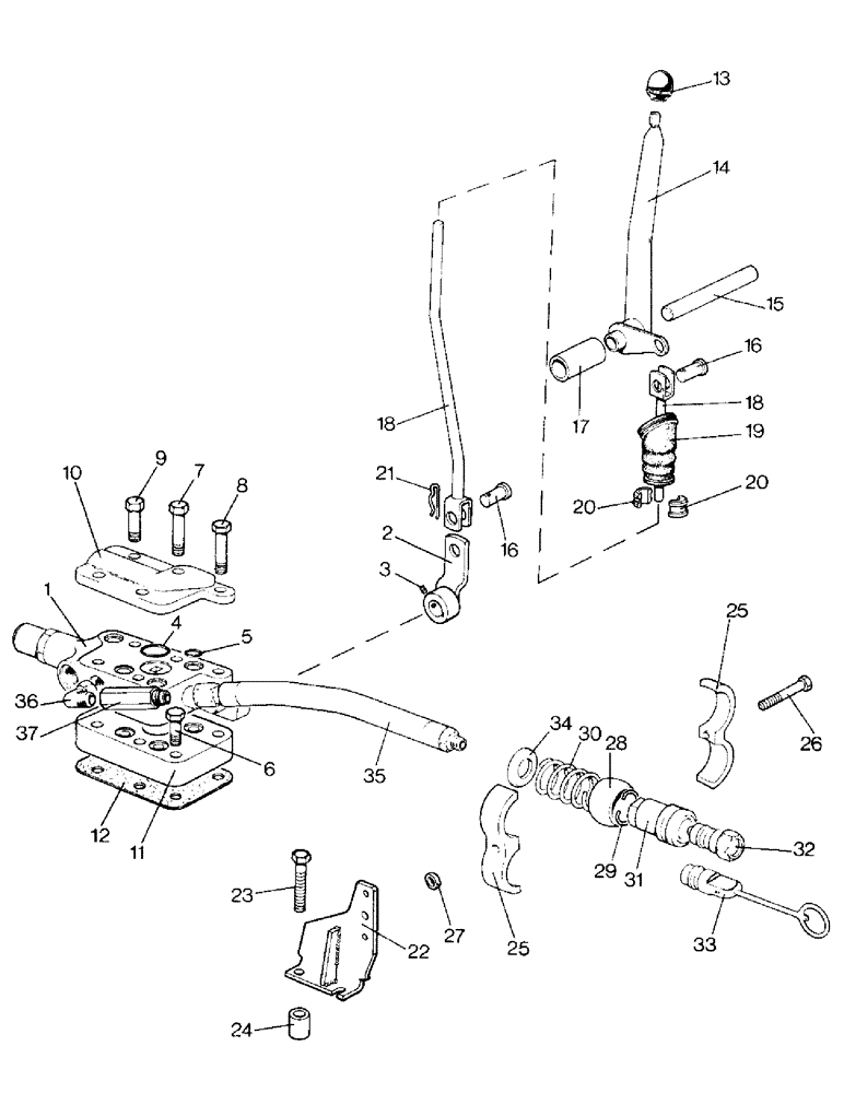
Запчасти Case IH 996 (E17-1) - SELECTAMATIC HYDRAULIC SYSTEM, SINGLE LIVE TAKE-OFF VALVE UNITS OPTIONAL EQUIPMENT (07) - HYDRAULIC SYSTEM

Схема запчастей Case IH 996 - (E17-1) - SELECTAMATIC HYDRAULIC SYSTEM, SINGLE LIVE TAKE-OFF VALVE UNITS OPTIONAL EQUIPMENT (07) - HYDRAULIC SYSTEM
20
27
17
6
14
25
29
23
21
18
36
8
16
2
12
5
34
1
3
9
30
24
4
13
35
11
18
19
31
26
28
7
16
25
32
22
10
15
33
20
37
FIT
1:1
100%

Артикул

Название

Примечание

Количество

K964527

HYDRAULIC VALVE

SINGLE TAKE-OFF VALVE - U1909, with hand control U1913

1шт.

K931848

SPARE PART

SINGLE LIVE TAKE-OFF VALVE UNIT - U1909

1шт.

K931850

SPARE PART

HAND CONTROL FOR SINGLE VALVE - U1913

1шт.

K930230

NO LONGER SERVICED

PIPES AND COUPLINGS FOR SINGLE VALVE - U1400

1шт.

K965187

KIT

CONVERSION KIT - single, Serial Range: valve-twin

1шт.

1a

K956421

VALVE

TAKE-OFF VALVE ASSEMBLY - See Figure E20-1

1шт.

Used on models 990Q, 990SK, 995Q, 995SK, 996Q, 996SK, S/N 11088300 and after

1шт.

1b

K943825

VALVE

TAKE-OFF VALVE ASSEMBLY - See Figure E20-1

1шт.

Used on models 990Q, 990SK, 995Q, 995SK, 996Q, 996SK, up to S/N 11088300

1шт.

2

K950851

LEVER

- cranked

1шт.

K622386

KEY

- Woodruff no. 404

1шт.

Used on models 990Q, 990SK, 995Q, 995SK, 996Q, 996SK, S/N 11088300 and after

1шт.

K622382

KEY

- Woodruff no. 403

1шт.

Used on models 990Q, 990SK, 995Q, 995SK, 996Q, 996SK, up to S/N 11088300

1шт.

3

K606322

SCREW

GRUBSCREW - 5/16 UNC x 3/8 in.

1шт.

4

K623588

O-RING,2.69mm Thk x 29.97mm ID, 75 Duro

"O" RING - 1-3/16 in. internal dia.

1шт.

5

K24852

O-RING,0.103" Thk x 0.674" ID, -115, Cl 6, 90 Duro

"O" RING - 11/16 in. internal dia.

5шт.

6

K600510

BOLT

- 3/8 UNC x 2 in.

1шт.

7

K600511

BOLT

- 3/8 UNC x 4-1/4 in.

2шт.

8

K600512

BOLT

- 3/8 UNC x 4-1/2 in.

1шт.

9

K600515

BOLT

- 3/8 UNC x 2-3/4 in.

2шт.

K19482

SPRING WASHER

SPRING WASHER - 3/8 in.

6шт.

10

K919242

COVER

1шт.

11

K962085

BASE

PLATE

1шт.

12

K917387

GASKET

- baseplate to axle case

1шт.

13

K950493

KNOB

1шт.

14

K950762

LEVER

HAND LEVER

1шт.

K613984

SCREW

- no. 10 UNF x 1/2 in.

2шт.

15

K950863

SHAFT

1шт.

16

K950866

LARGE PIN

CLEVIS PIN

2шт.

K623605

PIN

SPLIT PIN - 1/16 x 1/2 in.

1шт.

17

K950898

BUSHING

SPACER

1шт.

18

K950847

ROD

CONNECTING ROD

1шт.

19

K950691

SEAL

GAITER

1шт.

20

K950861

BUSHING

SPLIT BUSH - halves

2шт.

21

K950865

CLIP

RETAINING CLIP

1шт.

22

K940752

MOUNTING PARTS

SUPPORT BRACKET

1шт.

23

K600896

BOLT

- 1/2 UNC x 3-1/2 in.

2шт.

K19474

HARDWARE

WASHER - 1/2 in.

1шт.

24

K627074

BUSHING

DISTANCE PIECE

1шт.

25

K924286

MOUNTING PARTS

MOUNTING FRAME

2шт.

26

K600703

BOLT

- 7/16 UNC x 3 in.

1шт.

27

K627056

BUSHING

DISTANCE PIECE

1шт.

K626344

WASHER, LOCK

SPRING WASHER - 7/16 in.

1шт.

280717

NUT,7/16"-14, G5

1шт.

28

K924284

RING

GIMBAL RING

2шт.

29

K924285

RING

RETAINING RING

2шт.

30

K625249

SPRING

2шт.

K921216

COUPLING, BREAK AWAY

QUICK-RELEASE COUPLING - Aeroquip B5600/8/10, Includes: Ref. 31 & 32

2шт.

31

K929247

BREAKER POINTS

COUPLING - tractor half

1шт.

32

K921982

BREAKER POINTS

COUPLING - implement half

1шт.

33

K921217

PLUG

DUST COVER - quick release coupling, tractor half

2шт.

K965185

COVER

DUST COVER - quick release coupling, implement half

2шт.

34

K626794

WASHER

- special

2шт.

35

K924710

HOSE

FLEXIBLE PIPE - 1/2 BSP - 3/4 UNF x 16-1/4 in.

2шт.

36

K622114

FITTING

ELBOW - 3/4 UNF

2шт.

37

K945364

PIPE

CONNECTOR - 3/4 UNF

1шт.

Выбрано товаров: 57