Запчасти Case IH 996 (E18-1) - SELECTAMATIC HYDRAULIC SYSTEM, TWIN LIVE TAKE-OFF VALVE UNITS OPTIONAL EQUIPMENT (07) - HYDRAULIC SYSTEM

Схема запчастей Case IH 996 - (E18-1) - SELECTAMATIC HYDRAULIC SYSTEM, TWIN LIVE TAKE-OFF VALVE UNITS OPTIONAL EQUIPMENT (07) - HYDRAULIC SYSTEM
40
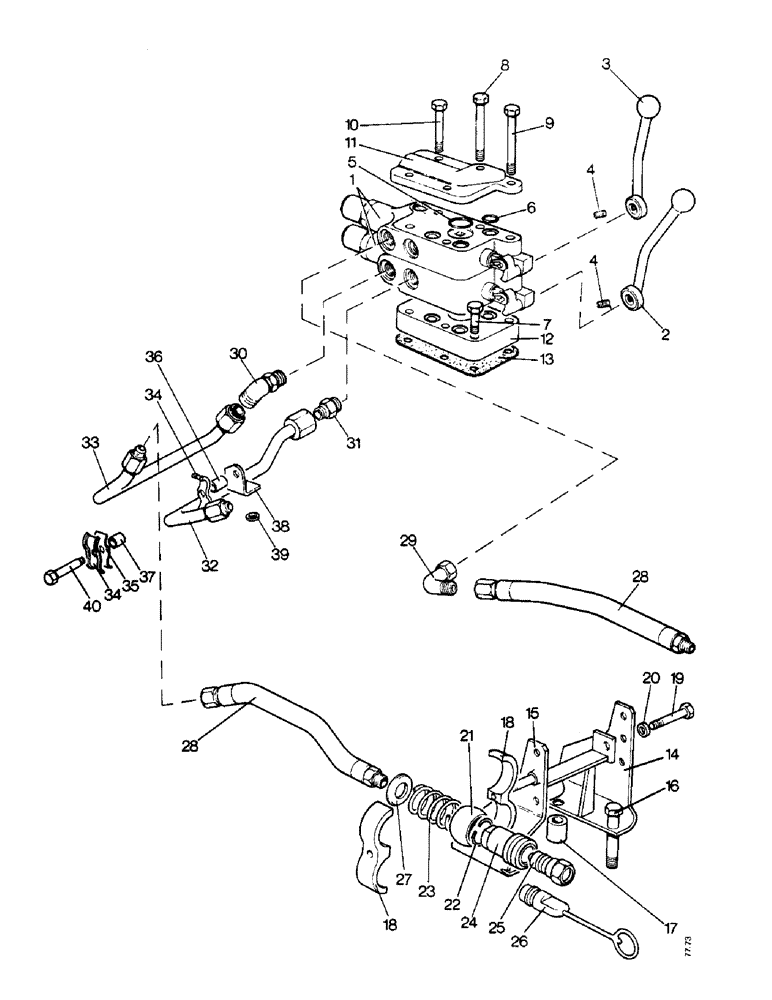
2
1
30
23
15
22
37
12
18
16
11
29
6
21
34
4
7
8
19
4
5
31
33
24
39
3
13
27
28
35
28
26
14
36
10
18
38
17
32
9
25
34
20
FIT
1:1
100%

Артикул

Название

Примечание

Количество

K918938

NO LONGER SERVICED

TWIN LIVE TAKE-OFF VALVE UNIT - U845

1шт.

K930229

NO LONGER SERVICED

PIPES AND COUPLINGS FOR TWIN VALVE - U1399

1шт.

1

K943825

VALVE

TAKE-OFF VALVE ASSEMBLY - See Figure E20-1

2шт.

2

K946382

LEVER

HAND LEVER - cranked

1шт.

3

K946383

LEVER

HAND LEVER - straight

1шт.

K622382

KEY

- Woodruff no. 403

2шт.

4

K606322

SCREW

GRUBSCREW - 5/16 UNC x 3/8 in.

2шт.

5

K623588

O-RING,2.69mm Thk x 29.97mm ID, 75 Duro

"O" RING - 13/16 in. internal dia.

2шт.

6

K24852

O-RING,0.103" Thk x 0.674" ID, -115, Cl 6, 90 Duro

"O" RING - 11/16 in. internal dia.

10шт.

7

K600510

BOLT

- 3/8 UNC x 2 in.

1шт.

8

K600513

BOLT

- 3/8 UNC x 6 in.

2шт.

9

K600514

BOLT

- 3/8 UNC x 6-1/4 in.

1шт.

10

K600512

BOLT

- 3/8 UNC x 4-1/2 in.

2шт.

K19482

SPRING WASHER

SPRING WASHER - 3/8 in.

6шт.

11

K919242

COVER

1шт.

12

K962085

BASE

PLATE

1шт.

13

K917387

GASKET

-, Serial Range: baseplate-axle

1шт.

14

K940752

MOUNTING PARTS

SUPPORT BRACKET - right-hand

1шт.

15

K940753

MOUNTING PARTS

SUPPORT BRACKET - left-hand

1шт.

16

K600896

BOLT

- 1/2 UNC x 3-1/2 in.

4шт.

K19474

HARDWARE

WASHER - 1/2 in.

1шт.

17

K627074

BUSHING

DISTANCE PIECE

2шт.

18

K924286

MOUNTING PARTS

MOUNTING FRAME

4шт.

19

K600703

BOLT

- 7/16 UNC x 3 in.

1шт.

20

K627056

BUSHING

DISTANCE PIECE

1шт.

K626344

WASHER, LOCK

SPRING WASHER - 7/16 in.

2шт.

280717

NUT,7/16"-14, G5

2шт.

21

K924284

RING

GIMBAL RING

4шт.

22

K924285

RING

RETAINING RING

4шт.

23

K625249

SPRING

4шт.

K921216

COUPLING, BREAK AWAY

QUICK-RELEASE COUPLING - Aeroquip, Includes: Ref. 24 & 25

4шт.

24

K929247

BREAKER POINTS

COUPLING - tractor half, Aeroquip

1шт.

25

K921982

BREAKER POINTS

COUPLING - implement half, Aeroquip

1шт.

26

K921217

PLUG

DUST COVER - quick release coupling, tractor half

4шт.

K965185

COVER

DUST COVER - quick release coupling, implement half

4шт.

27

K626794

WASHER

- special

4шт.

28

K924710

HOSE

FLEXIBLE PIPE - 1/2 BSP - 3/4 UNF x 16-1/4 in.

4шт.

29

K622114

FITTING

ELBOW - 3/4 UNF

2шт.

30

K622119

FITTING

ELBOW - 3/4 UNF - 7/8 UNF

1шт.

31

K626062

FITTING

ADAPTOR - 3/4 UNF - 7/8 UNF

1шт.

32

K943049

PIPE

- lower

1шт.

33

K943047

PIPE ASSY.

PIPE - upper

1шт.

34

K916899

BRACKET

CLAMP (Pipes to rear axle case)

2шт.

35

K940758

PACKING

(Pipes to rear axle case)

2шт.

36

K65701

BUSHING

DISTANCE PIECE - 1/2 in. (Pipes to rear axle case)

1шт.

37

K627026

BUSHING

DISTANCE PIECE - 1-1/8 in. (Pipes to rear axle case)

1шт.

38

K940759

SUPPORT

ANGLE BRACKET (Pipes to rear axle case)

1шт.

39

K627040

BUSHING

DISTANCE PIECE - 1/4 in. (Pipes to rear axle case)

1шт.

40

K600316

BOLT

- 5/16 UNC x 2-1/4 in. (Pipes to rear axle case)

1шт.

K19481

SPRING WASHER

SPRING WASHER - 5/16 in. (Pipes to rear axle case)

1шт.

9635082

NUT,5/16" - 18, Gr 5

- 5/16 UNC (Pipes to rear axle case)

1шт.

Выбрано товаров: 51