Запчасти Case IH 1206 (N-15) - PARTS ACCESSORIES AND ATTACHMENTS, EVAPORATOR Accessories & Attachments

Схема запчастей Case IH 1206 - (N-15) - PARTS ACCESSORIES AND ATTACHMENTS, EVAPORATOR Accessories & Attachments
16
26
10
1
23
22
13
4
20
8
15
9
19
27
17
11
2
25
21
10
5
7
22
23
18
3
6
14
12
24
11
FIT
1:1
100%

Артикул

Название

Примечание

Количество

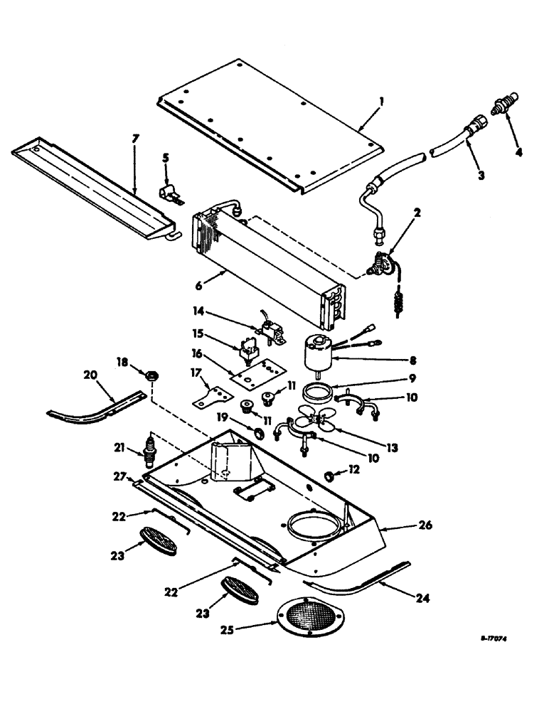
395419R91

EVAPORATOR ASSY, pre-charged unit

1шт.

1

399432R1

COVER, evaporator

1шт.

2

244562R1

VALVE, expansion

1шт.

3

399430R1

HOSE ASSY, evaporator

1шт.

4

399407R1

COUPLING, 3/8 male

1шт.

5

399415R1

CLAMP, expansion valve tube

1шт.

6

399431R1

CORE ASSY, evaporator

1шт.

7

399434R1

PAN, evaporator drip

1шт.

8

155483C91

MOTOR, evaporator fan

1шт.

9

155493C1

RING, motor front insulator

1шт.

10

399429R1

BRACKET, motor mount

2шт.

11

244565R1

KNOB, control

2шт.

12

112734

GROMMET, rubber 3/8" ID x 11/16" x .062"

7шт.

13

155708C91

FAN, evaporator

1шт.

14

398936R1

SWITCH, temperature control

1шт.

15

155494C91

IGNITION SWITCH

SWITCH & RESISTOR

1шт.

16

399409R1

PLATE, switch mounting

1шт.

17

399413R1

TRIM, panel

1шт.

18

399417R1

NUT, 7/8-14 brass hex-hd

1шт.

19

445798R1

GROMMET, rubber

1шт.

20

399425R1

TRIM, LH molding

1шт.

21

155722C91

COUPLING, 7/8-14 x 1-20

1шт.

22

155488C1

WIRE, retainer

2шт.

23

155725C91

DEFLECTOR, air

2шт.

24

399424R1

TRIM, RH molding

1шт.

25

399426R1

GUARD, evaporator fan

1шт.

26

399438R1

JACKET ASSY, evaporator

1шт.

27

399428R1

TRIM, strip

1шт.

399467R1

NUT, 1/4-20 nickel plated

4шт.

Выбрано товаров: 29