Запчасти Case IH 140 (13-4) - SUPERSTRUCTURE, RADIATOR GRILLE AND HOOD, FOR 140 SERIES TRACTORS (05) - SUPERSTRUCTURE

Схема запчастей Case IH 140 - (13-4) - SUPERSTRUCTURE, RADIATOR GRILLE AND HOOD, FOR 140 SERIES TRACTORS (05) - SUPERSTRUCTURE
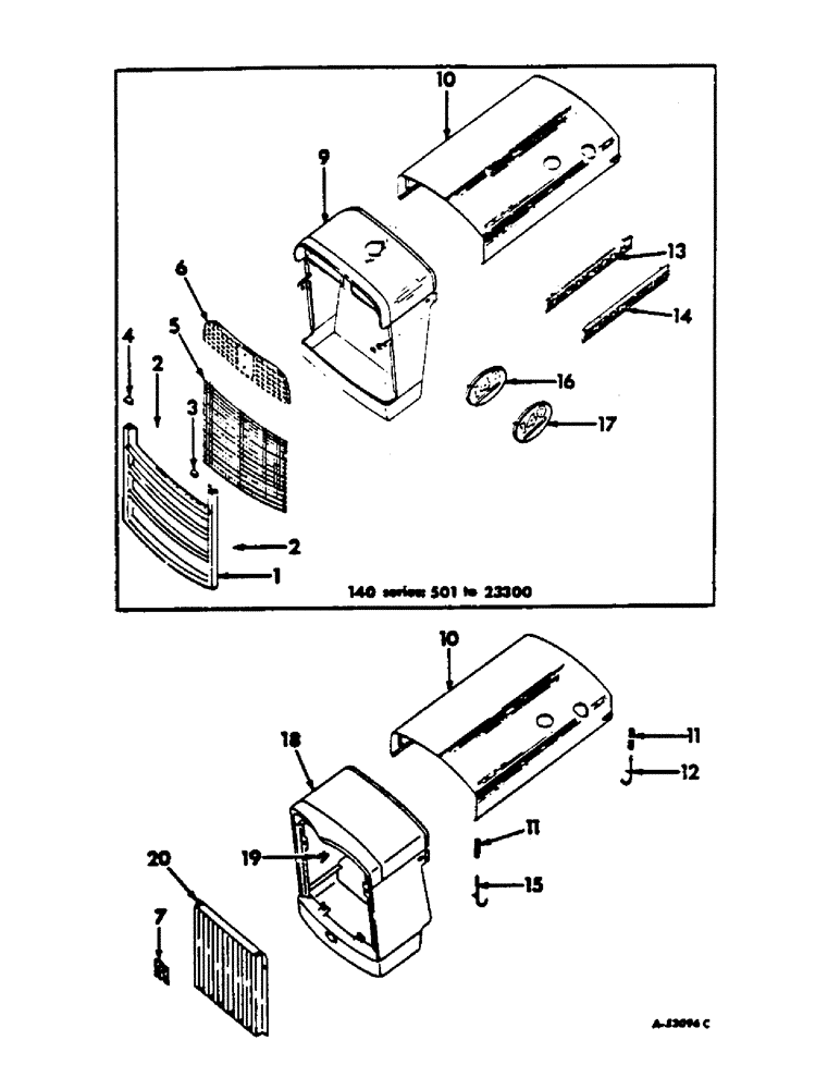
20
14
12
3
9
15
4
1
11
2
11
10
13
17
6
2
16
19
5
7
10
FIT
1:1
100%

Артикул

Название

Примечание

Количество

1

368850R11

GRILL ASSY, radiator

1шт.

369866R1

NUT

1/4 x quick release fastener

2шт.

372784R1

SCREW,Hex Wshr Hd, 1/4" - 20 x 3/4"

radiator grill

2шт.

2

368175R1

BUMPER

radiator grill flange

4шт.

3

370456R1

CAP, LH radiator grill

1шт.

9404121

SCREW, no. 4-40 x 1/4 slt-pan-hd tapping

1шт.

4

370457R1

CAP, RH radiator grill

1шт.

9404121

SCREW, no. 4-40 x 1/4 slt-pan-hd tapping

1шт.

5

368851R1

SCREEN, radiator grill

1шт.

6

368872R1

GRILL, hood

1шт.

369917R1

SCREW,Hex Wshr Hd, 1/4" - 20 x 5/8"

hood grill

3шт.

7

2751844R1

PRODUCT GRAPHIC

IH emblem, optional with 2751846R1

1шт.

155097

SCREW, 10-24 x 5/16 cr-rec-rd-hd mach

2шт.

7

2751846R1

EMBLEM CASE/IH

PRODUCT GRAPHIC, IH emblem, optional with 2751844R1

1шт.

385129R1

SCREW,Sl Rnd Hd, #10 - 16 x 3/8"

10-16 x 3/8 thd cutting

2шт.

8

369865R2

FASTENER

RECEPTACLE, quick release fastener

2шт.

134772

RIVET, 3/32 x 3/16 thd cutting

4шт.

9

372060R91

SUPPORT

W/TWO RECEPTACLES, 369865R2, radiator grill, order grill, 384916R11 and support, 384913R91

1шт.

10

368761R21

HOOD

W/SHIELD AND BRACKETS ASSY, gasoline

1шт.

10

371426R2

HOOD W/SHIELD AND BRACKETS ASSY, distillate

1шт.

11

48707DA

SPRING

hood clamp

4шт.

12

363668R91

CLAMP

CLMAP ASSY, LH rear hood

1шт.

12

363669R91

CLAMP

ASSY, RH rear hood

1шт.

103373

COTTER PIN,3/32" x 3/4"

Pin, Split (Cotter), 3/32" x 3/4"

2шт.

13

NSS

NOT SOLD SEPARAT

PRODUCT GRAPHIC, McCormick Farmall name, order product graphic, 369052R1

2шт.

370786R1

FASTENER

tubular clip

10шт.

14

369052R1

IDENTITY PLATE

PRODUCT GRAPHIC, International name plate

2шт.

370786R1

FASTENER

tubular clip

10шт.

15

58146D

CLAMP

ASSY, LH front hood

1шт.

15

58147D

CLAMP

ASSY, RH front hood

1шт.

103373

COTTER PIN,3/32" x 3/4"

Pin, Split (Cotter), 3/32" x 3/4"

2шт.

16

369084R1

PRODUCT GRAPHIC

140 model designation plate

2шт.

16

375539R1

PRODUCT GRAPHIC, 140 model designation plate, tractors painted yellow

2шт.

370786R1

FASTENER

tubular clip

4шт.

17

NSS

NOT SOLD SEPARAT

PRODUCT GRAPHIC, 140 hi-clear model designation plate, discontinued for service

2шт.

370786R1

FASTENER

tubular clip

4шт.

18

384913R91

SUPPORT

ASSY, radiator grill

1шт.

369222R1

BOLT,Hex Wshr Hd, 5/16" - 18 x 5/8"

SCREW, 5/16 x 5/8 hex-washer-hd cap

2шт.

181328

SCREW, 5/16-24 x 3/8 hex-hd cap

2шт.

19

376787R1

WASHER

RETAINER, support screw

2шт.

20

384916R11

GRILLE

GRILL ASSY, radiator

1шт.

381052R1

BOLT,Sl Hex Wshr Hd, 5/16" - 18 x 5/8"

SCREW, 5/16-18 x 5/8 slt hex-washer head cap

2шт.

Выбрано товаров: 42