Запчасти Case IH 1456 (01-03) - PARTS ACCESSORIES AND ATTACHMENTS, SLOW MOVING VEHICLE REFLECTOR MOUNTING BRACKET Accessories & Attachments / Miscellaneous

Схема запчастей Case IH 1456 - (01-03) - PARTS ACCESSORIES AND ATTACHMENTS, SLOW MOVING VEHICLE REFLECTOR MOUNTING BRACKET Accessories & Attachments / Miscellaneous
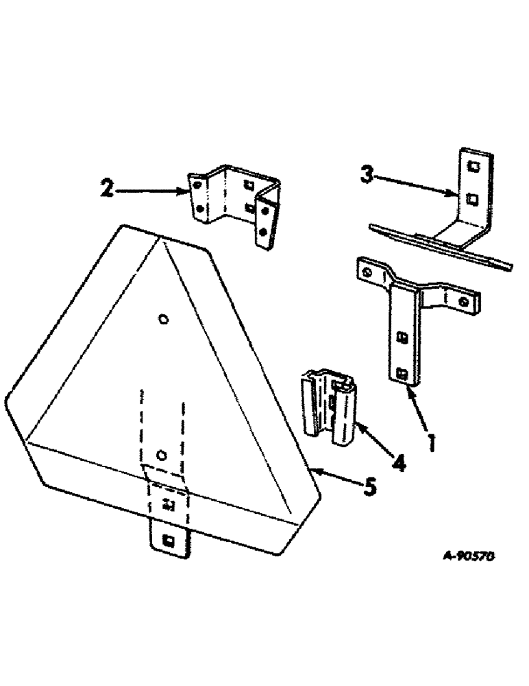
1
4
5
3
2
FIT
1:1
100%

Артикул

Название

Примечание

Количество

398972R91

PARTS ACCESSORY, slow moving vehicle emblem mounting bracket, for tractors equipped w/vertical acting seat, consists of ref. nos. 1 & 4

1шт.

401373R91

PARTS ACCESSORY, slow moving vehicle emblem mounting bracket, for tractors equipped w/hyd seat, consists of ref nos 2 and 4

1шт.

534761R91

PARTS ACCESSORY, slow moving vehicle emblem mounting bracket, for tractors with cab, consists of ref nos 2 and 4

1шт.

1

398973R1

BRACKET

ASSY, reflector mounting

1шт.

2

401375R1

SUPPORT, emblem mounting

1шт.

130141

SCREW,Sl Rnd Hd, #12 - 11 x 7/8"

12-11 x 7/8 C-Z rd-hd slt wood

4шт.

2

534767R1

SUPPORT, emblem mounting, for cab

1шт.

3

(Not used this application

1шт.

4

398976R1

BRACKET

SOCKET, slow moving vehicle emblem mtg

1шт.

19428R1

BOLT, 5/16-18 x 5/8 cd short sq-nk crg

2шт.

19296R1

NUT,5/16"-18, G5

5/16-18 C-Z hex.

2шт.

5

407218R1

PACKAGE

EMBLEM, slow moving vehicle, aluminum

1шт.

5

407220R1

PRODUCT GRAPHIC

EMBLEM, slow moving vehicle, steel

1шт.

Выбрано товаров: 0