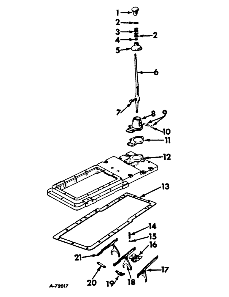
Запчасти Case IH 504 (155) - REAR FRAME AND DRIVING MECHANISMS, GEAR SHIFT MECHANISM AND REAR FRAME SPACER Rear Frame & Driving Mechanisms

Схема запчастей Case IH 504 - (155) - REAR FRAME AND DRIVING MECHANISMS, GEAR SHIFT MECHANISM AND REAR FRAME SPACER Rear Frame & Driving Mechanisms
7
3
6
13
5
15
11
14
16
18
8
9
2
19
1
10
4
20
12
17
2
21
FIT
1:1
100%

Артикул

Название

Примечание

Количество

1

53717DA

BUTTON

KNOB, gear shift lever

1шт.

2

557270R1

WASHER

29/32 x 1-1/4 x 11 ga, gear shift lever spring stop

2шт.

432-1220

COTTER PIN,3/16" x 1 1/4"

PIN, split (Cotter), 3/16" x 1-1/4"

1шт.

3

29547D

SPRING

gear shift lever

1шт.

4

375355R1

O-RING,0.869" ID x 0.66" Width

RING, gear shift lever sealing

1шт.

5

355889R3

SHIELD

gear shift swivel housing

1шт.

6

377876R91

LEVER ASSY, gear shift, Farmall tractors

1шт.

6

361669R92

LEVER

ASSY, gear shift, International tractors

1шт.

7

256918R11

DOWEL

SHAFT W/TWO PLUGS, 172529, gear shift swivel, large

1шт.

8

375357R92

HOUSING

ASSY, gear shift swivel

1шт.

NLS

NO LONGER SERVICED

5шт.

103321

LOCK WASHER,3/8"

WASHER, LOCK, 3/8"

5шт.

9

256919R11

HITCH PIN

SHAFT W/TWO PLUGS, 172529, gear shift swivel, small

1шт.

10

172529

PLUG

5/8 expansion

2шт.

11

361673R1

GASKET

gear shift swivel housing

1шт.

12

377059R11

SPACER ASSY, rear frame

1шт.

20975R1

DRAIN PLUG,Sq Soc, 1 1/4"-11 1/2, NTPF

PLUG, 1-1/4 sq-soc-hd pipe

1шт.

357124R1

DOWEL

PIN, rear frame spacer dowel

2шт.

179860

BOLT,Hex, 7/16" - 14 x 1 1/4", Gr 5

SCREW, 7/16-14 x 1-1/4 hex-hd cap, International tractors

3шт.

179862

BOLT,Hex, 7/16" - 14 x 1 1/2", Gr 5

SCREW, 7/16-14 x 1-1/2 hex-hd cap

4шт.

179866

BOLT,Hex, 7/16" - 14 x 2", Gr 5

8шт.

179868

BOLT,Hex, 7/16" - 14 x 2 1/2", Gr 5

SCREW, 7/16-14 x 2-1/2 hex-hd cap

2шт.

179889

BOLT,Hex, 1/2" - 13 x 2", Gr 5

SCREW, 1/2-13 x 2 hex-hd cap

3шт.

413-840

BOLT,Hex, 1/2" - 13 x 2-1/2", Gr 5

SCREW, 1/2-13 x 2-1/2 hex-hd cap

2шт.

13

360556R2

GASKET

rear frame cover

1шт.

14

41058DA

SPRING

shifter rail poppet

4шт.

15

D2616

BALL

1/2 grade 4 cr-stl, optional with 13722D

4шт.

15

13722D

BALL

1/2 grade 5 cr-stl, optional with D2616

4шт.

16

361663R91

GUIDE ASSY, shifter rail front

1шт.

59473DA

LOCK

shifter rail guide screw

4шт.

179837

BOLT,Hex, 3/8" - 16 x 3/4", Gr 5

2шт.

17

368891R11

FORK

W/RAIL, 1st & reverse speed shifter

1шт.

18

368892R11

FORK

W/RAIL, 2nd & 3rd speed shifter

1шт.

19

361666R91

GUIDE ASSY, shifter rail rear

1шт.

179837

BOLT,Hex, 3/8" - 16 x 3/4", Gr 5

2шт.

20

48391D

PLATE, shifter rail stop

1шт.

21

368893R11

RAIL ASSY.

FORK W/RAIL, 4th & 5th speed shifter

1шт.

Выбрано товаров: 37