Запчасти Case IH 504 (048) - FUEL SYSTEM, PRE-CLEANER, PRE-SCREENER (02) - FUEL SYSTEM

Схема запчастей Case IH 504 - (048) - FUEL SYSTEM, PRE-CLEANER, PRE-SCREENER (02) - FUEL SYSTEM
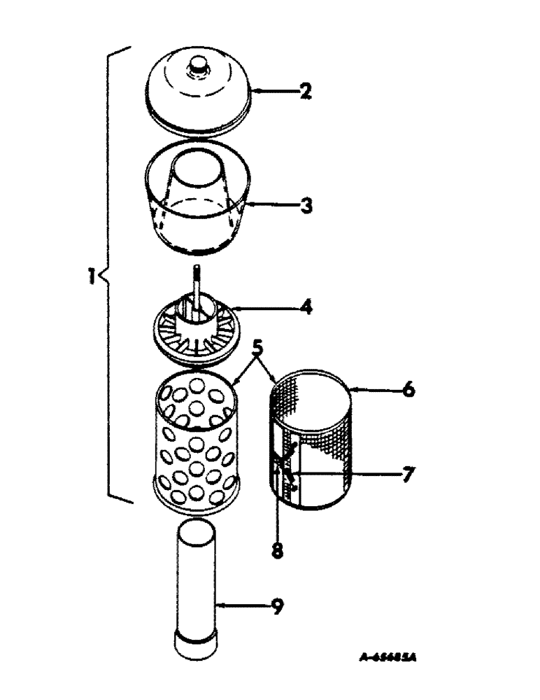
8
1
7
5
4
6
3
2
9
FIT
1:1
100%

Артикул

Название

Примечание

Количество

NSS

NOT SOLD SEPARAT

Service parts for Farmall tractors, consists of all unmarked parts and those marked unit A

1шт.

379667R91

ACCESSORIES

PARTS ACCESSORY, pre-cleaner pre-screener, International carbureted engine tractors, consists of all unmarked parts and those marked unit B

1шт.

379668R91

CLEANER ASSY.

PARTS ACCESSORY, pre-cleaner pre-screener, International diesel engine tractors, consists of all unmarked parts and those marked unit C

1шт.

1

379669R91

PRE-CLEANER, PRE-SCREENER ASSY, units A & B

1шт.

1

379670R91

CLEANER

PRE-CLEANER, PRE-SCREENER ASSY, unit C

1шт.

3

365413R1

BOWL

BODY, PRE-CLEANER

1шт.

2

365412R91

COVER

ASSY, pre-cleaner

1шт.

4

379672R91

SLEEVE ASSY, pre-cleaner, units A & B

1шт.

4

365414R91

SLEEVE

ASSY, pre-cleaner, unit C

1шт.

5

381603R91

PRE-SCREENER ASSY, units A & B

1шт.

5

381600R91

SCREEN

PRE-SCREENER ASSY, unit C

1шт.

115988

NUT, 10-24 sq

1шт.

132852

SCREW,Sl Rnd Hd, #10 - 24 x 1 1/4"

10-24 x 1-1/4 rd-hd mach

1шт.

6

378724R91

SCREEN

W/CLIP & TWO SPRINGS, pre-screener

1шт.

7

353639R1

VALVE SPRING

SPRING, screen lock tension

2шт.

8

353758R1

CLIP

screen lock tension spring

1шт.

9

379661R1

PIPE

EXTENSION, air pipe, unit B

1шт.

9

379671R1

EXTENSION, air pipe, unit C

1шт.

Выбрано товаров: 18