Запчасти Case IH 504 (050) - FUEL SYSTEM, FUEL TANK, SUPPORTS AND PIPING, FARMALL TRACTORS (02) - FUEL SYSTEM

Схема запчастей Case IH 504 - (050) - FUEL SYSTEM, FUEL TANK, SUPPORTS AND PIPING, FARMALL TRACTORS (02) - FUEL SYSTEM
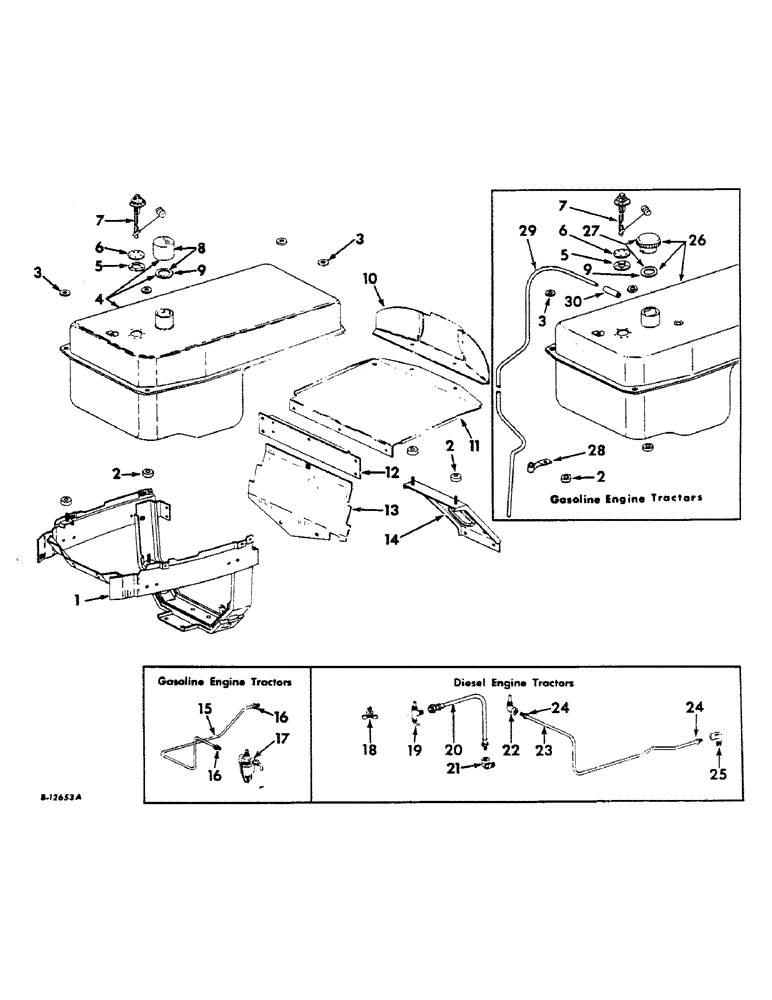
17
7
18
2
12
8
30
14
24
23
22
27
7
24
29
2
15
6
4
26
19
6
16
16
10
20
28
5
25
9
21
2
11
3
3
1
5
9
13
3
FIT
1:1
100%

Артикул

Название

Примечание

Количество

1

377649R91

SUPPORT ASSY, fuel tank and cowl rear

1шт.

17055R1

NUT, 3/8-24 elastic stop

2шт.

131-883

SPRING NUT,Rtnr, 5/16" - 18

5/16-18 floating cage

6шт.

179814

SPACER

4шт.

413-716

BOLT,Hex, 7/16" - 14 x 1", Gr 5

SCREW, 7/16-14 x 1 hex-hd cap

1шт.

380909R1

SPACER, support

1шт.

2

60671D

INSULATOR BLOCK

PAD, fuel tank insulating

4шт.

3

Q397

WASHER

11/32 x 3/4 x .16 ga, fuel tank insulating pad

2шт.

4

377645R91

TANK ASSY, fuel, all diesel engine tractors, gasoline engine tractors, Serial Range: -13399

1шт.

5

369154R1

GASKET

sending unit or cover

1шт.

6

369155R1

COVER, fuel gauge sending unit opening, tractor w/o fuel gauge

1шт.

1310675C1

CAPTIVE WASHER SCREW,Sl Truss Hd, #10 - 24 x 0.75"

SCREW, LOCK, , Sending unit opening cover Sltd Truss Hd, #10-24 x 3/4", w/nylon LW

5шт.

7

377104R91

SENDER UNIT

SENDING UNIT, electric fuel gauge

1шт.

1310675C1

CAPTIVE WASHER SCREW,Sl Truss Hd, #10 - 24 x 0.75"

SCREW, LOCK, , Sending unit Sltd Truss Hd, #10-24 x 3/4", w/nylon LW

5шт.

8

361910R91

PLUG

CAP ASSY, fuel tank filler, all diesel engine tractors, gasoline engine tractors, Serial Range: -13399

1шт.

9

23977DB

GASKET

fuel tank filler cap

1шт.

10

377658R2

SHIELD, upper heat

1шт.

11

382477R12

SHIELD ASSY, center heat

1шт.

12

377656R1

BRACKET, fuel tank and cowl front

1шт.

102635

NUT,3/8"-16, G5

4 used on diesel engine tractors 3/8"-16, G5

3шт.

179835

BOLT,Hex, 3/8" - 16 x 5/8", Gr 5, Full Thd

4 used on diesel engine tractors Hex, 3/8"-16 x 5/8", G5, Full Thd

3шт.

13

377659R11

SHIELD ASSY, lower heat

1шт.

102635

NUT,3/8"-16, G5

2шт.

179814

SPACER

1шт.

179837

BOLT,Hex, 3/8" - 16 x 3/4", Gr 5

2шт.

14

377655R11

SUPPORT ASSY, fuel tank front

1шт.

451113

NUT, 3/8-16 C-Z hex, lock

2шт.

15

378934R11

PIPE ASSY, fuel, Serial Range: strainer-carburetor

1шт.

16

19985R1

TUBE NUT,1/2"-20

NUT, fuel pipe

2шт.

17

369988R91

FILTER CARTRIDGE

STRAINER ASSY, fuel, for components see list of parts under details of fuel strainer

1шт.

18

118536

VALVE

COCK, drain

1шт.

19

319612R91

VALVE

ASSY, fuel pipe

1шт.

20

276732R91

HOSE ASSY.

HOSE ASSY, fuel, Serial Range: tank-filter

1шт.

21

371664R1

ELBOW, fuel line hose

1шт.

22

370676R93

90 ELBOW

ELBOW ASSY, fuel return pipe

1шт.

23

378543R11

PIPE ASSY, fuel return

1шт.

24

19984R1

TUBE NUT,7/16"-24

NUT, fuel return pipe

2шт.

25

30402D

ELBOW,90 Degree x 1/8" NPT x 7/16"-24

fuel return pipe

1шт.

26

389928R91

TANK ASSY, fuel, gasoline engine tractors, Start Serial: 13400

1шт.

27

389943R91

CAP

ASSY, fuel tank filler, gasoline engine tractors, Start Serial: 13400

1шт.

28

389937R1

CLIP, fuel vent pipe, gasoline engine tractors, Start Serial: 13400

1шт.

29

389934R1

PIPE, fuel vent, gasoline engine tractors, Start Serial: 13400

1шт.

30

389935R1

HOSE, fuel vent pipe, gasoline engine tractors, Start Serial: 13400

1шт.

Выбрано товаров: 43