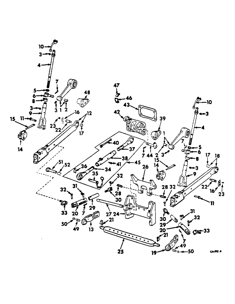
Запчасти Case IH 544 (K-06) - DRAWBARS AND HITCHES, THREE POINT HITCH, FARMALL TRACTORS Drawbars & Hitches

Схема запчастей Case IH 544 - (K-06) - DRAWBARS AND HITCHES, THREE POINT HITCH, FARMALL TRACTORS Drawbars & Hitches
10
7
6
7
16
36
3
14
46
13
25
21
9
14
26
47
44
32
4
17
3
9
8
16
22
29
48
38
39
37
2
10
21
52
28
8
40
32
19
49
6
1
1
11
32
43
31
50
23
49
7
7
3
34
41
23
5
28
20
35
7
3
31
24
50
29
2
15
11
3
30
33
51
30
22
20
45
17
15
42
32
27
4
3
18
5
33
12
FIT
1:1
100%

Артикул

Название

Примечание

Количество

NSS

NOT SOLD SEPARAT

ATTACHMENT, three point hitch, 389353R92, less ref. nos. 25, 39 and 48 thru 52, tractors equipped with draft control and w/o independent swinging drawbar

1шт.

1

389354R11

ARM ASSY, rockshaft

2шт.

2

383357R1

BUSHING,28.56mm ID x 33.38mm OD x 63.5mm L

rockshaft arm

2шт.

3

86504104

LUBE NIPPLE,1/4" x .56" lg, Drive

FITTING, 1/4 drive type str lub

6шт.

4

389542R11

SCREW

ASSY, leveling

2шт.

617057R1

PIN,1/4" x 1", Coiled

2шт.

5

382168R2

WASHER

pivot

2шт.

6

383990R2

PIVOT ASSY.

EYEBOLT, leveling screw pivot

2шт.

Q3482

WASHER

1-5/32 x 1-3/4 x 11 ga

2шт.

7

520175R1

CLIP

PIN, quick attachable cotter

5шт.

8

383982R1

COLLAR

COLLAR, vertical float lock

2шт.

113020

SET SCREW,Sq Hd, 5/8"-11 x 1"

SCREW, 5/8 x 1 cone-pt. sq-hd set

2шт.

9

538970R1

YOKE

leveling screw, on orders for 389538R1, furnish yoke, 538970R1 and pin, 538971R1

2шт.

10

523861R2

HANDLE

HANDLE, leveling screw

2шт.

617939R1

PIN,5/16" x 1 1/2", Coiled

2шт.

11

538971R1

PIN

7/8 x 3-5/8 leveling screw yoke, use w/yoke, 538970R1

2шт.

11

383991R1

PIN,Headed, 7/8" x 3 3/8", Drilled

5/8 x 3-5/8 leveling screw yoke, use w/yoke, 389538R1

2шт.

432-1620

COTTER PIN,1/4" x 1 1/4"

Pin, Split (Cotter), 1/4" x 1 1/4"

2шт.

651239R1

SPRING WASHER,23.02mm ID x 38.1mm OD x 6.35mm Thk

29/32 x 1-1/2 x 1/4

4шт.

12

398243R91

LINK w/bushing, 383361R1, front section lower LH

1шт.

13

380994R92

LINK

ASSY, LH rear section lower

1шт.

19903R1

PIN,1/2" x 1 3/4", Coiled

1шт.

14

380993R2

LATCH ASSY.

LATCH, lower link

2шт.

19955R1

PIN,1/4" x 1/2", Coiled

4шт.

15

392882R1

BAR

SPRING, lower link latch

4шт.

179812

GEAR

SCREW, 5/16-18 x 1-1/2 hex-hd cap

2шт.

103320

LOCK WASHER,5/16"

WASHER, LOCK, 5/16"

2шт.

16

406687R1

RETAINER

lower link pin

2шт.

413-818

BOLT,Hex, 1/2" - 13 x 1-1/8", Gr 5

SCREW, 1/2-13 x 1-1/8 hex-hd cap

2шт.

103323

LOCK WASHER,1/2"

WASHER, LOCK, 1/2"

2шт.

17

383361R1

BUSHING

front lower link ball

2шт.

18

398244R91

LINKAGE

LINK w/busing, 383361R1, front section lower RH

1шт.

19

380995R92

LINK

ASSY, RH rear section lower

1шт.

19903R1

PIN,1/2" x 1 3/4", Coiled

1шт.

20

400836R1

YOKE

CLEVIS, lateral limiter

2шт.

21

517758R91

SPLIT PIN/SAFETY PIN

PIN ASSY, drawbar

2шт.

22

406685R1

PIN,25.4mm OD x 101.6mm L

lowre link, on orders for 382194R3 furnish pin, 406685R1 and retainer, 406687R1

2шт.

23

219-8

LUBE NIPPLE,1/4" - 28 NPTF

NIPPLE, LUBE, , Straight 1/4"-28 NPT x .54" lg

2шт.

24

389360R1

SUPPORT

drawbar

1шт.

271560

PANEL,Hex, 5/8" - 11 x 1 3/4", Gr 5

5/8-11 x 1-3/4 hex-hd cap

6шт.

25

374150R1

DRAWBAR

cross

1шт.

26

389362R1

ARM

stabilizer control

1шт.

27

389363R1

ROD

SHAFT, stabilizer control arm

1шт.

17139R1

LOCK PIN,3/8" x 2 1/4", Slotted

PIN, 3/8" x 2 1/4", Slotted

2шт.

28

382390R1

BOLT (SPREADER),1 1/4" - 7 x 2.38"

EYEBOLT, stabilizer front

2шт.

29

400835R1

FITTING

PIPE, lateral limiter inner

2шт.

20126R1

PIN,1/2" x 2", Coiled

2шт.

30

389369R1

CRADLE

YOKE, lateral limiter

2шт.

31

389370R11

PIN

ASSY, lockout

2шт.

32

384852R1

AXLE PIN

PIN, stabilizer

4шт.

108638

COTTER PIN,3/16" x 1 1/8"

Pin, Split (Cotter), 3/16" x 1 1/8"

4шт.

33

389371R1

BOLT,3/4" - 16 x 1.62", Drilled

EYEBOLT, stabilizer rear

2шт.

427639

SLOTTED NUT,3/4"-16, G5

NUT, 3/4-16 slt hex.

2шт.

32-822

COTTER PIN,1/8" x 1 3/8"

PIN - split (Cotter), 1/8" x 1 3/8"

2шт.

34

384848R11

LINK

SCREW ASSY, LH thread, optional with 386048R91

1шт.

34

386048R91

LINK

SCREW ASSY, LH thread, optional with 384848R11

1шт.

35

380563R91

PIN

ASSEMBLY, upper link implement

1шт.

36

517758R91

SPLIT PIN/SAFETY PIN

PIN, implement pin retaining

1шт.

37

384849R11

LINK

SCREW ASSY, RH thread, optional with 386049R91

1шт.

37

386049R91

LINK

SCREW ASSY, RH thread, optional with 384849R11

1шт.

19791R1

PIN,1/4" x 1 1/8", Coiled

2шт.

38

400908R1

TURNBUCKLE

ASSY, upper link

1шт.

39

389095R1

BRACKET, lower link lockout RH

1шт.

271562

SHIELD,Hex, 5/8" - 11 x 2", Gr 5

SCREW, 5/8-11 x 2 hex-hd cap

3шт.

40

392204R1

HANDLE

upper link turnbuckle

1шт.

41

SB191

HEADED PIN,3/8" x 1 3/4"

PIN, 3/8 x 1-3/8 headed

1шт.

107763

COTTER PIN,1/8" x 5/8"

PIN, SPLIT (COTTER), 1/8" x 5/8"

1шт.

42

389372R21

BRACKET

ASSEMBLY, upper link

1шт.

20024R1

PIN

3/8 x 1 dowel

1шт.

271562

SHIELD,Hex, 5/8" - 11 x 2", Gr 5

SCREW, 5/8-11 x 2 hex-hd cap

6шт.

43

388144R1

GASKET

draft control adj opening cover

1шт.

44

382210R11

PIN

ASSY, upper link bracket

1шт.

45

400907R92

LINK

ASSY, upper

1шт.

46

378403R1

ELECTRICAL WIRE

BRACKET, upper link storage

1шт.

47

378404R1

FASTENER

CLIP, upper link storage bracket

1шт.

179837

BOLT,Hex, 3/8" - 16 x 3/4", Gr 5

1шт.

48

389094R1

BRACKET, lower link lockout LH

1шт.

271562

SHIELD,Hex, 5/8" - 11 x 2", Gr 5

SCREW, 5/8-11 x 2 hex-hd cap

3шт.

359259R1

BOLT,Hex, 5/8" - 11 x 2"

SCREW, 5/8-11 x 2 hex-hd cap

2шт.

49

380583R1

BUSHING

lower link category #1 short

2шт.

49

380584R1

BUSHING

lower link category #1 long

2шт.

50

11484R

BUSHING

SPACER, lower link long bushing

2шт.

51

380580R91

PIN

ASSY, upper link implement

1шт.

52

380581R1

BUSHING

upper link category #1 short

1шт.

52

380582R1

BUSHING

upper link category #1 long

1шт.

404787R1

SHIELD

linch pin, shipped w/tractor in tool box

2шт.

389097R91

PARTS ACCESSORY, three point hitch cross drawbar, consists of (1) bracket 389094R1, (1) bracket 389095R1, (1) drawbar 374150R1, (6) scrwe 271562

1шт.

380579R91

BUSHING

PARTS ACCESSORY, bushing & pin adapter, for use w/category I implements when mounting on category ii hitch, consists of (1) bushing 380581R1, (1) bushing 380582R1, (2) bushing 380583R1, (2) bushing 380584R1, (1) pin 380580R91, (2) spacer 11484R

1шт.

Выбрано товаров: 88