Запчасти Case IH 656 (F-28) - HYDRAULICS, HYDRAULIC DRAFT CONTROL, FARMALL TRACTORS WITH SERIAL NO. 44855 AND ABOVE (07) - HYDRAULIC SYSTEM

Схема запчастей Case IH 656 - (F-28) - HYDRAULICS, HYDRAULIC DRAFT CONTROL, FARMALL TRACTORS WITH SERIAL NO. 44855 AND ABOVE (07) - HYDRAULIC SYSTEM
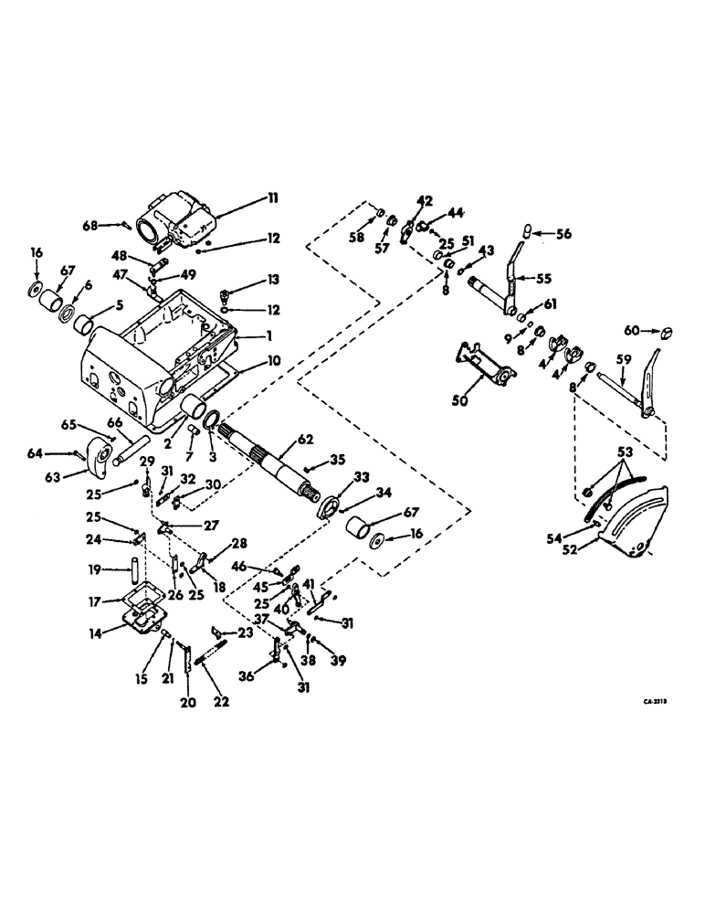
25
31
68
24
48
39
12
63
20
8
67
25
60
49
10
11
1
17
57
16
53
32
7
4
13
46
29
64
41
45
52
51
21
18
25
55
27
37
31
66
9
62
36
31
6
61
43
19
35
22
15
3
14
40
42
67
59
33
16
25
38
5
25
8
56
47
4
28
44
65
50
30
23
54
26
58
2
12
8
34
FIT
1:1
100%

Артикул

Название

Примечание

Количество

393473R91

PARTS ACCESSORY, hydraulic draft control, gear drive tractors

1шт.

1

532508R91

HOUSING ASSY, hyd draft control lift, composed of (1) bearing 376009R1, (1) bushing 376010R1, (1) bushing 537118R1, (1) housing 532510R1 (NSS), (1) retainer 376015R1, (1) tube 376007R1 (NSS)

1шт.

172557

PLUG

1-3/16 expansion

1шт.

2

376009R1

BEARING LINER,2.32" ID x 2.438" OD x 2.6"

rockshaft RH

1шт.

3

376020R91

OIL SEAL

SEAL, rockshaft RH oil

1шт.

4

532521R1

SUPPORT

position control bearing

2шт.

192009

NUT, 5/16-24 sq

2шт.

181340

BOLT,Hex, 5/16" - 24 x 1 1/8", Gr 5

SCREW, 5/16-24 x 1-1/8 hex-hd cap

2шт.

532409R1

SPRING WASHER

safety spring

2шт.

5

537118R1

BUSHING

rockshaft LH

1шт.

6

376019R91

PACKING RING

SEAL, rockshaft LH oil

1шт.

7

376010R1

BUSHING

eccentric shaft

1шт.

8

532395R1

BUSHING,19.07mm ID x 20.63mm OD x 16.64mm L

BEARING, control shaft

3шт.

9

379365R1

O-RING,0.07" Thk x 0.364" ID, -12, Cl 6, 90 Duro

3/8 x 1/2 x 1/16, draft sensitivity control shaft

1шт.

10

375577R1

GASKET

hyd lift housing lower

1шт.

11

CYLINDER & VALVE ASSY, draft control, for components see list of parts under details of draft control cylinder & valve

1шт.

179840

BOLT,Hex, 3/8" - 16 x 1 1/8", Gr 5

SCREW, 3/8-16 x 1-1/8 hex-hd cap

2шт.

413-828

BOLT,Hex, 1/2" - 13 x 1-3/4", Gr 5

SCREW, 1/2-13 x 1-3/4 hex-hd cap

1шт.

179894

BOLT,Hex, 1/2" - 13 x 3 1/4", Gr 5

1шт.

179895

BOLT,Hex, 1/2" - 13 x 3 1/2", Gr 5

SCREW, 1/2-13 x 3-1/2 hex-hd cap

1шт.

103321

LOCK WASHER,3/8"

WASHER, LOCK, 3/8"

2шт.

103323

LOCK WASHER,1/2"

WASHER, LOCK, 1/2"

2шт.

395-11053

WASHER,0.53" ID x 1.06" OD x 0.1" Thk

17/32 x 1-1/16 x .074

1шт.

12

380839R1

O-RING,0.103" Thk x 0.862" ID, -118, Cl 6, 90 Duro

7/8 x 1-1/16 x 3/32

3шт.

13

389594R91

VALVE

ASSY, poppet relief

1шт.

14

389608R11

HOUSING ASSY, draft sensing pickup arm

1шт.

179817

BOLT,Hex, 5/16" - 18 x 7/8", Gr 5, Full Thd

8шт.

103320

LOCK WASHER,5/16"

WASHER, LOCK, 5/16"

8шт.

15

389609R1

BUSHING, draft sensing pickup arm

1шт.

16

M22352

WASHER, rockshaft arm retainer

2шт.

271557

DEFLECTOR,Hex, 5/8" - 11 x 1 3/8", Gr 5

SCREW, 5/8-11 x 1-3/8 hex-hd cap

2шт.

103325

LOCK WASHER,5/8"

WASHER, LOCK, 5/8"

2шт.

17

376983R1

GASKET

unit housing cover

1шт.

18

389610R2

BRACKET

eccentric

1шт.

179839

BOLT,Hex, 3/8" - 16 x 1", Gr 5

2шт.

103321

LOCK WASHER,3/8"

WASHER, LOCK, 3/8"

2шт.

19

389611R1

PIPE, oil overflow

1шт.

20

389612R11

ARM

ASSY, draft sensing pickup

1шт.

21

359158R1

O-RING,0.301" ID x 0.07" Width

-011, 70 Duro, .031" ID x .070" Thk, Draft sensing pickup arm

1шт.

22

394240R2

SPRING

draft contrl operating

1шт.

23

390802R1

ANCHOR, draft control operating spring

1шт.

24

389616R11

LEVER ASSY, draft sensing pickup arm

1шт.

25

110668R1

CIRCLIP,#37, .300" Dia, E-Type

Ring, Retaining, #37, .300" Dia, E-Type

6шт.

26

389618R1

BAR

eccentric to draft sensing pickup link

1шт.

27

389619R11

BAR

PLATE ASSY, draft sensing eccentric

1шт.

28

204502R1

SNAP RING,#43, Ext

Eccentric shaft #43, Ext

1шт.

29

389620R21

LEVER

ASSY, draft control trigger

1шт.

30

389622R11

LEVER

ASSY, draft sensitivity control

1шт.

19313R1

PIN,5/32" x 7/8", Coiled

1шт.

31

104977R1

SNAP RING,#X31, .243" Dia, E-Type

RING, RETAINING, , Link to lever #X31, .243" Dia, E-Type

5шт.

32

389621R1

BAR, Serial Range: trigger-quadrant

1шт.

33

376031R11

HUB

ASSY, rockshaft actuating

1шт.

34

377792R1

SET SCREW

SCREW, rockskaft hub set

1шт.

35

376057R1

BUCKET TOOTH KEY

KEY, rockshaft actuating hub

1шт.

36

376033R1

BRACKET

LINK, position control control walking

1шт.

37

389623R91

ECCENTRIC

ASSY, position control

1шт.

38

355967R1

O-RING,0.364" ID x 0.003" Width

3/8 x 1/2 x 1/16, eccentric shaft

1шт.

39

971043R1

SNAP RING,#50, Ext

Eccentric shaft #50, Ext

1шт.

40

376038R11

BEAM

ASSY, walking follow-up

1шт.

41

376042R2

SUPPORT

LINK, walking, Serial Range: beam-quadrant

1шт.

42

376043R21

LEVER

ASSY, slow motion actuating

1шт.

114501

JAM NUT,Jam, 1/4"-20, G5

1шт.

102435

PIVOT

SCREW, 1/4-20 x 1-1/4 sq-hd ov-pt set

1шт.

43

383024R1

O-RING,0.07" Thk x 0.676" ID, -17, Cl 6, 90 Duro

11/16 x 13/16 x 1/16, for position control handle, 532513R1

1шт.

43

350429R1

O-RING,0.103" Thk x 0.612" ID, -114, Cl 5, 75 Duro

5/8 x 13/16 x 3/32, for position control handle, 538987R1

1шт.

44

376044R11

ARM

ASSY, draft retarding

1шт.

45

376984R1

SUPPORT

LINK, walking, Serial Range: beam-valve

1шт.

46

376041R1

SCREW,Shldr, Hex, 1/4" - 20 x 0.70", W/ Nylon Pellet

Shoulder

1шт.

47

391244R11

LEVER

ASSY, hydraulic switch

1шт.

48

402448R1

BAR

ASSY, hydraulic switch, draft sensing

1шт.

103384

COTTER PIN,1/8" x 3/4"

Pin, Split (Cotter), 1/8" x 3/4"

1шт.

95-11041

WASHER,3/8"

(13/32 x 13/16 x .051) 3/8"

1шт.

49

390824R1

SPRING

hyd switch return

1шт.

50

532512R1

SUPPORT

quadrant

1шт.

179840

BOLT,Hex, 3/8" - 16 x 1 1/8", Gr 5

SCREW, 3/8-16 x 1-1/8 hex-hd cap

3шт.

103321

LOCK WASHER,3/8"

WASHER, LOCK, 3/8"

3шт.

51

532520R1

SPACER

position control lever

1шт.

52

376985R2

SECTOR

QUADRANT, control

1шт.

532518R1

SPACER, quadrant

3шт.

179807

SCREW,Hex, 1/4" - 20 x 2 1/2"

1/4-20 x 2-1/2 hex-hd cap

3шт.

53

378619R11

GUIDE

ASSY, touch control handle

1шт.

88542

BOLT,Hex, 1/4"-20 x 1/2", Gr 5

SCREW, 1/4-20 x 1/2 hex-hd cap

2шт.

492-11025

LOCK WASHER,1/4"

WASHER, LOCK, 1/4"

2шт.

54

378620R1

STOP

quadrant lever

1шт.

144417H

NUT,1/4"-28, GB

1/4-28 ESNA stop

1шт.

120392

WASHER,1/4", SAE

9/32 x 5/8 x .065 C-Z

1шт.

55

538987R1

HANDLE

ASSY, position control, also order o-ring, 350429R1, replaces 532513R1

1шт.

56

382801R1

BALL

KNOB, position control handle

1шт.

57

863138R91

PLASTIC RING

BEARING, sensitivity shaft

1шт.

58

532406R1

WASHER

SPACER, sensitivity lever

1шт.

59

532516R1

HANDLE

ASSY, draft sensitivity control

1шт.

60

382805R1

KNOB

draft sensitivity control handle

1шт.

61

532408R1

PLASTIC RING

BEARING, sensitivity control shaft

1шт.

62

389971R1

ROCKSHAFT, hyd draft control

1шт.

63

389628R1

LEVER

rockshaft bellcrank

1шт.

64

389280R1

PIN

bellcrank connecting rod

1шт.

103384

COTTER PIN,1/8" x 3/4"

Pin, Split (Cotter), 1/8" x 3/4"

1шт.

16558R1

WASHER

17/64 x 5/8 x .049

1шт.

65

376069R1

SET SCREW

SCREW, rockshaft bellcrank set

1шт.

66

389629R1

ROD, hyd draft control piston

1шт.

67

389972R1

SHIELD

rockshaft spline

2шт.

68

130368H

PIN

1/4 x 1-11/16 rod end

1шт.

103361

PIN, SPLIT (COTTER)

PIN, 1/16 x 1/2 cot.

1шт.

16558R1

WASHER

17/64 x 5/8 x 18 ga

1шт.

Выбрано товаров: 104