Запчасти Case IH 656 (F-42) - HYDRAULICS, AUXILIARY HYDRAULIC VALVES AND TUBES, FARMALL TRACTORS WITH SERIAL NO. 41972 TO 46202 (07) - HYDRAULIC SYSTEM

Схема запчастей Case IH 656 - (F-42) - HYDRAULICS, AUXILIARY HYDRAULIC VALVES AND TUBES, FARMALL TRACTORS WITH SERIAL NO. 41972 TO 46202 (07) - HYDRAULIC SYSTEM
24
7
16
21
18
10
9
14
6
1
3
24
24
3
24
18
19
12
3
24
24
4
3
11
21
5
20
20
11
24
24
19
6
22
8
15
19
23
2
18
21
9
5
17
24
20
13
18
24
10
4
8
19
FIT
1:1
100%

Артикул

Название

Примечание

Количество

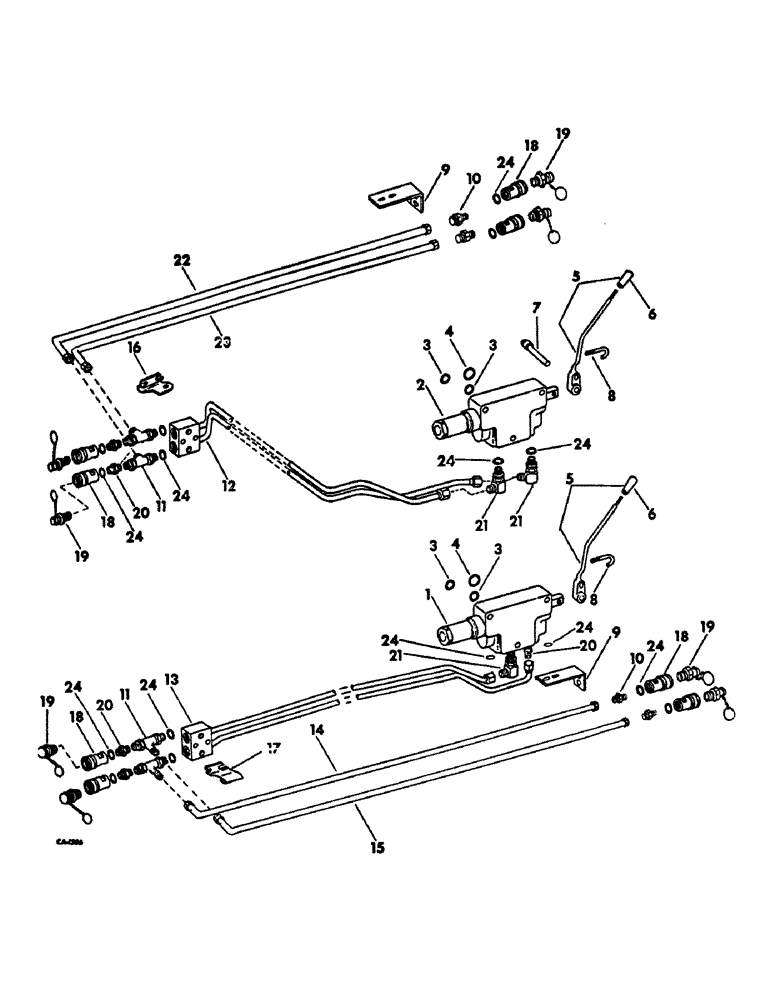
Service parts for single auxiliary valve with LH rear manifold, consists of all unmarked parts and those marked unit A

1шт.

389700R92

SET OF PARTS

PARTS ACCESSORY, second auxiliary valve w/RH rear manifold, for tractors equipped w/single auxiliary valve w/LH rear manifold or LH front and rear manifolds, consists of all unmarked parts, and those marked unit B

1шт.

Service parts for auxiliary manifold w/RH front outlet, for tractors w/RH rear manifold, consists of all unmarked parts, and those marked unit C

1шт.

Service parts for auxiliary manifold w/LH front outlet, for tractors w/LH rear manifold, consists of all unmarked parts, and those marked unit D

1шт.

Service parts for double auxiliary valve with LH front, LH rear, RH front & RH rear manifolds tubes, consists of all parts marked unit E

1шт.

Service parts for double auxiliary valve with LH rear & RH rear manifold tubes, consists of all parts marked unit F

1шт.

1

383267R94

VALVE

ASSY, hydraulic control, innter position, units B, E and F, for components see list of parts under details of hydraulic control valve

1шт.

20846R1

BOLT,Hex, 3/8" - 16 x 4 5/8", Gr 8

SCREW, 3/8-16 x 4-5/8 hex-hd cap

3шт.

2

390826R94

VALVE

ASSY, hydraulic control, outer position, units A, E and F, for components see list of parts under details of hydraulic control valve

1шт.

631994R1

BOLT,Hex, 3/8" - 16 x 2 1/2", Gr 8

SCREW, 3/8-16 x 2-1/2 hex-hd cap, 3 for unit A

1шт.

3

381884R1

O-RING,0.103" Thk x 0.987" ID, -120, Cl 6, 90 Duro

1 x 1-3/16 x 3/32, 2 for units A & B, 4 for units E and F

1шт.

4

381885R1

O-RING,0.103" Thk x 1.362" ID, -126, Cl 6, 90 Duro

1-3/8 x 1-3/16 x 3/32, units A and B, 2 for units E & F

1шт.

5

391182R11

LEVER

ASSY, hyd open center valve actuating, units A and B, 2 for units E & F

1шт.

33558V

CLEVIS PIN,1/2" x 1.906"

PIN, 1/2 x 1-29/32 rod end

1шт.

108630

COTTER PIN,1/8" x 7/8"

Pin, Split (Cotter), 1/8" x 7/8"

1шт.

395-11053

WASHER,0.53" ID x 1.06" OD x 0.1" Thk

17/32 x 1-1/16 x .095

1шт.

6

388634R1

GRIP

lever handle, units A and B, 2 for units E & F

1шт.

7

378045R1

STUD

SHAFT, open center valve actuating, unit A

1шт.

8

390013R1

SCREW

ROD, valve float lockout, units A and B, 2 for units E & F

1шт.

114502

JAM NUT,Jam, 5/16"-18, G5

1шт.

9

530187R1

BRACKET, front tube support, units C and D, 2 for unit E

1шт.

19576R1

BOLT,Short NK, 5/16"-18 x 7/8", G2, Full Thd

5/16-18 x 7/8 znd sq-nk crg

2шт.

120376

NUT,5/16"-18, G5

2шт.

80681

LOCK WASHER,5/16"

WASHER, LOCK, 5/16"

2шт.

120393

BEARING WASHER,5/16", SAE

WASHER, 11/32 x 11/16 x .051 znd

2шт.

10

9403256

FITTING,Blkhd, 7/8"-14, 37 Degree x 7/8"-14, 37 Degree

UNION, 7/8-14 37 deg hyd flared bulkhead, 2 for units C & D, 4 for unit E

1шт.

9403295

BHD LOCK NUT,Blkhd, 7/8"-14

NUT, 7/8-14 bulkhead union lock

2шт.

11

399072R1

TEE

7/8-14 37 deg hyd flared tube, units C, D & E w/o check valve

2шт.

11

9410978

ELBOW,90 Degree, 7/8"-14, 37 Degree x 7/8"-14, O-Ring

7/8-14 C-Z 37 deg hyd flared tube adj str-thd 90 deg hyd flared tube adj str-thd 90 deg, units C and D w/check valve

2шт.

12

530197R1

MANIFOLD

ASSY, LH rear to first valve, units A and F

1шт.

369751R1

O-RING,0.072" Thk x 0.351" ID, -904, Cl 6, 90 Duro

4-1, 90 Duro, .351" ID x .072" Thk, Junction block plug

2шт.

9410356

PLUG

junction block

2шт.

13

389721R91

MANIFOLD

ASSY, RH rear to second valve, units B, E and F

1шт.

369751R1

O-RING,0.072" Thk x 0.351" ID, -904, Cl 6, 90 Duro

4-1, 90 Duro, .351" ID x .072" Thk, Junction block plug

2шт.

9410356

PLUG

junction block

2шт.

14

530189R1

TUBE ASSY, RH front manifold upper, units C and E

1шт.

15

530188R1

TUBE ASSY, RH front manifold lower, units C and E

1шт.

16

389716R1

SUPPORT

BRACKET, LH rear manifold junction block, units A, E and F

1шт.

103026

NUT,3/8"-24, G5

2шт.

181380

BOLT,Hex, 3/8" - 24 x 2 1/4", Gr 5

SCREW, 3/8-24 x 2-1/4 hex-hd cap

2шт.

95-11041

WASHER,3/8"

(13/32 x 13/16 x .051) 3/8"

2шт.

17

389717R1

SUPPORT

BRACKET, RH rear manifold junction, units B, E and F

1шт.

103026

NUT,3/8"-24, G5

3/8-24 x 2-1/4 hex-hd cap

2шт.

181380

BOLT,Hex, 3/8" - 24 x 2 1/4", Gr 5

SCREW, 3/8-24 x 2-1/4 hex-hd cap

2шт.

95-11041

WASHER,3/8"

(13/32 x 13/16 x .051) 3/8"

2шт.

18

395150R91

COUPLING, QUICK, FEM

COUPLING ASSY, hydraulic self-sealing, 2 for units A, B, C & D, 8 for unit E, 4 for unit F

1шт.

19

401757R11

PLUG

ASSY, coupling dust, one per coupling

1шт.

401758R1

WASHER,14.48mm ID x 38.1mm OD x 3.05mm Thk

coupling dust plug

1шт.

20

9410204

HYD CONNECTOR,7/8"-14, 37 Degree x 7/8"-14, O-Ring

UNION, 7/8-14 C-Z deg hyd flared tube short swivel, 2 used unit A, 3 used unit B, 1 used unit E, 5 used unit F

1шт.

21

9410978

ELBOW,90 Degree, 7/8"-14, 37 Degree x 7/8"-14, O-Ring

7/8-14 C-Z 37 deg hyd flared tube adj str thd 90 deg, 2 used unit A, 1 used unit B, 3 used units E and F

1шт.

22

530190R1

TUBE ASSY, LH front manifold upper, units D and E

1шт.

23

530191R1

TUBE ASSY, LH front manifold lower, units D and E

1шт.

24

364885R1

O-RING,0.097" Thk x 0.755" ID, -910, Cl 6, 90 Duro

3/4 x 15/16 x 3/32, 6 for units A, B, C & D, 12 for unit E, 16 for unit F

1шт.

25

399072R1

TEE

7/8-14 37 deg hyd flared tube, 2 for units C, D and E

1шт.

Выбрано товаров: 54