Запчасти Case IH 656 (F-44) - HYDRAULICS, AUXILIARY HYDRAULIC VALVES AND TUBES, FARMALL TRACTORS SERIAL NO. 46203 AND ABOVE (07) - HYDRAULIC SYSTEM

Схема запчастей Case IH 656 - (F-44) - HYDRAULICS, AUXILIARY HYDRAULIC VALVES AND TUBES, FARMALL TRACTORS SERIAL NO. 46203 AND ABOVE (07) - HYDRAULIC SYSTEM
13
24
36
21
21
23
24
7
24
24
10
26
10
14
20
34
31
6
12
24
24
16
25
33
21
21
25
36
4
38
11
4
21
24
27
10
21
37
18
35
24
24
24
21
29
11
22
6
24
21
21
9
24
24
35
21
5
33
13
8
21
12
18
21
19
3
15
17
9
11
24
3
11
24
14
20
24
3
30
21
24
15
21
21
34
31
2
32
19
24
5
1
12
30
19
24
40
18
21
10
12
21
19
24
24
28
21
39
21
20
24
27
3
32
13
40
21
8
21
FIT
1:1
100%

Артикул

Название

Примечание

Количество

Service parts for single auxiliary valve w/LH rear manifold and lever actuated coupler, consists of all parts marked unit A

1шт.

Service parts for single auxiliary valve w/LH rear manifold, check valve and lever actuated coupler, consists of all parts marked unit B

1шт.

Service parts for double auxiliary valve w/LH and RH rear manifolds and lever actuated couplers, consists of all parts marked unit C

1шт.

Service parts for double auxiliary valve w/LH and RH rear manifolds, check valve and lever actuated couplers, consists of all parts marked unit D

1шт.

Service parts for double auxiliary valve w/LH and RH front manifolds, LH and RH rear manifolds and lever actuated couplers, consists of all parts marked unit E

1шт.

Service parts for double auxiliary valve w/LH and RH front manifolds, LH and RH rear manifolds, check valve and lever actuated couplers, consists of all parts marked unit F

1шт.

536761R91

KIT

PARTS ACCESSORY, second auxiliary valve with RH rear manifold and lever actuated coupler, for tractors equipped with single auxiliary valve and LH rear or LH front and rear manifolds, consists of all parts marked unit G

1шт.

536762R91

PARTS ACCESSORY, auxiliary manifold w/RH front outlet, for tractors with RH rear manifold, consists of all parts marked unit H

1шт.

536763R91

PARTS ACCESSORY, auxiliary manifold w/LH front outlet, for tractors with LH rear manifold, consists of all parts marked unit J

1шт.

536764R91

PARTS ACCESSORY, LH rear lever actuated coupler, for tractors with LH rear manifold, consists of all parts marked unit K

1шт.

536765R91

PARTS ACCESSORY, RH rear lever actuated coupler, for tractors with RH rear manifold, consists of all parts marked unit L

1шт.

536766R91

PARTS ACCESSORY, LH rear lever actuated coupler, for tractors with LH rear manifold and check valve, consists of all parts marked unit M

1шт.

536767R91

PARTS ACCESSORY, RH rear lever actuated coupler, for tractors with RH rear manifold and check valve, consists of all parts marked unit N

1шт.

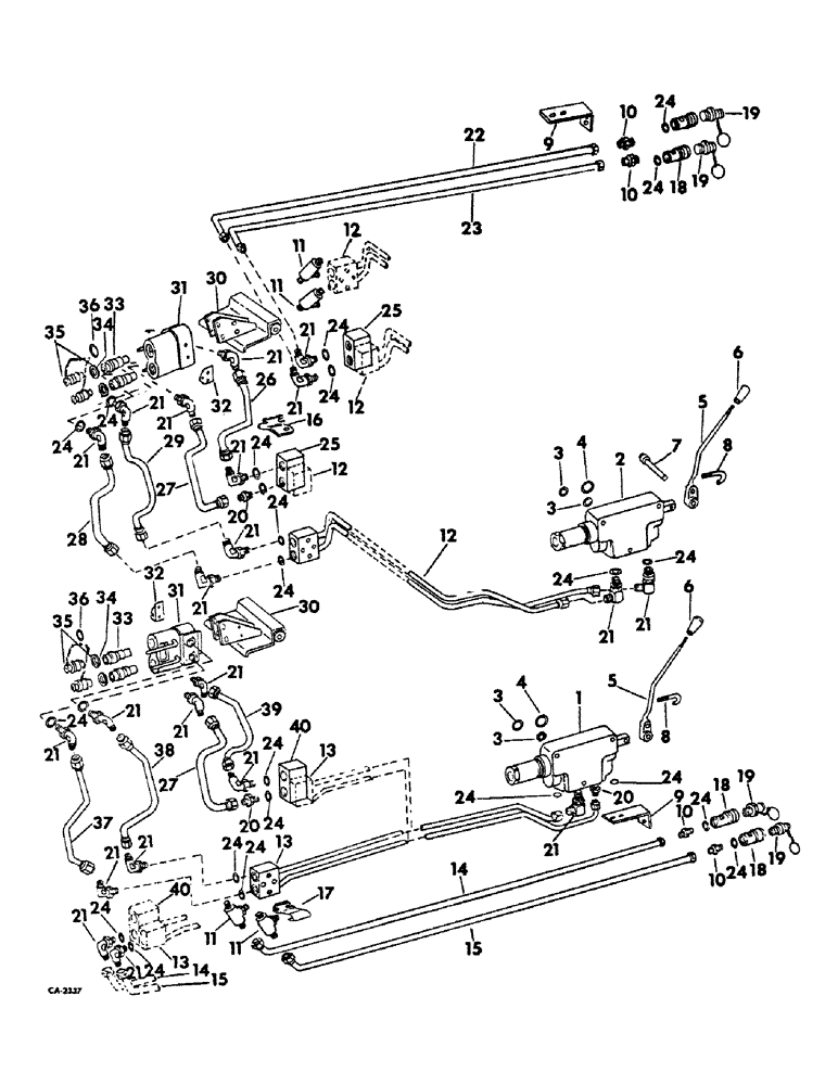
1

383267R94

VALVE

ASSY, hydraulic control, inner position, units C through G, for components see list of parts under details of hydraulic control valve

1шт.

20846R1

BOLT,Hex, 3/8" - 16 x 4 5/8", Gr 8

SCREW, 3/8-16 x 4-5/8 hex-hd cap

3шт.

2

39026R94

VALVE ASSY, hydraulic control, outer position, units A through F, for components see list of parts under details of hydraulic control valve

1шт.

631994R1

BOLT,Hex, 3/8" - 16 x 2 1/2", Gr 8

SCREW, 3/8-16 x 2-1/2 hex-hd cap

3шт.

3

381884R1

O-RING,0.103" Thk x 0.987" ID, -120, Cl 6, 90 Duro

1 x 1-3/16 x 3/32, 2 for units A, B & G, 4 for units C, D, E and F

1шт.

4

381885R1

O-RING,0.103" Thk x 1.362" ID, -126, Cl 6, 90 Duro

1-3/8 x 1-9/16 x 3/32, units A, B & G, 2 for units C, D, E and F

1шт.

5

391182R11

LEVER

ASSY, hyd open center valve actuating, units A, B, & G

1шт.

33558V

CLEVIS PIN,1/2" x 1.906"

PIN, 1/2 x 1-29/32 rod end

1шт.

108630

COTTER PIN,1/8" x 7/8"

Pin, Split (Cotter), 1/8" x 7/8"

1шт.

395-11053

WASHER,0.53" ID x 1.06" OD x 0.1" Thk

17/32 x 1-1/16 x .095

1шт.

5

391182R11

LEVER

ASSY, hyd open center valve actuating, 2 for units C, D, E & F

1шт.

33558V

CLEVIS PIN,1/2" x 1.906"

PIN, 1/2 x 1-29/32 rod end

2шт.

108630

COTTER PIN,1/8" x 7/8"

Pin, Split (Cotter), 1/8" x 7/8"

2шт.

395-11053

WASHER,0.53" ID x 1.06" OD x 0.1" Thk

17/32 x 1-1/16 x .095

2шт.

6

388634R1

GRIP

lever handle, units A, B & G, 2 for units C, D, E and F

1шт.

7

378045R1

STUD

SHAFT, open center valve actuating, units A through G

1шт.

8

390013R1

SCREW

ROD, valve float lockout, units A, B and G, 2 for units C, D, E and F

1шт.

114502

JAM NUT,Jam, 5/16"-18, G5

1 per rod Jam, 5/16"-18, G5

1шт.

9

530187R1

BRACKET, front tube support, units H and J

1шт.

19576R1

BOLT,Short NK, 5/16"-18 x 7/8", G2, Full Thd

5/16-18 x 7/8 znd sq-nk crg

2шт.

120376

NUT,5/16"-18, G5

5/16-18 x 7/8 znd med lock

2шт.

80681

LOCK WASHER,5/16"

WASHER, LOCK, 5/16"

2шт.

120393

BEARING WASHER,5/16", SAE

WASHER, 11/32 x 11/16 x .051 znd

2шт.

9

530187R1

BRACKET, front tube support, 2 for units E and F

1шт.

19576R1

BOLT,Short NK, 5/16"-18 x 7/8", G2, Full Thd

5/16-18 x 7/8 znd sq-nk crg

4шт.

120376

NUT,5/16"-18, G5

4шт.

80681

LOCK WASHER,5/16"

WASHER, LOCK, 5/16"

4шт.

120393

BEARING WASHER,5/16", SAE

WASHER, 11/32 x 11/16 x .051 znd

4шт.

10

9403256

FITTING,Blkhd, 7/8"-14, 37 Degree x 7/8"-14, 37 Degree

UNION, 7/8-14 37 deg hyd flared tube bulkhead, 2 for units H and J, 4 for units E and F

1шт.

9403295

BHD LOCK NUT,Blkhd, 7/8"-14

NUT, 7/8-14 bulkhead union lock, 1 per union

1шт.

11

9411119

TEE,7/8"-14, 37 Degree x 7/8"-14, O-Ring Br

7/8-14 37 deg hyd flared tube, 2 for units H, J, K and L, 4 for unit E

1шт.

12

530197R1

MANIFOLD

ASSY, LH rear to first valve units A throuhg F

1шт.

369751R1

O-RING,0.072" Thk x 0.351" ID, -904, Cl 6, 90 Duro

3/8 x 1/2 x 1/16, 2 for units A, C and E

1шт.

9410356

PLUG

7/16-20 C-Z str thd o-ring boss, 2 for units A, C and E

1шт.

9410360

PLUG

7/8-14 C-Z str thd o-ring boss, 2 for units B and M

1шт.

13

389721R91

MANIFOLD

ASSY, RH rear to second valve, units C through G

1шт.

369751R1

O-RING,0.072" Thk x 0.351" ID, -904, Cl 6, 90 Duro

3/8 x 1/2 x 1/16

1шт.

9410356

PLUG

7/16-20 C-Z str thd o-ring boss, 2 for units C, E and G

1шт.

9410360

PLUG

7/8-14 C-Z str thd o-ring boss, 2 for units D and N

1шт.

14

530189R1

TUBE ASSY, RH front manifold upper, units E, F and H

1шт.

15

530188R1

TUBE ASSY, RH front manifold lower, units E, F and H

1шт.

16

389716R1

SUPPORT

BRACKET, LH rear manifold junction block, units A through F

1шт.

103026

NUT,3/8"-24, G5

2шт.

181380

BOLT,Hex, 3/8" - 24 x 2 1/4", Gr 5

SCREW, 3/8-24 x 2-1/4 hex-hd cap

2шт.

95-11041

WASHER,3/8"

(13/32 x 13/16 x .051) 3/8"

2шт.

17

389717R1

SUPPORT

BRACKET, RH rear manifold junction block, units C through G

1шт.

103026

NUT,3/8"-24, G5

2шт.

181380

BOLT,Hex, 3/8" - 24 x 2 1/4", Gr 5

SCREW, 3/8-24 x 2-1/4 hex-hd cap

2шт.

95-11041

WASHER,3/8"

(13/32 x 13/16 x .051) 3/8"

2шт.

18

395150R91

COUPLING, QUICK, FEM

COUPLING ASSY, self-sealing female, 2 for units H and J, 4 for units E and F

1шт.

19

401757R11

PLUG

ASSY, coupling dust, 2 for units H and J, 4 for units E and F

1шт.

20

9410204

HYD CONNECTOR,7/8"-14, 37 Degree x 7/8"-14, O-Ring

UNION, 7/8-14 C-Z 37 deg hyd flared tube short swivel, units B, C, E, G, M & N, 2 for unit D, 3 for unit F

1шт.

21

9410978

ELBOW,90 Degree, 7/8"-14, 37 Degree x 7/8"-14, O-Ring

7/8-14 C-Z 37 deg hyd flared tube adj str thd 90 deg, 3 for units M & N, 4 for units K and L, 5 for units B and G, 6 for unit A, 9 for unit D, 11 for units C and E, 13 for unit F

1шт.

22

530190R1

TUBE ASSY, LH front manifold upper, units E, F and J

1шт.

23

530191R1

TUBE ASSY, LH front manifold lower, units E, F and J

1шт.

24

364885R1

O-RING,0.097" Thk x 0.755" ID, -910, Cl 6, 90 Duro

3/4 x 15/16 x 3/32, 4 for units J, K, L, M & N, 6 for units A, B, G & H, 12 for units C and D, 16 for unit E, 20 for unit F

1шт.

25

544840R91

LOCK VALVE

VALVE ASSY, LH double acting check, units B, D and F, for components see list of parts under details of double acting check valve

1шт.

350429R1

O-RING,0.103" Thk x 0.612" ID, -114, Cl 5, 75 Duro

5/8 x 13/16 x 3/32

2шт.

102635

NUT,3/8"-16, G5

2шт.

186283

BOLT,Hex, 3/8" - 16 x 3 1/2", Gr 5

SCREW, 3/8-16 x 3-1/2 hex-hd cap

2шт.

95-11041

WASHER,3/8"

(13/32 x 13/16 x .065) 3/8"

2шт.

26

536595R1

TUBE

ASSY, upper breakaway check valve, units B, D, F and M

1шт.

27

536594R1

TUBE ASSY, lower breakaway check valve, units B, M and N, 2 for units D and F

1шт.

28

536589R1

TUBE ASSY, LH lower breakaway coupler, units A, C, E and K

1шт.

29

536592R1

TUBE ASSY, LH upper breakaway coupler, units A, C, E and K

1шт.

30

536596R1

LARGE PLATE

PLATE ASSY, IPTO handle and hydraulic coupler support, unit A through N

1шт.

179835

BOLT,Hex, 3/8" - 16 x 5/8", Gr 5, Full Thd

2шт.

31

544786R91

SPARE PART

COUPLER ASSY, lever actuated female, units A, B, G, K, L, M and N, 2 for units C, D, E and F, for components see list of parts under details of female coupler

1шт.

32

537588R1

PLUG

BRACKET, dust plug mounting, units A, B, G, K, L, M and N, 2 for units C, D, E and F

1шт.

179880

BOLT,Hex, 1/2" - 13 x 7/8", Gr 5

SCREW, 1/2-13 x 7/8 hex-hd cap, 2 per bracket

1шт.

33

544787R91

COUPLING, BREAK AWAY

COUPLER ASSY, male, 2 for units A, B, G, K, L, M & N, 4 for units C, D, E and F

1шт.

34

401758R1

WASHER,14.48mm ID x 38.1mm OD x 3.05mm Thk

coupler dust plug, 2 for units A, B and G through N, 4 for units C and D, 8 for units E and F

1шт.

35

537589R91

PLUG

ASSY, coupler dust, 2 for units A, B, G, K, L, M & N, 4 for units C, D, E and F

1шт.

36

25641R1

OIL SEAL

RING, coupler dust plug chain retaining, units A, B, G, K, L, M and N, 2 for units C, D, E and F

1шт.

37

536590R1

TUBE

ASSY, RH lower breakaway coupler, units C, E, G and L

1шт.

38

536591R1

TUBE

ASSY, RH upper breakaway coupler, units C, E, G and L

1шт.

39

536593R1

TUBE ASSY, RH upper breakaway check valve, units D, F and N

1шт.

40

374083R92

VALVE

ASSY, RH double acting check, units D, F and N, for components see list of parts under details of double acting check valve

1шт.

350429R1

O-RING,0.103" Thk x 0.612" ID, -114, Cl 5, 75 Duro

5/8 x 13/16 x 3/32

2шт.

102635

NUT,3/8"-16, G5

2шт.

186283

BOLT,Hex, 3/8" - 16 x 3 1/2", Gr 5

SCREW, 3/8-16 x 3-1/2 hex-hd cap

2шт.

95-11041

WASHER,3/8"

(13/32 x 13/16 x .065) 3/8"

2шт.

Выбрано товаров: 95