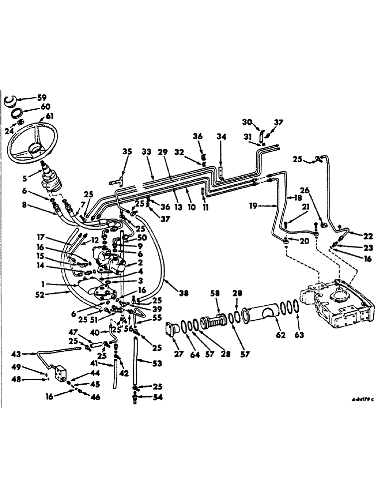
Запчасти Case IH 656 (J-06) - STEERING MECHANISM, POWER STEERING, FARMALL LP GAS ENGINE GEAR DRIVE TRACTORS Steering Mechanism

Схема запчастей Case IH 656 - (J-06) - STEERING MECHANISM, POWER STEERING, FARMALL LP GAS ENGINE GEAR DRIVE TRACTORS Steering Mechanism
37
28
22
6
53
54
56
51
23
38
42
55
11
25
63
59
12
19
40
20
29
62
25
36
5
39
25
57
57
25
45
34
28
48
32
37
49
27
41
60
4
44
35
33
25
36
31
16
15
16
25
43
58
25
7
9
24
13
16
8
61
52
6
30
26
10
1
25
17
50
25
18
3
25
14
2
64
6
47
16
25
21
46
FIT
1:1
100%

Артикул

Название

Примечание

Количество

1

386910R91

VALVE ASSY, power steering flow divider, will work for 392665R91, for components see list of parts under details of power steering flow divider valve, Serial Range: -45253

1шт.

1

543960R91

LOCK VALVE

VALVE ASSY, power steering flow divider, for components see list of parts under details of power steering flow divider valve, Start Serial: 45254

1шт.

2

527492R91

LOCK VALVE

VALVE ASSY, power steering pilot, will work for 379645R93 & 396726R91, for components see list of parts under details of power steering pilot valve

1шт.

179849

BOLT,Hex, 3/8" - 16 x 2 1/2", Gr 5

3шт.

103321

LOCK WASHER,3/8"

WASHER, LOCK, 3/8"

3шт.

3

362796R1

O-RING,0.924" ID x 0.103" Width

15/16 x 1-1/8 x 3/32, pilot valve large

1шт.

4

369908R1

O-RING,0.103" Thk x 0.799" ID, -117, Cl 5, 75 Duro

13/16 x 1 x 3/32, pilot valve small

1шт.

5

388407R93

PUMP

hydrostatic power steering hand, for components see list of parts under details of hydrostatic power steering hand pump

1шт.

179820

BOLT,Hex, 5/16" - 18 x 1 1/4", Gr 5

4шт.

115548

LOCK WASHER,Int Tooth, 5/16"

WASHER, LOCK, Int Tooth, 5/16"

4шт.

6

570828R1

O-RING,0.087" Thk x 0.644" ID, -908, Cl 6, 90 Duro

.644 x .818 x .087

5шт.

7

388408R91

HYDRAULIC HOSE

and tube Assy, hand pump LH, 16.8"lng

1шт.

8

388409R91

HYD TUBE

and Hose Assy, hand pump RH, 9.50" lng

1шт.

9

9410977

ELBOW,90 Degree, 3/4"-16, 37 Degree x 3/4"-16, O-Ring

3/4-16 37 deg flared tube adj str thd 90 deg

2шт.

10

393130R11

TUBE ASSY, valve to bolster rear port center

1шт.

11

393068R1

HOSE

power steering bumper

4шт.

12

393129R11

TUBE ASSY, valve to bolster front port rear

1шт.

13

393128R11

TUBE ASSY, valve to bolster front port center

1шт.

14

9410202

HYD CONNECTOR,9/16"-18, 37 Degree x 9/16"-18, O-Ring

UNION, 9/16-18 37 deg hyd hyd flared tube short swivel

1шт.

15

9410976

ELBOW,90 Degree, 9/16"-18, 37 Degree x 9/16"-18, O-Ring

9/16-18 37 deg hyd flared tube adj str thd 90 deg

1шт.

16

364839R1

O-RING,0.078" Thk x 0.468" ID, -906, Cl 6, 90 Duro

6-1, 90 Duro, .468" ID x .078" Thk

5шт.

17

390951R11

TUBE

PIPE ASSY, valve to bolster, rear port rear

1шт.

18

388414R11

TUBE

PIPE ASSY, valve to bolster front port front section

1шт.

19

388415R11

TUBE

PIPE ASSY, valve to bolster rear port front section

1шт.

20

382997R1

O-RING,0.07" Thk x 0.489" ID, -14, Cl 6, 90 Duro

1/2 x 5/8 x 1/16

4шт.

21

370922R1

SCREW,Hex, 7/16" - 20 x 1"

pressure tube union

2шт.

588099R1

WASHER

15/32 x 3/4 x 22 ga.

2шт.

22

388595R11

TUBE

PIPE ASSY, oil cooler return front

1шт.

23

382449R1

CONNECTOR, ELEC

CONNECTOR, overflow tube

1шт.

24

F19646

LOCK NUT,13/16"-20, Thin

NUT, steering wheel

1шт.

25

261498R91

COLLAR CLAMP,nasp

CLAMP, cooler return hose

11шт.

26

388600R1

CLAMP, cooler tube

1шт.

179835

BOLT,Hex, 3/8" - 16 x 5/8", Gr 5, Full Thd

1шт.

27

378652R1

HOUSING

COVER, housing end

1шт.

327202R1

BOLT

SCREW, 7/16-14 x 1-7/8 hex-hd cap

4шт.

183544R1

WASHER

15/32 x 7/8 x 1/8 hardened

4шт.

28

378651R1

SEALING RING

RING, rack piston

2шт.

29

393131R1

TUBE, flow divider to oil cooler

1шт.

30

384581R1

BRACKET, oil cooler pipe

1шт.

31

351549R1

WASHER

SPACER, oil cooler tube bracket

1шт.

179818

BOLT,Hex, 5/16" - 18 x 1", Gr 5

SCREW, 5/16-18 x 3/4 hex-hd cap

1шт.

32

381448R1

CLAMP

oil cooler tube

1шт.

181319

BOLT,Hex, 1/4" - 28 x 1 1/2", Gr 5

1шт.

103319

LOCK WASHER,1/4"

WASHER, LOCK, 1/4"

1шт.

25-114

NUT,1/4"-28, G5

1/4-28 hex.

1шт.

33

393132R11

TUBE ASSY, oil cooler return

1шт.

34

393134R1

BRACKET, oil cooler tubes front

1шт.

179837

BOLT,Hex, 3/8" - 16 x 3/4", Gr 5

1шт.

615029R1

WASHER

3/8 x 3/4 x .051

2шт.

103321

LOCK WASHER,3/8"

WASHER, LOCK, 3/8"

1шт.

102635

NUT,3/8"-16, G5

1шт.

35

393135R11

BRACKET, oil cooler & power steering tubes

1шт.

179816

BOLT,Hex, 5/16" - 18 x 3/4", Gr 5

2шт.

103320

LOCK WASHER,5/16"

WASHER, LOCK, 5/16"

2шт.

36

381394R1

CLAMP

power steering tube, small

2шт.

179798

BOLT,Hex, 1/4" - 20 x 1 1/8", Gr 5

2шт.

103319

LOCK WASHER,1/4"

WASHER, LOCK, 1/4"

2шт.

109084

NUT,1/4"-20, G5

2шт.

37

384855R11

CLAMP

ASSY, power steering tube

2шт.

179798

BOLT,Hex, 1/4" - 20 x 1 1/8", Gr 5

SCREW, 1/4-20 x 7/8 hex-hd cap

2шт.

103319

LOCK WASHER,1/4"

WASHER, LOCK, 1/4"

2шт.

38

388601R1

HOSE

flow divider relief

1шт.

39

388607R1

ELBOW, flow divider relief connector

1шт.

40

404253R1

FITTING ASSY, oil coller return, replaces 389978R11

1шт.

41

389981R1

HOSE, oil cooler return internal

1шт.

42

279025R91

HOSE CLAMP,#06, .44/.78 Type F Worm

Internal hose #06, .44/.78 Type F Worm

1шт.

43

392716R92

MANIFOLD ASSY, oil cooler return

1шт.

43

389631R93

MANIFOLD ASSY

power supply & coil cooler return, tractors w/draft control

1шт.

179846

LEVER

3шт.

44

354057R2

VALVE

check

1шт.

45

382334R1

SPRING

check

1шт.

46

390825R1

PLUG

std thd o-ring boss

1шт.

47

529245R1

HOSE, power steering return

1шт.

48

355965R1

O-RING,0.139" Thk x 0.921" ID, -213, Cl 5, 75 Duro

15/16 x 1-3/16 x 1/8, hyd housing flange small

1шт.

49

356005R1

O-RING,1.109" ID x 0.139" Width

1-1/8 x 1-5/16 x 1/8, hyd housing flange large

1шт.

50

388608R1

HOSE, oil cooler return, junction

2шт.

51

38609R91

TEE ASSY, oil cooler supply & by-pass

1шт.

52

388606R1

HYDRAULIC HOSE,12.70 mm ID x 342.00 mm, SAE 100R6, SAE J517

HOSE, oil cooler supply

1шт.

53

395163R1

HOSE ASSY.

HOSE, by-pass

1шт.

54

388448R93

VALVE

ASSY, oil cooler by-pass

1шт.

55

388611R1

TUBE

PIPE, pilot valve by-pass

1шт.

56

222-506

TUBE NUT,11/16"-16

NUT, 11/16-16 hi-duty tube-for 1/2 pipe

1шт.

57

380910R1

O-RING,0.103" Thk x 2.987" ID, -151, Cl 5, 75 Duro

3 x 3-3/16 x 3/32

2шт.

58

379364R1

PISTON

power steering

1шт.

59

378395R1

CAP

steering wheel

1шт.

60

295204R1

O-RING,0.103" Thk x 2.8" ID, -149, Cl 5, 75 Duro

2-13/16 x 3 x 3/32, steering wheel cap

1шт.

61

385156R1

WHEEL (STEERING)

WHEEL, 16 in. dia. steering

1шт.

61

385156R1GV

STEERING WHEEL

Value, Steering Wheel

1шт.

62

367805R2

SLEEVE CYLINDER

SLEEVE, steering cyl

1шт.

63

254688R1

O-RING,0.21" Thk x 3.85" ID, -344, Cl 5, 75 Duro

3-7/8 x 4-1/4 x 3/16

3шт.

64

384349R1

O-RING,0.139" Thk x 3.734" ID, -240, Cl 6, 90 Duro

3-3/4 x 4 x 1/8

1шт.

393258R1

INSULATOR, square hydraulic line, 1/2 in. x 2 in. square

1шт.

393259R1

HOSE

INSULATOR, round hydraulic line 5/8 ID x 3/4 in. long

1шт.

Выбрано товаров: 93