Запчасти Case IH 656 (E-06) - FUEL SYSTEM, FUEL TANK, SUPPORTS AND PIPING, FARMALL DIESEL ENGINE TRACTORS (02) - FUEL SYSTEM

Схема запчастей Case IH 656 - (E-06) - FUEL SYSTEM, FUEL TANK, SUPPORTS AND PIPING, FARMALL DIESEL ENGINE TRACTORS (02) - FUEL SYSTEM
19
13
12
37
31
5
1
17
20
4
19
25
22
8
7
9
36
38
32
15
18
30
21
15
35
29
14
12
22
11
10
15
7
15
27
3
34
2
33
28
7
19
23
26
15
16
24
6
FIT
1:1
100%

Артикул

Название

Примечание

Количество

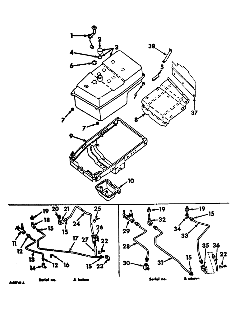
1

378427R92

GAUGE

SENDING UNIT ASSY, electric fuel gauge

1шт.

1310675C1

CAPTIVE WASHER SCREW,Sl Truss Hd, #10 - 24 x 0.75"

SCREW, LOCK, , Sending unit mounting Sltd Truss Hd, #10-24 x 3/4", w/nylon LW

5шт.

2

361910R91

PLUG

CAP, w/gasket, fuel tank filler

1шт.

3

66305C91

TANK

ASSY, fuel, will work for 368780R93

1шт.

231-1446

NUT,3/8" - 16, Gr 5

NUT LOCK, 3/8"-16, GB

4шт.

179841

BOLT,Hex, 3/8" - 16 x 1 1/4", Gr 5

3/8-16 x 1-1/4 hex-hd cap

3шт.

NLS

NO LONGER SERVICED

1шт.

95-11041

WASHER,3/8"

(13/32 x 13/16 x .065) 3/8"

4шт.

4

23977DB

GASKET

fuel tank filler cap

1шт.

5

392910R1

BUMPER

heat shield

1шт.

6

369154R1

GASKET

sending unit

1шт.

7

60671DA

WASHER,11.94mm ID x 30.48mm OD x 8.13mm Thk

PAD, fuel tank insulating

4шт.

8

378681R11

SHIELD, lower heat

1шт.

179812

GEAR

SCREW, 5/16-18 x 1/2 hex-hd cap

5шт.

256873

BOLT,Hex Serr, 5/16" - 18 x 1/2", 5SPL, Full Thd

4шт.

33530H

SPACER, heat shield

1шт.

9

388327R14

FRAME ASSY, fuel tank

1шт.

131-883

SPRING NUT,Rtnr, 5/16" - 18

5/16-18 floating cage, used with .543-.548 square holes

2шт.

389117R91

NUT

5/16-18 floating cage, used with .582-.587 square holes

2шт.

179871

BOLT,Hex, 7/16" - 14 x 3 1/4", Gr 5

SCREW, 7/16-14 x 3-1/4 hex-hd cap

4шт.

179840

BOLT,Hex, 3/8" - 16 x 1 1/8", Gr 5

SCREW, 3/8-16 x 1-1/8 hex-hd cap

2шт.

10

388331R1

SPACER, fuel tank

1шт.

11

384151R91

VALVE

w/nut, 19986R1, fuel tank shut-off

1шт.

12

19986R1

TUBE NUT,9/16"-20

NUT, 9/16-20 hi-duty pipe fitting

1шт.

13

388333R11

PIPE ASSY, fuel tank to fuel filter

1шт.

14

37323D

ELBOW,90 Degree x 1/4" NPT x 9/16"-20

9/16-20 hi-duty pipe fitting

1шт.

15

19984R1

TUBE NUT,7/16"-24

NUT, 7/16-24 hi-duty tube fitting

1шт.

16

370675R1

CLIP, fuel return pipe

1шт.

17

388334R11

PIPE

ASSY, fuel return

1шт.

18

370676R93

90 ELBOW

ELBOW, fuel return pipe check

1шт.

19

119933

ADAPTER,3/8" NPT Male x 1/8" NPT Fem

BUSHING, 3/8 x 1/8 brass pipe reducing, fuel return pipe

1шт.

20

217-42

REDUCER,3/8" - 18 NPT x 1/4" - 18 NPT

3/8 x 1/4 pipe, brass

1шт.

21

252374R1

ELBOW,90 Degree x 1/4" NPT x 7/16"-24

7/16-24 hi-duty tube fitting

1шт.

22

370740R1

CLAMP

CLIP, fuel tank drain pipe

1шт.

23

370080R91

ELBOW

fuel return pipe

1шт.

24

384274R21

PIPE, w/nut and sleeve, fuel tank drain long

1шт.

25

385749R1

CLIP, fuel tank drain pipe

1шт.

26

385747R91

COCK

VALVE ASSY, drain

1шт.

27

385748R11

PIPE ASSY, fuel tank drain short

1шт.

28

398117R1

TUBE ASSY, fuel, Serial Range: tank-filter

1шт.

29

390069R91

SHUT-OFF VALVE

VALVE, fuel tank shut off w/nut

1шт.

30

NLS

NO LONGER SERVICED

ELBOW, 1/4-18 90 deg inverted flared tube

1шт.

31

398119R91

FUEL TUBE

TUBE, w/nut, 19984R1 fuel return

1шт.

32

390074R91

ELBOW

ASSY, fuel return pipe check

1шт.

33

398122R1

TUBE ASSY, fuel tank drain long

1шт.

34

225810

ELBOW UNION

ELBOW, 1/8-27 90 deg inverted flared tube heave male pipe for 1/4 OD pipe tank to tank, tank end

1шт.

35

398182R1

VALVE

fuel tank drain

1шт.

36

398124R1

TUBE ASSY, fuel tank drain short

1шт.

37

398142R1

SHIELD ASSY, upper heat

1шт.

38

398144R1

SUPPORT, heat shield

1шт.

Выбрано товаров: 50