Запчасти Case IH 656 (E-14) - FUEL SYSTEM, AUXILIARY UNDERSLUNG FUEL TANK, DIESEL ENGINE TRACTORS (02) - FUEL SYSTEM

Схема запчастей Case IH 656 - (E-14) - FUEL SYSTEM, AUXILIARY UNDERSLUNG FUEL TANK, DIESEL ENGINE TRACTORS (02) - FUEL SYSTEM
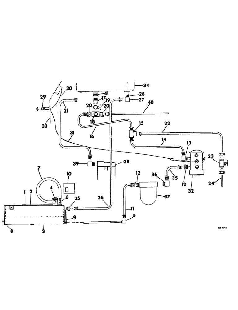
29
36
31
9
38
24
4
18
40
25
19
39
5
7
35
26
23
32
12
13
2
17
28
12
21
30
14
3
22
41
37
20
16
20
8
27
33
10
1
34
6
15
11
FIT
1:1
100%

Артикул

Название

Примечание

Количество

.

ATTACHMENT, auxiliary underslung fuel tank, 406189R93

1шт.

1

406190R1

PLATFORM ASSY, fuel tank LH

1шт.

.

271607

BOLT,Hex, 3/4" - 10 x 1 1/2", Gr 5

SCREW, 3/4-10 x 1-1/2 hex-hd cap

3шт.

2

406194R1

PLATFORM ASSY, fuel tank RH

1шт.

.

NLS

NO LONGER SERVICED

SCREW, 3/4-10 x 1-1/2 hex-hd cap

3шт.

3

406202R1

TANK ASSY, fuel

1шт.

.

445673

PIPE PLUG,Sq Hd, 3/8"-18 NPTF

PLUG, 3/8-18 sq-hd pipe drain

1шт.

4

389943R91

CAP

non-vented

1шт.

5

405663R1

TUBE ASSY, fuel tank outlet

1шт.

6

169627H1

NIPPLE, LUBE

FITTING, 1/8 NPT vent hose

1шт.

7

405671R1

HOSE ASSY.

HOSE, fuel tank vent

1шт.

8

406197R1

SHROUD ASSY, fuel tank

1шт.

.

355258C1

SCREW, 1/2-13 x 10 znd hex-hd cap

6шт.

9

405669R1

SHIELD, fuel tank front

1шт.

.

120377

NUT,3/8" - 16, Gr 5

2шт.

.

180118

BOLT,Hex, 3/8" - 16 x 5/8", Gr 5

SCREW, 3/8-16 x 5/8 hex-hd cap

5шт.

.

120394

WASHER,3/8", SAE

WASHER, 13/32 x 13/16 x .051

5шт.

10

405670R1

COVER, upper platform support RH

1шт.

.

180014

SCREW,Hex, 1/4" - 20 x 3/8", Gr 5, Full Thd

1/4-20 x 3/4 hex-hd cap

4шт.

11

406208R1

TUBE ASSY, Serial Range: outlet-strainer

1шт.

12

894809R1

CONNECTOR, 1/8 X 5/8-18

1шт.

13

225810

ELBOW UNION

ELBOW, 1/8-27 90 deg inverted flared tube

1шт.

14

405680R1

TUBE ASSY, pump outlet

1шт.

15

127927

TEE,7/16"-24, Inv Flare, Fem, Brass

7/16-24 inverted flared tube three-way HV-series

1шт.

16

527666R1

TUBE ASSY, pump outlet & drain line, replaces 406682R1

1шт.

17

9409931

ELBOW,90 Degree, 1/8"-28 NPTF, Fem x 1/8"-27 NPTF Male

1/8-27 90 deg automotive pipe street, replaces 137421

1шт.

18

9409939

TEE,1/8"-27 NPTF Fem Run x 1/8"-27 NPTF Male Br

1/8-27 automotive pipe, ext

1шт.

19

299477C91

VALVE

shut-off

1шт.

20

442321

ROD, CONNECTING

CONNECTOR, 1/8-27 inverted flared tube

1шт.

21

398117R1

TUBE ASSY, main tank to filter, not included in attachment

1шт.

22

406201R1

TUBE ASSY, drain line

1шт.

23

385747R91

COCK

VALVE, w/nuts, fuel tank drain

1шт.

24

406681R1

TUBE, drain

1шт.

25

442323

CONNECTOR, ELEC

CONNECTOR, 1/4-18 inverted flared tube

1шт.

26

406684R2

TUBE ASSY, fuel over flow return

1шт.

27

405685R1

TUBE

ASSY, over-flow

1шт.

28

144535R1

ELBOW

3/8 x 5/8-18 inv flared tube

1шт.

29

362818R91

SWITCH

ASSY, fuel pump

1шт.

.

Q5111

WASHER

19/32 x 1-1/4 x 7 ga

1шт.

30

389911R91

CABLE ASSY, switch to gage, hot

1шт.

31

405687R1

CABLE ASSY, Serial Range: switch-pump

1шт.

32

405898R92

PUMP

fuel

1шт.

.

120375

NUT,Hex, 1/4" - 20, Gr 5

2шт.

.

413-412

BOLT,Hex, 1/4" - 20 x 3/4", Gr 5

2шт.

.

492-11025

LOCK WASHER,1/4"

WASHER, LOCK, 1/4"

2шт.

33

PANEL ASSY, RH instrument, refer to engine controls and instruments listing, section H

1шт.

34

TANK ASSY, fuel, refer to fuel and piping listing

1шт.

35

405672R1

TUBE ASSY, Serial Range: strainer-pump

1шт.

36

277413R1

ELBOW, 1/8-27 90 deg inverted flared

1шт.

37

614421R91

FILTER

STRAINER, fuel, refer to fuel strainer listing

1шт.

37

614421R91GV

BOWL

Value, Fuel Strainer

1шт.

38

FILTER ASSY, fuel, refer to fuel filter listing

1шт.

39

NLS

NO LONGER SERVICED

ELBOW, 1/4-18 90 deg inverted flared tube, not included in attachment

1шт.

40

527665R1

TUBE ASSY, fuel return, replaces 406683R1

1шт.

41

119933

ADAPTER,3/8" NPT Male x 1/8" NPT Fem

BUSHING, 3/8 x 1/8 brass pipe reducing, not included in attachment

1шт.

Выбрано товаров: 55