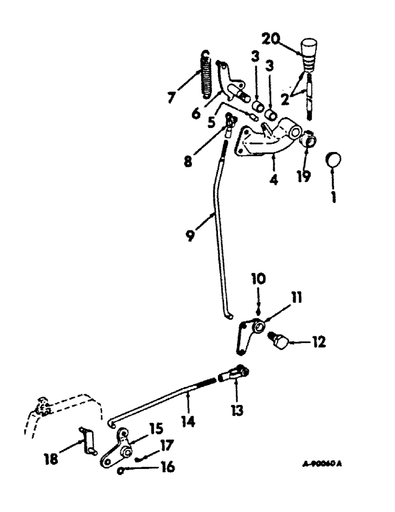
Запчасти Case IH 756 (H-13) - CONTROLS, TORQUE AMPLIFIER LEVER AND CONTROLS Controls

Схема запчастей Case IH 756 - (H-13) - CONTROLS, TORQUE AMPLIFIER LEVER AND CONTROLS Controls
6
12
3
15
11
16
17
20
3
9
4
19
1
14
8
5
7
10
18
2
13
FIT
1:1
100%

Артикул

Название

Примечание

Количество

1

432344

HOLE PLUG BUTTON,1 3/16"

PLUG, 1-3/16 CD or ZN-PLTD button, torque amplifier handle

1шт.

2

398801R11

HANDLE ASSY, torque amplifier control

1шт.

398802R1

NUT, torque amplifier handle

1шт.

13-510

BOLT,Hex, 5/16" - 18 x 5/8", Gr 5, Full Thd

1шт.

Q398

WASHER

11/32 x 7/8 x 16 ga

1шт.

3

382638R2

BUSHING,19.07mm ID x 22.24mm OD x 19.05mm L

handle support bracket

2шт.

4

383144R11

BRACKET W/BUSHINGS, 382638R1, torque amplifier handle support

1шт.

114503

JAM NUT,Jam, 3/8"-16, G5

1шт.

179839

BOLT,Hex, 3/8" - 16 x 1", Gr 5

3шт.

179841

BOLT,Hex, 3/8" - 16 x 1 1/4", Gr 5

3/8-16 x 1-1/4 hex-hd cap

1шт.

5

19962R1

DOWEL,3/8" x 3/4"

PIN, 3/8 x 3/4 dowel

1шт.

6

383147R11

SHAFT

ASSY, handle pivot

1шт.

7

384296R2

VALVE SPRING

SPRING, pivot arm

1шт.

8

213-315

CLEVIS

5/16 short adj rod end, bellcrank operating rod

1шт.

NLS

NO LONGER SERVICED

5/16 x 31/32 rod end

1шт.

107762

WASHER,3/32" x 5/8"

PIN, SPLIT, (COTTER), 3/32" x 5/8"

1шт.

9

398804R1

ROD, bellcrank operating

1шт.

103373

COTTER PIN,3/32" x 3/4"

Pin, Split (Cotter), 3/32" x 3/4"

1шт.

615063R1

WASHER

15/32 x 7/8 x .065

1шт.

10

66584D

FITTING

3/16 drive type str lub, lever bearing

1шт.

11

384232R91

LEVER

ASSY, torque amplifier

1шт.

12

383153R3

BOLT,Shldr, Hex, 5/8" - 11 x 1.80"

BOLT, lever

1шт.

13

104038

ADJUSTABLE CLEVIS,3/8"-24 x 2 1/2"

CLEVIS, 3/8 adj rod end

1шт.

103496

CLEVIS PIN,3/8" x 1.060"

PIN, 3/8 x 1-3/32 rod end

1шт.

107762

WASHER,3/32" x 5/8"

PIN, SPLIT, (COTTER), 3/32" x 5/8"

1шт.

20285H

WASHER

13/32 x 3/4 x 11 ga

1шт.

14

383154R1

ROD

valve lever operating

1шт.

114494

NUT,Jam, 3/8"-24, G5

1шт.

107762

WASHER,3/32" x 5/8"

PIN, SPLIT, (COTTER), 3/32" x 5/8"

1шт.

Q1597

WASHER

13/32 x 3/4 x 16 ga

1шт.

15

401142R1

LEVER

ASSY, torque amplifier valve operating

1шт.

16

971043R1

SNAP RING,#50, Ext

Valve operating lever #50, Ext

1шт.

17

219-53

LUBE NIPPLE,65 Degree Elbow, 3/16" NPTF

FITTING, 3/16 drive type 65 deg angle lub

1шт.

18

384236R11

ROD

LINK ASSY, valve operating

1шт.

107762

WASHER,3/32" x 5/8"

PIN, SPLIT, (COTTER), 3/32" x 5/8"

2шт.

131402H

WASHER

11/32 x 9/16 x 16 ga

1шт.

Q1597

WASHER

13/32 x 7/8 x 16 ga

1шт.

19

398803R1

HUB

torque amplifier handle

1шт.

20

397978R2

GRIP

torque amplifier handle

1шт.

382489R11

PIVOT ASSY.

PIVOT ASSY, valve operating, illustrated with clutch controls & transmission brake, this section

1шт.

445572

BOLT,Hex, 5/16" - 18 x 2 3/4", Gr 8

SCREW, 5/16-18 x 2-3/4 hex-hd cap

1шт.

20330R1

BOLT,5/16" x 3 3/4", Gr 8

SCREW, 5/16-18 x 3-3/4 hex-hd cap

1шт.

Выбрано товаров: 42