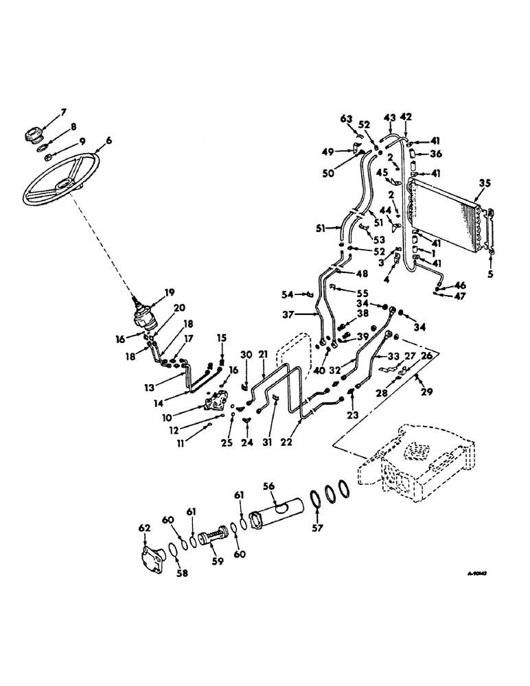
Запчасти Case IH 756 (J-03) - STEERING MECHANISM, POWER STEERING, FARMALL TRACTORS Steering Mechanism

Схема запчастей Case IH 756 - (J-03) - STEERING MECHANISM, POWER STEERING, FARMALL TRACTORS Steering Mechanism
2
15
13
33
22
50
51
57
61
29
28
14
4
54
41
23
48
41
56
2
36
32
34
21
60
41
55
52
58
26
35
27
10
40
18
12
38
16
43
53
62
17
45
24
41
44
42
37
3
46
18
52
39
51
47
49
59
11
30
63
1
5
25
34
9
31
16
8
7
19
60
6
61
20
FIT
1:1
100%

Артикул

Название

Примечание

Количество

1

387329R1

HOSE, oil cooler pipe

1шт.

2

387327R1

BUSHING

oil cooler pivot

2шт.

179793

BOLT,Hex, 1/4" - 20 x 5/8", Gr 5, Full Thd

1шт.

109084

NUT,1/4"-20, G5

1шт.

3

341670R1

CLAMP, oil cooler outlet pipe

1шт.

179837

BOLT,Hex, 3/8" - 16 x 3/4", Gr 5

1шт.

4

387338R1

SUPPORT, oil cooler outlet pipe clamp

1шт.

5

387326R1

SUPPORT, oil cooler

1шт.

14994R1

CARRIAGE BOLT,Sq Nk, 5/16" - 18 x 3/4", Gr 2

BOLT, CARRIAGE, Short NK, 5/16"-18 x 3/4", G2

2шт.

129-419

WING NUT,5/16"-18

NUT, 5/16-18 wing

2шт.

324235R1

12 PT SCREW,Flg, 3/8"-16 x 3/4"

SCREW, 3/8-16 x 3/4 twelve-pt cap

1шт.

Q397

WASHER

11/32 x 3/4 x .06

2шт.

6

385156R1

WHEEL (STEERING)

WHEEL, 16 in. dia steering

1шт.

6

385156R1GV

STEERING WHEEL

Value, Steering Wheel

1шт.

7

378395R1

CAP

steering wheel

1шт.

8

295204R1

O-RING,0.103" Thk x 2.8" ID, -149, Cl 5, 75 Duro

2-13/16 x 3 x 3/32, steering wheel cap

1шт.

9

F19646

LOCK NUT,13/16"-20, Thin

NUT, steering wheel

1шт.

10

527492R91

LOCK VALVE

VALVE ASSY, power steering pilot, for components see list of parts under details of power steering pilot valve

1шт.

NLS

NO LONGER SERVICED

3шт.

103321

LOCK WASHER,3/8"

WASHER, LOCK, 3/8"

3шт.

11

369908R1

O-RING,0.103" Thk x 0.799" ID, -117, Cl 5, 75 Duro

13/16 x 1 x 3/32, pressure port

1шт.

12

362796R1

O-RING,0.924" ID x 0.103" Width

15/16 x 1-1/8 x 3/32, return port

1шт.

13

382576R11

TUBE

ASSY, valve to hand pump left port lower section, gasoline tractors, diesel or LP gas tractors, Serial Range: -14331

1шт.

13

406176R1

TUBE ASSY, valve to hand pump, left port, lower section, diesel or LP gas tractors, Start Serial: 14332

1шт.

14

382577R11

TUBE

ASSY, valve to hand pump right port, lower section, gasoline tractors, diesel or LP gas tractors, Serial Range: -14331

1шт.

14

406177R1

TUBE

ASSY, valve to hand pump right port, lower section, diesel or LP gas tractors, Start Serial: 14332

1шт.

15

9410977

ELBOW,90 Degree, 3/4"-16, 37 Degree x 3/4"-16, O-Ring

3/4-16 37 deg hyd flared tube adj str thd 90 deg, valve to hand pump tube, gasoline tractors, diesel or LP gas tractors, Serial Range: -14331

2шт.

15

9410203

HYD CONNECTOR,3/4"-16, 37 Degree x 3/4"-16, O-Ring

UNION, 3/4-16 C-Z 37 deg hyd flared tube short swivel, diesel or LP gas tractors with, Start Serial: 14332

1шт.

16

570828R1

O-RING,0.087" Thk x 0.644" ID, -908, Cl 6, 90 Duro

.644 x .818 x .087

4шт.

17

9403216

HYD CONNECTOR,3/4"-16, 37 Degree

UNION, 3/4-16 C-Z 37 deg hyd flared tube, valve to hand pump tube

2шт.

18

382578R12

TUBE

ASSY, valve to hand pump upper section

2шт.

19

382579R94

PUMP

ASSY, power steering hand, for components see list of parts under details of hydrostatic power steering hand pump

1шт.

179820

BOLT,Hex, 5/16" - 18 x 1 1/4", Gr 5

4шт.

115548

LOCK WASHER,Int Tooth, 5/16"

WASHER, LOCK, Int Tooth, 5/16"

4шт.

20

9410203

HYD CONNECTOR,3/4"-16, 37 Degree x 3/4"-16, O-Ring

UNION, 3/4-16 C-Z 37 deg hyd flared tube short swivel, upper tube to hand pump

2шт.

21

396390R1

TUBE

ASSY, valve to bolster front port rear section

1шт.

22

396392R1

TUBE

ASSY, valve to bolster rear port rear section (Replaces 398392R1)

1шт.

23

9402786

UNION,9/16"-18, 37 Degree x 9/16"-18, 37 Degree

9/16-18 C-Z 3 deg hyd flared tube

2шт.

24

9410976

ELBOW,90 Degree, 9/16"-18, 37 Degree x 9/16"-18, O-Ring

9/16-18 C-Z 37 deg hyd flared tube adj str thd 90 deg, valve to bolster tube

2шт.

25

364839R1

O-RING,0.078" Thk x 0.468" ID, -906, Cl 6, 90 Duro

6-1, 90 Duro, .468" ID x .078" Thk, valve to bolster tube elbow

2шт.

26

384484R11

SUPPORT TUBE

SUPPORT ASSY, pressure tube

1шт.

102637

NUT,1/2"-13, G5

1шт.

179883

BOLT,Hex, 1/2" - 13 x 1 1/4", Gr 5

1шт.

27

(Not used in this application)

1шт.

28

51693D

BAR

WASHER, bevel front frame channel

1шт.

29

381394R1

CLAMP

pressure tube

1шт.

179796

BOLT,Hex, 1/4" - 20 x 7/8", Gr 5

SCREW, 1/4-20 x 7/8 hex-hd cap

1шт.

103319

LOCK WASHER,1/4"

WASHER, LOCK, 1/4"

1шт.

30

384891R11

CLAMP

STRIP ASSY, hyd tube clamp

1шт.

179794

BOLT,Hex, 1/4" - 20 x 11/16"

SCREW, 1/4-20 x 11/16 hex-hd cap

1шт.

103319

LOCK WASHER,1/4"

WASHER, LOCK, 1/4"

1шт.

31

384891R1

CLAMP

STRIP, hyd tubes clamp

1шт.

32

396398R2

TUBE

ASSY, valve to bolster front port front section

1шт.

370922R1

SCREW,Hex, 7/16" - 20 x 1"

pressure tube union

1шт.

588099R1

WASHER

15/32 x 3/4 x 22 ga

1шт.

33

396508R2

TUBE

ASSY, valve to bolster rear port front section

1шт.

370922R1

SCREW,Hex, 7/16" - 20 x 1"

pressure tube union

1шт.

588099R1

WASHER

15/32 x 3/4 x 22 ga

1шт.

34

382997R1

O-RING,0.07" Thk x 0.489" ID, -14, Cl 6, 90 Duro

1/2 x 5/8 x 1/16, pressure tube union

4шт.

35

387322R92

COOLER ASSY.

COOLER ASSY, oil, hinged type

1шт.

36

387329R1

HOSE, oil cooler pipe

1шт.

37

385060R11

PIPE ASSY, oil cooler inlet rear, carbureted engine tractors 0.5" OD, 21.05, 8.75" Length

1шт.

37

384854R11

PIPE ASSY, oil cooler inlet rear, diesel engine tractors

1шт.

38

384577R1

NIPPLE, LUBE

PLUG, inlet union

2шт.

39

570828R1

O-RING,0.087" Thk x 0.644" ID, -908, Cl 6, 90 Duro

41/64 x 13/16 x 3/32, inlet union

2шт.

40

384578R1

O-RING,0.07" Thk x 0.801" ID, -19, Cl 6, 90 Duro

13/16 x 15/16 x 1/16, inlet union plug

2шт.

41

274085R91

HOSE CLAMP,#10, 0.56/1.06 Type F Worm

CLAMP, oil cooler hose

4шт.

42

387328R1

PIPE, oil cooler inlet front

1шт.

43

387331R91

PIPE ASSY, oil cooler outlet front

1шт.

324235R1

12 PT SCREW,Flg, 3/8"-16 x 3/4"

SCREW, 3/8-16 x 3/4 twelve-pt cap

1шт.

44

387325R2

BRACKET, oil cooler mounting lower

1шт.

324235R1

12 PT SCREW,Flg, 3/8"-16 x 3/4"

SCREW, 3/8-16 x 3/4 twelve-pt cap

1шт.

45

387324R2

BRACKET, oil cooler mounting upper

1шт.

324235R1

12 PT SCREW,Flg, 3/8"-16 x 3/4"

SCREW, 3/8-16 x 3/4 twelve-pt cap

1шт.

46

9410202

HYD CONNECTOR,9/16"-18, 37 Degree x 9/16"-18, O-Ring

UNION, 9/16-18 C-Z 37 deg hyd flared tube short swivel, relief pipe

1шт.

47

364839R1

O-RING,0.078" Thk x 0.468" ID, -906, Cl 6, 90 Duro

6-1, 90 Duro, .468" ID x .078" Thk, for 3/8 pipe, relief pipe connector

1шт.

48

385061R11

PIPE ASSY, oil cooler outlet rear, carbureted engine tractors

1шт.

48

384853R11

PIPE ASSY, oil cooler outlet rear, diesel engine tractors

1шт.

49

384581R1

BRACKET, oil cooler pipes

1шт.

179816

BOLT,Hex, 5/16" - 18 x 3/4", Gr 5

1шт.

50

351549R1

WASHER

SPACER, oil cooler tube support

1шт.

51

384582R1

HOSE, oil cooler

2шт.

52

274085R91

HOSE CLAMP,#10, 0.56/1.06 Type F Worm

CLAMP, oil cooler hose

4шт.

53

384586R1

GUIDE

oil cooler hose

1шт.

179811

SHAFT

SCREW, 5/16-18 x 7/16 hex-hd cap

1шт.

54

384855R11

CLAMP

ASSY, oil cooler rear pipes

1шт.

55

384855R1

CLAMP

oil cooler rear pipes

1шт.

179795

TILLAGE BLADE

SCREW, 1/4-20 x 3/4 hex-hd cap

1шт.

103319

LOCK WASHER,1/4"

WASHER, LOCK, 1/4"

1шт.

56

367805R2

SLEEVE CYLINDER

SLEEVE, steering cylinder

1шт.

57

254688R1

O-RING,0.21" Thk x 3.85" ID, -344, Cl 5, 75 Duro

3-7/8 x 4-1/4 x 3/16

3шт.

58

384349R1

O-RING,0.139" Thk x 3.734" ID, -240, Cl 6, 90 Duro

3-3/4 x 4 x 1/8

1шт.

59

379364R1

PISTON

power steering

1шт.

60

380910R1

O-RING,0.103" Thk x 2.987" ID, -151, Cl 5, 75 Duro

3 x 3-3/16 x 3/32

2шт.

61

378651R1

SEALING RING

RING, rack piston

2шт.

62

378652R1

HOUSING

COVER, housing end

1шт.

327202R1

BOLT

SCREW, 7/16-14 x 1-7/8 hex-hd cap

4шт.

183544R1

WASHER

15/32 x 7/8 x 1/8 hardened

4шт.

63

381448R1

CLAMP

oil cooler pipes

1шт.

109084

NUT,1/4"-20, G5

1шт.

179797

BOLT,Hex, 1/4" - 20 x 1", Gr 5

1шт.

103319

LOCK WASHER,1/4"

WASHER, LOCK, 1/4"

1шт.

Выбрано товаров: 102