Запчасти Case IH 756 (C-2) - CARBURETED ENGINE, EXHAUST SYSTEM (01) - ENGINE

Схема запчастей Case IH 756 - (C-2) - CARBURETED ENGINE, EXHAUST SYSTEM (01) - ENGINE
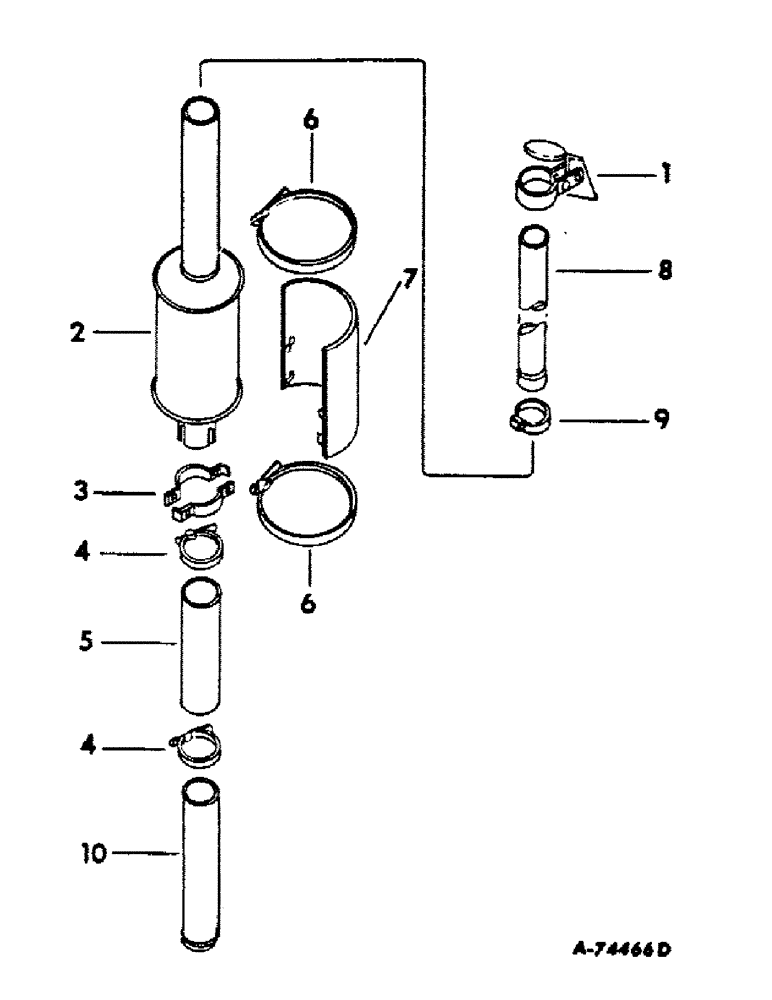
6
7
10
4
8
4
9
2
1
6
5
3
FIT
1:1
100%

Артикул

Название

Примечание

Количество

1

321575R91

CAP

ASSY, exhaust, optional with 402308R1

1шт.

1

402308R1

CAP

ASSY, exhaust, optional with 321575R91

1шт.

1

999579R91

CYLINDER END CAP

CAP ASSY, exhaust, tractors with cab or protective frame, used only w/pipe, 402983R1, optional with 402678R1

1шт.

1

402678R1

CAP

ASSY, exhaust, tractors with cab or protective frame, used only w/pipe, 402983R1, optional with 999579R91

1шт.

2

530578R3

MUFFLER

ASSY, exhaust, oval, gasoline

1шт.

2

398511R1

MUFFLER

ASSY, exhaust, round, LP gas

1шт.

2

398511R1GV

MUFFLER

Value, Muffler

1шт.

3

402310R1

FASTENER

CLAMP, exhaust muffler

2шт.

18685R1

CARRIAGE BOLT,Short Sq Nk, 3/8" - 16 x 1 1/2", Gr 2

BOLT, 3/8-16 x 1-3/8 short sq-nk crg

2шт.

4

122322R91

HOSE CLAMP,#44, 2.31/3.25 Type F Worm

CLAMP, asbestos, LP gas engine tractors

2шт.

5

387858R1

SLEEVE, asbestos, LP gas engine tractors

1шт.

6

371677R91

HOSE CLAMP,#92, 5.38/6.25 Type F Worm, W/liner

CLAMP, heat shield, LP gas engine tractors

1шт.

7

387855R11

SHIELD ASSY, hea, LP gas engine tractors

1шт.

8

402983R1

EXTENSION

PIPE, muffler extension, tractors with cab or protective frame, farmall tractors, order pipe, 527703R1, cap 321575R91 and clamp, 527704R1, Serial Range: -17623

1шт.

8

402983R1

EXTENSION

PIPE, muffler extension, tractors with cab or protective frame, International tractors, order pipe, 527703R1, cap 321575R91 and clamp, 527704R1, Serial Range: -8422

1шт.

8

527703R1

EXTENSION

PIPE, muffler extension, tractors with cab or protective frame

1шт.

9

527704R1

CLAMP

muffler extension pipe, tractors with cab or protective frame

1шт.

120377

NUT,3/8" - 16, Gr 5

1шт.

22524R1

SCREW, 3/8-16 x 1-1/2 CDP hex-hd cap

1шт.

103382

WASHER, 3/8 C-Z reg lock

1шт.

10

383974R2

TUBE,17.8" Length

PIPE, exhaust

1шт.

Выбрано товаров: 21