Запчасти Case IH 756 (E-4) - FUEL SYSTEM, FUEL TANK, SUPPORTS AND PIPING, DIESEL ENGINE TRACTORS (02) - FUEL SYSTEM

Схема запчастей Case IH 756 - (E-4) - FUEL SYSTEM, FUEL TANK, SUPPORTS AND PIPING, DIESEL ENGINE TRACTORS (02) - FUEL SYSTEM
22
17
8
7
18
10
11
19
1
13
21
20
9
2
5
18
3
15
4
6
16
14
18
23
12
18
FIT
1:1
100%

Артикул

Название

Примечание

Количество

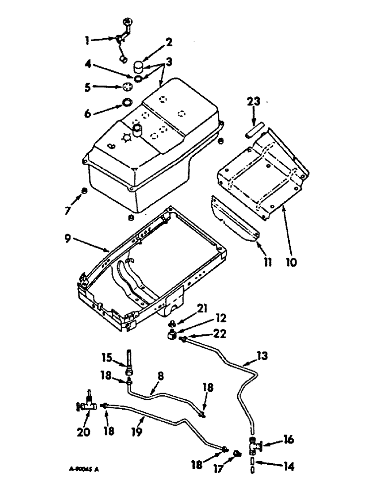
1

378427R92

GAUGE

SENDING UNIT ASSY, electric fuel gauge

1шт.

1310675C1

CAPTIVE WASHER SCREW,Sl Truss Hd, #10 - 24 x 0.75"

SCREW, LOCK, , Sending unit mounting Sltd Truss Hd, #10-24 x 3/4", w/nylon LW

5шт.

2

361910R91

PLUG

CAP W/GASKET, fuel tank filler

1шт.

3

66305C91

TANK

ASSY, fuel, replaces 368780R93

1шт.

54738R1

LOCK NUT,3/8"-24, GC

NUT, 3/8-24 C-Z nylon insert

4шт.

181370

BOLT,Hex, 3/8" - 24 x 1 1/4", Gr 5

SCREW, 3/8-24 x 1-1/4 hex-hd cap

4шт.

95-11041

WASHER,3/8"

(13/32 x 13/16 x .065) 3/8"

4шт.

4

23977D8

GASKET, fuel tank filler cap

1шт.

5

369155R1

COVER, fuel gauge sending unit opening, tractors w/o electric fuel gauge

1шт.

1310675C1

CAPTIVE WASHER SCREW,Sl Truss Hd, #10 - 24 x 0.75"

SCREW, LOCK, , Cover mounting Sltd Truss Hd, #10-24 x 3/4", w/nylon LW

5шт.

6

369154R1

GASKET

sending unit and cover

1шт.

7

60671DA

WASHER,11.94mm ID x 30.48mm OD x 8.13mm Thk

PAD, fuel tank insulating

4шт.

8

TUBE ASSY, fuel return, use 13 inches of 5/16 OD copper tubing from 50 foot roll marked, 995062R1, two nut, 137398

1шт.

9

378660R22

SUPPORT ASSY, fuel tank

1шт.

392910R1

BUMPER

heat shield

1шт.

179837

BOLT,Hex, 3/8" - 16 x 3/4", Gr 5

SCREW, 1/2-13 x 1 hex-hd cap

4шт.

446229

WASHER,1/2" x 1 1/4" x .109"

9/16 x 1-1/4 x .019

4шт.

10

396493R1

SHIELD ASSY, lower heat

1шт.

179812

GEAR

SCREW, 5/16-18 x 1/2 hex-hd cap

6шт.

11

396495R1

EXTENSION, lower heat shield

1шт.

12

225810

ELBOW UNION

ELBOW, 7/16-24 90 deg flared tube, replaces 390070R1

1шт.

13

TUBE ASSY, fuel tank drain long, use 25 inches of 1/4 OD copper tubing from a roll marked 995061R1 and 1-137397 inverted flared nut and 1-114627 nut and, 114628 sleeve

1шт.

14

TUBE ASSY, fuel tank drain short, use 6.5 in. of 1/4 OD copper tubing from 50 ft. roll marked 995061R1 and 1-114627 sleeve and nut and 1-114628

1шт.

370740R1

CLAMP

CLIP, fuel drain tube

1шт.

15

396515R1

CHECK VALVE

CONNECTOR, fuel return pipe check

1шт.

16

385747R91

COCK

VALVE ASSY, drain

1шт.

17

3056600R1

ADAPTER

1шт.

18

222-1003

TUBE NUT,5/16" Tube, 45 Degree Inv Fl

NUT, 1/2-20 inverted flared tube

4шт.

19

TUBE ASSY, fuel tank to fuel filter, use 27-1/2 inches of 5/16 OD copper tubing from 50 foot roll marked, 995062R1 and two nut, 137398

1шт.

20

396510R1

LOCK VALVE

VALVE, fuel tank shut-off

1шт.

21

119933

ADAPTER,3/8" NPT Male x 1/8" NPT Fem

3/8 x 1/8 reducing pipe

1шт.

22

222-1002

TUBE NUT,1/4" Tube, Inv Fl

NUT, 7/16-24 inverted flare tube

2шт.

23

392210R1

BUMPER, heat shield

1шт.

Выбрано товаров: 33