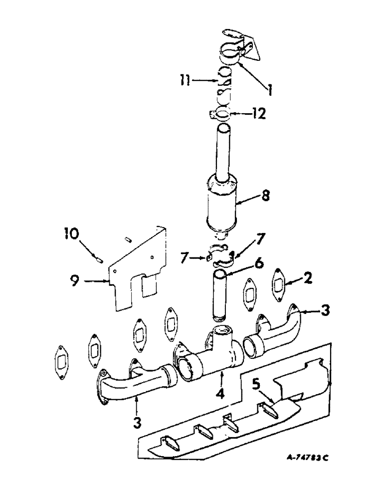
Запчасти Case IH 806 (D-15) - DIESEL ENGINE, INTAKE MANIFOLD AND EXHAUST SYSTEM (01) - ENGINE

Схема запчастей Case IH 806 - (D-15) - DIESEL ENGINE, INTAKE MANIFOLD AND EXHAUST SYSTEM (01) - ENGINE
3
10
8
11
7
6
12
7
3
2
5
9
4
1
FIT
1:1
100%

Артикул

Название

Примечание

Количество

1

321575R91

CAP

ASSY, exhaust

1шт.

1

391160R91

CAP

ASSY, exhaust, tractors with cab

1шт.

2

326523R1

MANIFOLD GASKET

GASKET, exhaust manifold

6шт.

3

326521R1

MANIFOLD

exhaust, front & rear

2шт.

250451R1

NUT

exhaust manifold stud

8шт.

4

326699R1

TUBE ASSY.,90.17mm Bore Dia

MANIFOLD, exhaust, center (Replaces 326699R2)

1шт.

250451R1

NUT

exhaust manifold stud

4шт.

5

345465R91

SHIELD ASSY, heat, D-361, Serial Range: 501-13612

1шт.

58516H

WASHER,17/32" x 1 1/16" x .095", HDN

shield

4шт.

6

383974R2

TUBE,17.8" Length

PIPE, exhaust

1шт.

7

384402R1

FASTENER

CLAMP, exhaust muffler

1шт.

102635

NUT,3/8"-16, G5

1шт.

179842

SPACER

3/8-16 x 1-3/8 hex-hd cap

1шт.

103321

LOCK WASHER,3/8"

WASHER, LOCK, 3/8"

1шт.

8

384345R92

MUFFLER

exhaust

1шт.

8

384345R92GV

MUFFLER

Value, Muffler

1шт.

9

385121R1

SHIELD, injection line

1шт.

179827

FRONT AXLE

1шт.

10

389522R1

SPACER, injection line shield

2шт.

11

391154R1

TUBE

EXTENSION, exhaust muffler, tractors with cab

1шт.

12

391156R1

CLAMP

exhaust muffler extension, tractors with cab

1шт.

17471R1

BOLT,Hex, 3/8" - 16 x 1 1/2"

3/8-16 x 1-1/2 hex-hd mach

1шт.

102635

NUT,3/8"-16, G5

1шт.

103321

LOCK WASHER,3/8"

WASHER, LOCK, 3/8"

1шт.

Выбрано товаров: 24