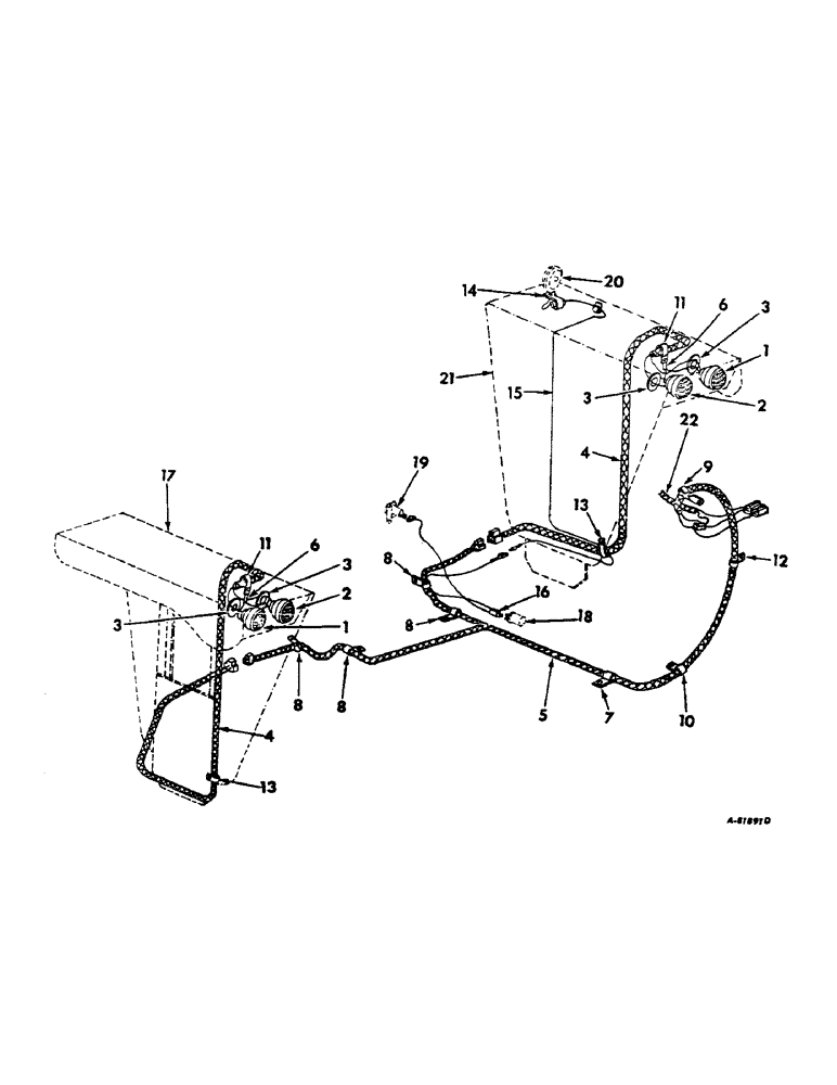
Запчасти Case IH 806 (G-35) - ELECTRICAL SYSTEM, ELECTRIC LIGHTING, FARMALL TRACTORS WITH DELUXE FLAT TOP FENDERS (06) - ELECTRICAL SYSTEMS

Схема запчастей Case IH 806 - (G-35) - ELECTRICAL SYSTEM, ELECTRIC LIGHTING, FARMALL TRACTORS WITH DELUXE FLAT TOP FENDERS (06) - ELECTRICAL SYSTEMS
4
19
6
14
11
8
9
2
13
1
8
7
5
8
17
13
16
2
1
10
22
4
18
3
3
3
20
21
15
8
11
6
3
12
FIT
1:1
100%

Артикул

Название

Примечание

Количество

391991R92

FENDER

PARTS ACCESSORY, deluxe fenders w/adjustable lights, for sheet metal components refer to deluxe flat top fendes w/adj headlights listing, section A

1шт.

1

388945R91

HEADLIGHT

LIGHT ASSY, head, only serviceable items are sealed beam unit, 373662R91 and rubber retainer, 676078R1

2шт.

120378

NUT,Hex, 1/2" - 13, Gr 5

NUT, 1/2"-13, G5

2шт.

120384

WASHER,1/2"

LOCK, 1/2"

2шт.

2

388946R91

LIGHT

ASSY, flood, only serviceable items are sealed beam unit, 373662R91 and rubber retainer, 676078R1

1шт.

120378

NUT,Hex, 1/2" - 13, Gr 5

NUT, 1/2"-13, G5

2шт.

120384

WASHER,1/2"

LOCK, 1/2"

2шт.

3

388947R1

RETAINER

head light

4шт.

4

388949R91

HARNESS

CABLE ASSY, fender lighting

2шт.

5

388948R91

HARNESS

ASSY, lighting cable

1шт.

6

374490R91

CABLE

ASSY, headlamp to ground junction

2шт.

7

383622R1

CLIP

lighting cable harness, on rear frame cover front mounting bolt

1шт.

8

384558R1

CLIP

lighting cable harness, on rear frame cover 3rd mounting bolt from front LH & RH side (2) on LH & RH axle carrier top front mounting bolt (2)

4шт.

496-21066

WASHER,16.6mm ID x 33.5mm OD x 3.8mm Thk

21/32 x 1-5/16 x .095

2шт.

9

363660R1

CLIP

lighting cable harness, twisted, on torgue amplifier handle support bracket bottom front bolt

1шт.

10

362120R1

CLAMP,9.53mm ID, 10.32mm Bolt Hole, P Type

CLIP, lighting cable harness, short, on rear frame cover LH front mounting bolt

1шт.

11

362121R1

CLIP

fender lighting cable, on LH & RH headlight panel

2шт.

88542

BOLT,Hex, 1/4"-20 x 1/2", Gr 5

1/4-10 x 1/2 C-Z hex-hd

2шт.

120375

NUT,Hex, 1/4" - 20, Gr 5

2шт.

492-11025

LOCK WASHER,1/4"

WASHER, LOCK, 1/4"

2шт.

12

362121R1

CLIP

fender lighting cable, on voltage regulator upper LH mounting bolt

1шт.

13

366460R1

CABLE CLIP

CLIP, fender lighting cable, short, on LH & RH fender support front mounting bolt

2шт.

9635082

NUT,5/16" - 18, Gr 5

5/16-18 hex.

2шт.

13-510

BOLT,Hex, 5/16" - 18 x 5/8", Gr 5, Full Thd

2шт.

14

358986R1

CABLE CLIP

CLIP, flashing light cable, on light mounting stud, not included in parts accessory

1шт.

15

394343R91

CABLE ASSY, flashing light, not included in parts accessor

1шт.

16

394131R91

CABLE ASSY, flashing light, not included in parts accessory

1шт.

106653

FUSE

cartridge type AGC-20

1шт.

17

REF

INSTRUCTION

FENDER ASSY, LH, refer to deluxe fenders listing, section A

1шт.

18

REF

INSTRUCTION

FLASHER ASSY, refer to starting and lighting listing, this section

1шт.

19

REF

INSTRUCTION

SOCKET ASSY, breakaway connector, refer to starting and lighting listing this section

1шт.

20

REF

INSTRUCTION

LIGHT ASSY, flasher warning, refer to starting and lighting listing, this section

1шт.

21

REF

INSTRUCTION

FENDER ASSY, RH, refer to deluxe fenders listing, section A

1шт.

22

REF

INSTRUCTION

HARNESS ASSY, rear main cable, refer to starting and lighting listing, this section

1шт.

Выбрано товаров: 34