Запчасти Case IH 806 (F-12) - HYDRAULIC SYSTEM, DRAFT CONTROL CYLINDER AND VALVE (07) - HYDRAULIC SYSTEM

Схема запчастей Case IH 806 - (F-12) - HYDRAULIC SYSTEM, DRAFT CONTROL CYLINDER AND VALVE (07) - HYDRAULIC SYSTEM
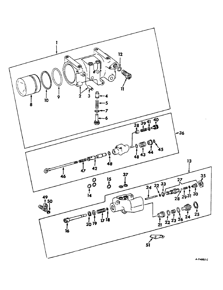
48
1
28
11
34
3
24
46
4
39
48
38
43
19
33
25
6
31
41
22
45
49
13
50
35
9
16
32
7
51
26
10
40
36
8
17
5
30
42
14
27
21
23
44
18
12
37
15
20
2
29
47
FIT
1:1
100%

Артикул

Название

Примечание

Количество

381376R98

CYLINDER & VALVE ASSY, draft control, Farmall tractor serial no. 33162 & below, International tractor serial no. 7100 & below

1шт.

391908R94

CYLINDER & VALVE ASSY, draft control, Farmall tractor serial no. 33163 & above, International tractor serial no. 7101 & above

1шт.

1

382596R93

CYLINDER

ASSY, draft control

1шт.

2

382597R21

CYLINDER BLOCK

CYLINDER ASSY, draft control

1шт.

3

382598R1

LARGE PIN

PIN, drop retarding lever

1шт.

4

385555R1

LOCK VALVE

POPPET, check valve

1шт.

5

385556R1

VALVE SPRING

SPRING, check valve

1шт.

6

385557R11

PLUG

ASSY, check valve

1шт.

7

364885R1

O-RING,0.097" Thk x 0.755" ID, -910, Cl 6, 90 Duro

for 5/8 OD tubing, check valve plug

1шт.

8

397229R1

PISTON

ASSY, draft control, replaces 382603R1

1шт.

9

382604R1

O-RING,4.35" ID x 0.21" Width

draft control piston

1шт.

10

382605R1

WASHER

WASHER, draft control piston o-ring backup

1шт.

11

382606R91

LOCK VALVE

VALVE ASSY, poppet relief, Farmall tractor serial no. 33162 & below, International tractor serial no. 7100 & below

1шт.

11

391906R91

LOCK VALVE

VALVE ASSY, poppet relief, Farmall tractor serial no. 33163 & above, International tractor serial no. 7101 & above

1шт.

12

380839R1

O-RING,0.103" Thk x 0.862" ID, -118, Cl 6, 90 Duro

poppet relief valve

1шт.

13

394445R91

NO LONGER SERVICED

VALVE ASSY, draft control, will work for 382607R92

1шт.

NLS

NO LONGER SERVICED

2шт.

179849

BOLT,Hex, 3/8" - 16 x 2 1/2", Gr 5

3/8-16 x 2-1/4 hex-hd cap, Used only w/valve, 382607R92

1шт.

103321

LOCK WASHER,3/8"

WASHER, LOCK, 3/8"

3шт.

179847

BOLT,Hex, 3/8" - 16 x 2", Gr 5

Used only w/valve, 394445R91 Hex, 3/8"-16 x 2", G5

1шт.

14

387926R2

RING

valve to cylinder small seal

3шт.

15

388591R1

RING

valve to cylinder large seal

1шт.

16

382610R11

ROD

ACTUATOR ASSY, valve spool

1шт.

17

376758R1

SPRING

valve spool

1шт.

18

376771R1

RING, SNAP

RING, actuator retaining

1шт.

19

376759R1

RETAINER

PLUG, spool bore

1шт.

20

303322R1

SNAP RING,1.00", Int, #100

Spool bore plug 1.00", Int, #100

1шт.

21

382612R1

VALVE

drop poppet

1шт.

22

346959R1

O-RING,0.103" Thk x 1.049" ID, -121, Cl 6, 90 Duro

1-1/16 x 1-1/4 x 3/32, drop poppet valve

1шт.

23

372649R1

SPRING

drop poppet valve

1шт.

24

382613R1

PLUG

drop poppet valve

1шт.

25

273026R1

SNAP RING,1.375", Int, #137

Ring, Snap, , drop poppet valve plug 1.375", Int, #137

1шт.

26

391733R1

O-RING,0.07" Thk x 1.114" ID, -24, Cl 6, 90 Duro

1-1/8 x 1-1/4 x 1/16, drop poppet valve plug

1шт.

27

382615R11

LOCK VALVE

SEAT ASSY, drop valve adjustable, Farmall tractor serial no. 33162 & below, International tractor serial no. 7100 & below

1шт.

27

391911R11

SEAT/SLOT

SEAT ASSY, drop valve adj, Farmall tractor serial no. 33163 & above, International tractor serial no. 7101 & above

1шт.

28

17006R1

BALL

3/16 cr-stl

1шт.

29

376765R1

SPRING

drop valve ball

1шт.

30

382616R1

SCREW,5/16" - 24 x 0.618"

PLUG, drop valve spring

1шт.

31

369375R1

O-RING,0.064" Thk x 0.239" ID, -902, Cl 6, 90 Duro

15/64 x 23/64 x 1/16

1шт.

32

3067183R1

O-RING,0.103" Thk x 0.424" ID, -11, Cl 6, 90 Duro

7/16 x 5/8 x 3/32, drop valve adj seat, inner

1шт.

33

391912R1

O-RING,0.737" ID x 0.103" Width

3/4 x 15/16 x 3/32, drop valve adj seat, outer

1шт.

34

382617R1

ROD

drop valve actuating

1шт.

35

382618R1

NUT

drop valve adj seat

1шт.

36

391913R91

VALVE

ASSY, drop control, also order lub tube, 385942R91

1шт.

NLS

NO LONGER SERVICED

1/4-20 x 1-1/2 hex-soc-hd cap

1шт.

179806

BOLT,Hex, 1/4" - 20 x 2 1/4", Gr 5

SCREW, 1/4-20 x 2-1/4 hex-hd cap

1шт.

103319

LOCK WASHER,1/4"

WASHER, LOCK, 1/4"

1шт.

37

350667R1

O-RING,0.103" Thk x 0.674" ID, -115, Cl 5, 75 Duro

11/16 x 7/8 x 3/32, drop control valve

2шт.

38

NSS

NOT SOLD SEPARAT

PISTON, drop control valve, not serviced separately, order valve assy, 391913R91

1шт.

39

NSS

NOT SOLD SEPARAT

SPRING, drop control valve, not serviced separately, order valve assy, 391913R91

1шт.

40

NSS

NOT SOLD SEPARAT

PLUG ASSY, spring retainer, not serviced separately, order valve assy, 391913R91

1шт.

41

O-RING, 7/16 x 9/16 x 1/16, spring retainer plug

1шт.

42

NSS

NOT SOLD SEPARAT

SPOOL, variable orifice, not serviced separately, order valve assy, 391913R91

1шт.

43

382626R1

SPRING

spool return

1шт.

44

384053R1

BUSHING

drop control valve

1шт.

45

384052R1

SNAP RING,#43, .337" Dia, E-Type

Ring, Retaining, , spool #43, .337" Dia, E-Type

1шт.

46

386006R1

ROD

spool actuating

1шт.

18411R1

NUT,#10-32, GB

no. 10-32 elastic stop

1шт.

446160

WASHER,#10

7/32 x 7/16 x .049

1шт.

47

53393D

SPRING

spool actuating rod

1шт.

48

606271C1

O-RING,0.103" Thk x 0.612" ID, -114, Cl 6, 90 Duro

5/8 x 13/16 x 3/32, drop control valve spool

1шт.

49

382629R11

LEVER

BELLCRANK ASSY, drop control valve

1шт.

NLS

NO LONGER SERVICED

PIN, 1/16 x 1/2 cot.

1шт.

446169

WIRE CONNECTOR,Female, 6 Pole

15/64 x 17/32 x .049

1шт.

50

384052R1

SNAP RING,#43, .337" Dia, E-Type

Ring, Retaining, , drop control valve bellcrank #43, .337" Dia, E-Type

1шт.

51

387414R1

ANCHOR

spring

1шт.

Выбрано товаров: 66