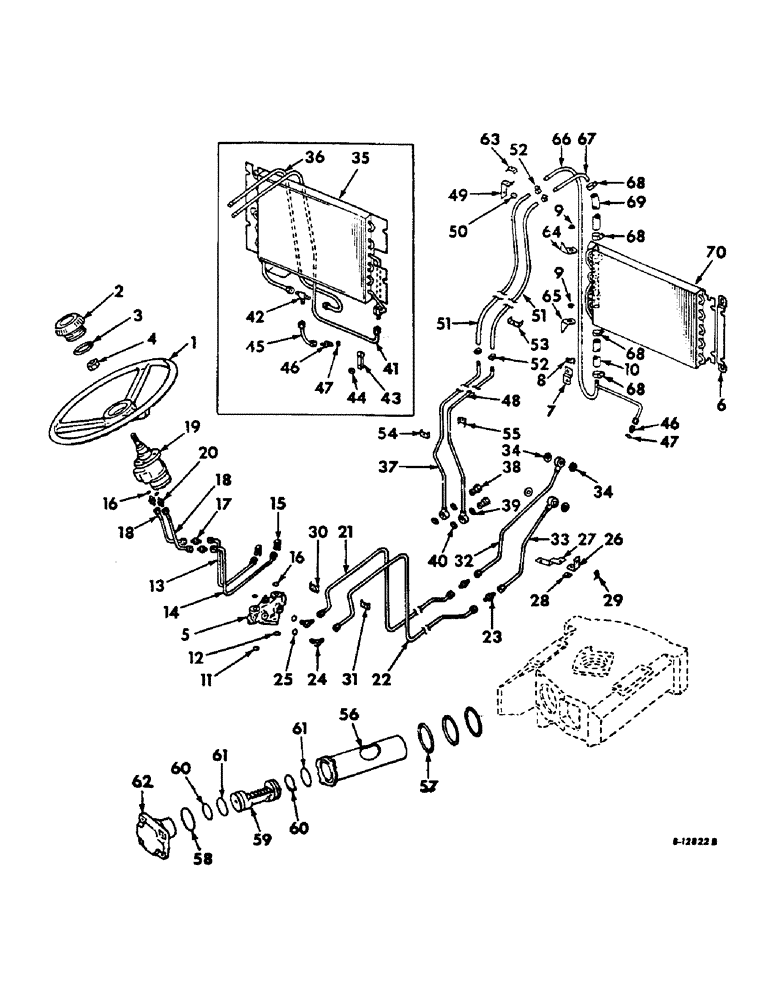
Запчасти Case IH 806 (J-02) - STEERING MECHANISM, POWER STEERING, FARMALL TRACTORS Steering Mechanism

Схема запчастей Case IH 806 - (J-02) - STEERING MECHANISM, POWER STEERING, FARMALL TRACTORS Steering Mechanism
3
64
46
51
24
20
68
48
15
25
21
49
47
59
33
19
69
9
55
12
70
47
34
18
7
44
29
35
16
4
13
8
68
61
63
60
36
5
11
1
41
66
23
42
26
10
58
28
60
27
65
17
57
30
6
68
45
54
37
2
14
46
62
39
22
50
53
67
32
43
38
34
52
16
9
18
61
68
52
40
56
51
31
FIT
1:1
100%

Артикул

Название

Примечание

Количество

1

385156R1

WHEEL (STEERING)

WHEEL, 16 in. dia steering

1шт.

1

385156R1GV

STEERING WHEEL

Value, Steering Wheel

1шт.

2

378395R1

CAP

steering wheel

1шт.

3

295204R1

O-RING,0.103" Thk x 2.8" ID, -149, Cl 5, 75 Duro

2-13/16 x 3 x 3/32, steering wheel cap

1шт.

4

F19646

LOCK NUT,13/16"-20, Thin

NUT, steering wheel

1шт.

5

396726R91

LOCK VALVE

VALVE ASSY, power steeing pilot, will work for 379645R93, for components see list of parts under details of power steering pilot valve

1шт.

179839

BOLT,Hex, 3/8" - 16 x 1", Gr 5

3/8-16 x 1-1/8 hex hd cap

3шт.

103321

LOCK WASHER,3/8"

WASHER, LOCK, 3/8"

3шт.

6

387326R1

SUPPORT, oil cooler, 12052 up

1шт.

14994R1

CARRIAGE BOLT,Sq Nk, 5/16" - 18 x 3/4", Gr 2

BOLT, CARRIAGE, Short NK, 5/16"-18 x 3/4", G2

2шт.

129-419

WING NUT,5/16"-18

NUT, 5/16-18 wing

2шт.

324235R1

12 PT SCREW,Flg, 3/8"-16 x 3/4"

SCREW, 3/8-16 x 3/4 twelve-pt cap

2шт.

Q397

WASHER

11/32 x 3/4 x .06

1шт.

7

387338R1

SUPPORT, oil cooler outlet pipe clamp, 12052 up

1шт.

179837

BOLT,Hex, 3/8" - 16 x 3/4", Gr 5

1шт.

8

341670R1

CLAMP, oil cooler outlet pipe, 12052 up

1шт.

109084

NUT,1/4"-20, G5

1шт.

179793

BOLT,Hex, 1/4" - 20 x 5/8", Gr 5, Full Thd

1шт.

9

387327R1

BUSHING

oil cooler pivot, 12052 up

2шт.

10

387329R1

HOSE, oil cooler pipe short, 12052 up

1шт.

11

369908R1

O-RING,0.103" Thk x 0.799" ID, -117, Cl 5, 75 Duro

13/16 x 1 x 3/32, pressure port

1шт.

12

362796R1

O-RING,0.924" ID x 0.103" Width

15/16 x 1-1/8 x 3/32, return port

1шт.

13

382588R11

PIPE

TUBE ASSY, valve to hand pump left port lower section

1шт.

14

382589R11

TUBE

ASSY, valve to hand pump right port, lower section

1шт.

15

9410977

ELBOW,90 Degree, 3/4"-16, 37 Degree x 3/4"-16, O-Ring

3/4-16 37 deg hyd flared tube, valve to hand pump tube

2шт.

16

570828R1

O-RING,0.087" Thk x 0.644" ID, -908, Cl 6, 90 Duro

.644 x .818 x .087

4шт.

17

9403216

HYD CONNECTOR,3/4"-16, 37 Degree

UNION, 3/4-16 37 deg cd or zn pltd, valve to hand pump tube

2шт.

ref #17 (P/N 403216) - new tubes have male end & female end. Connector will not be needed.

1шт.

18

382578R11

TUBE

ASSY, valve to hand pump, upper section

2шт.

19

382579R92

PUMP

ASSY, power steering hand, for components see list of parts under details of hydrostatic power steering hand pump

1шт.

179820

BOLT,Hex, 5/16" - 18 x 1 1/4", Gr 5

4шт.

115548

LOCK WASHER,Int Tooth, 5/16"

WASHER, LOCK, Int Tooth, 5/16"

4шт.

20

9410203

HYD CONNECTOR,3/4"-16, 37 Degree x 3/4"-16, O-Ring

CONNECTOR, 3/4-16 37 deg hyd flared, upper tube to hand pump

2шт.

21

384565R11

TUBE

ASSY, valve to bolster front port rear section, tractors w/serial no. 33162 & below

1шт.

21

396390R1

TUBE

ASSY, valve to bolster front port rear section, tractors w/serial no. 33163 & above

1шт.

22

384566R11

TUBE

ASSY, valve to bolster rear port rear section, tractors w/serial no. 33162 & below

1шт.

22

396392R1

TUBE

ASSY, valve to bolster rear port rear section, tractors w/serial no. 33163 & above

1шт.

23

9402786

UNION,9/16"-18, 37 Degree x 9/16"-18, 37 Degree

9/16-18 cd or zn-pltd 37 deg hyd flared tube

2шт.

24

9410976

ELBOW,90 Degree, 9/16"-18, 37 Degree x 9/16"-18, O-Ring

9/16-18 37 deg hyd flared tube adj str thd 90 deg, valve to bolster tube

2шт.

25

364839R1

O-RING,0.078" Thk x 0.468" ID, -906, Cl 6, 90 Duro

6-1, 90 Duro, .468" ID x .078" Thk, valve to bolster tube elbow

2шт.

26

384484R11

SUPPORT TUBE

SUPPORT ASSY, pressure tube

1шт.

102637

NUT,1/2"-13, G5

1шт.

179883

BOLT,Hex, 1/2" - 13 x 1 1/4", Gr 5

1шт.

27

384892R21

REINFORCEMENT ASSY, pressure tubes, diesel engine tractors

1шт.

102637

NUT,1/2"-13, G5

1шт.

179883

BOLT,Hex, 1/2" - 13 x 1 1/4", Gr 5

1шт.

28

51693D

BAR

WASHER, bevel front frame channel

1шт.

29

381394R1

CLAMP

pressure tube

1шт.

NLS

NO LONGER SERVICED

SCREW, 1/4-20 x 7/8 hex-hd cap

1шт.

103319

LOCK WASHER,1/4"

WASHER, LOCK, 1/4"

1шт.

30

384891R11

CLAMP

STRIP ASSY, hyd tube clamp

1шт.

179794

BOLT,Hex, 1/4" - 20 x 11/16"

SCREW, 1/4-20 x 11/16 hex-hd cap

1шт.

103319

LOCK WASHER,1/4"

WASHER, LOCK, 1/4"

1шт.

31

384891R1

CLAMP

STRIP, hyd tubes clamp

1шт.

32

384571R11

TUBE,0.375" OD, 20.61, 5.38" Length

ASSY, valve to bolster front port front section, tractors w/serial no. 33162 & below

1шт.

32

396398R1

TUBE

ASSY, valve to bolster front port front section, tractors w/serial no. 33163 & above

1шт.

ref #32 subs to 396398r2 with a female fitting. If you disregard the fitting between 32 & 21 the sub will work. Also can use tube 396390r1 1-18-99 cw.

1шт.

588099R1

WASHER

15/32 x 3/4 x 16 ga

1шт.

370922R1

SCREW,Hex, 7/16" - 20 x 1"

pressure tube union

1шт.

33

384572R11

TUBE,0.375" OD, 13.59, 5.28" Length

ASSY, valve to bolster rear port front section, tractors w/serial no. 33162 & below

1шт.

33

396508R1

TUBE

ASSY, valve to bloster rear port, tractors w/serial no. 33163 & above

1шт.

370922R1

SCREW,Hex, 7/16" - 20 x 1"

pressure tube union

1шт.

588099R1

WASHER

15/32 x 3/4 x 16 ga

1шт.

34

382997R1

O-RING,0.07" Thk x 0.489" ID, -14, Cl 6, 90 Duro

1/2 x 5/8 x 1/16, pressure tube union

4шт.

35

382641R91

COOLER ASSY, oil, Serial Range: 501-12051

1шт.

324235R1

12 PT SCREW,Flg, 3/8"-16 x 3/4"

SCREW, 3/8-16 x 3/4 twelve point counter bore

4шт.

20285H

WASHER

13/32 x 3/4 x 11 ga

4шт.

36

384584R11

PIPE ASSY, oil cooler outlet front, Serial Range: 501-12051

1шт.

37

385060R11

PIPE ASSY, oil cooler inlet rear, carbureted engine tractors 0.5" OD, 21.05, 8.75" Length

1шт.

37

384574R11

PIPE ASSY, oil cooler inlet rear, diesel engine tractors

1шт.

38

384577R1

NIPPLE, LUBE

PLUG, inlet union

2шт.

39

570828R1

O-RING,0.087" Thk x 0.644" ID, -908, Cl 6, 90 Duro

41/64 x 13/16 x 3/32, inlet union

2шт.

40

384578R1

O-RING,0.07" Thk x 0.801" ID, -19, Cl 6, 90 Duro

13/16 x 15/16 x 1/16, inlet union plug

2шт.

41

384583R11

PIPE ASSY, oil cooler inlet front, Serial Range: 501-12051

1шт.

42

384033R1

TEE, 37 deg flare reducing, Serial Range: 501-12051

1шт.

43

385022R1

CLAMP, oil cooler inlet front pipe support, Serial Range: 501-12051

1шт.

179841

BOLT,Hex, 3/8" - 16 x 1 1/4", Gr 5

3/8-16 x 1-1/4 hex-hd cap

1шт.

95-11041

WASHER,3/8"

(13/32 x 13/16 x .065) 3/8"

1шт.

44

SA2172

SPACER,3/8" Pipe x 1/2"

inlet front pipe support 501 to 12051

1шт.

45

384580R11

PIPE ASSY, relief 501 to 12051 0.375" OD, 2.57, 1.66" Length

1шт.

46

9410202

HYD CONNECTOR,9/16"-18, 37 Degree x 9/16"-18, O-Ring

CONNECTOR, 9/16-18 cd or zn-pltd 37 deg hyd flared tube short swivel, relief pipe

1шт.

47

364839R1

O-RING,0.078" Thk x 0.468" ID, -906, Cl 6, 90 Duro

6-1, 90 Duro, .468" ID x .078" Thk, for 3/8 pipe, relief pipe connector

1шт.

48

385061R11

PIPE ASSY, oil cooler outlet rear, carbureted engine tractors

1шт.

48

384579R11

PIPE ASSY, oil cooler outlet rear, diesel engine tractors

1шт.

49

384581R1

BRACKET, oil cooler pipes

1шт.

179816

BOLT,Hex, 5/16" - 18 x 3/4", Gr 5

1шт.

50

351549R1

WASHER

SPACER, oil cooler tube support

1шт.

51

384582R1

HOSE, oil cooler

2шт.

52

274085R91

HOSE CLAMP,#10, 0.56/1.06 Type F Worm

CLAMP, oil cooler hose, optional with 394101R91

4шт.

52

394101R91

CLAMP, oil cooler hose, optional with 274085R91

4шт.

53

384586R1

GUIDE

oil cooler hose

1шт.

1797811

SCREW, 5/16-18 x 7/16 hex-hd cap

1шт.

54

384855R11

CLAMP

ASSY, oil cooler rear pipes

1шт.

55

384855R1

CLAMP

oil cooler rear pipes

1шт.

179795

TILLAGE BLADE

SCREW, 1/4-20 x 3/4 hex-hd cap

1шт.

103319

LOCK WASHER,1/4"

WASHER, LOCK, 1/4"

1шт.

56

367805R2

SLEEVE CYLINDER

SLEEVE, steering cylinder

1шт.

57

254688R1

O-RING,0.21" Thk x 3.85" ID, -344, Cl 5, 75 Duro

3-7/8 x 4-1/4 x 3/16

3шт.

58

384349R1

O-RING,0.139" Thk x 3.734" ID, -240, Cl 6, 90 Duro

3-3/4 x 4 x 1/8

1шт.

59

379364R1

PISTON

power steering

1шт.

60

380910R1

O-RING,0.103" Thk x 2.987" ID, -151, Cl 5, 75 Duro

3 x 3-3/16 x 3/32

2шт.

61

378651R1

SEALING RING

RING, rack piston

2шт.

62

378652R1

HOUSING

COVER, housing end

1шт.

327202R1

BOLT

SCREW, 7/16-14 x 1-7/8 hex-hd cap

4шт.

183544R1

WASHER

15/32 x 7/8 x 1/8 hardened

4шт.

63

381448R1

CLAMP

oil cooler pipes

1шт.

109084

NUT,1/4"-20, G5

1шт.

179797

BOLT,Hex, 1/4" - 20 x 1", Gr 5

1шт.

103319

LOCK WASHER,1/4"

WASHER, LOCK, 1/4"

1шт.

64

387324R2

BRACKET, oil cooler mounting upper 12052 up

1шт.

324235R1

12 PT SCREW,Flg, 3/8"-16 x 3/4"

SCREW, 3/8-16 x 3/4 twelve-pt cap

1шт.

65

387325R2

BRACKET, oil cooler mounting loader 12052 up

1шт.

324235R1

12 PT SCREW,Flg, 3/8"-16 x 3/4"

SCREW, 3/8-16 x 3/4 twelve-pt cap

1шт.

66

387335R91

PIPE

ASSY, oil cooler outlet front 12052 up

1шт.

67

387328R1

PIPE, oil cooler inlet front 12052 up

1шт.

68

274085R91

HOSE CLAMP,#10, 0.56/1.06 Type F Worm

CLAMP, oil cooler hose, optional with 394101R91

4шт.

68

394101R91

CLAMP, oil cooler hose, optional with 274085R91

4шт.

69

387330R1

HOSE, oil cooler pipe long 12052 up

1шт.

70

387322R92

COOLER ASSY.

COOLER ASSY, oil, hinged type 12052 up

1шт.

Выбрано товаров: 119