Запчасти Case IH 826 (02-02) - MISCELLANEOUS, TOOL BOX Accessories & Attachments / Miscellaneous

Схема запчастей Case IH 826 - (02-02) - MISCELLANEOUS, TOOL BOX Accessories & Attachments / Miscellaneous
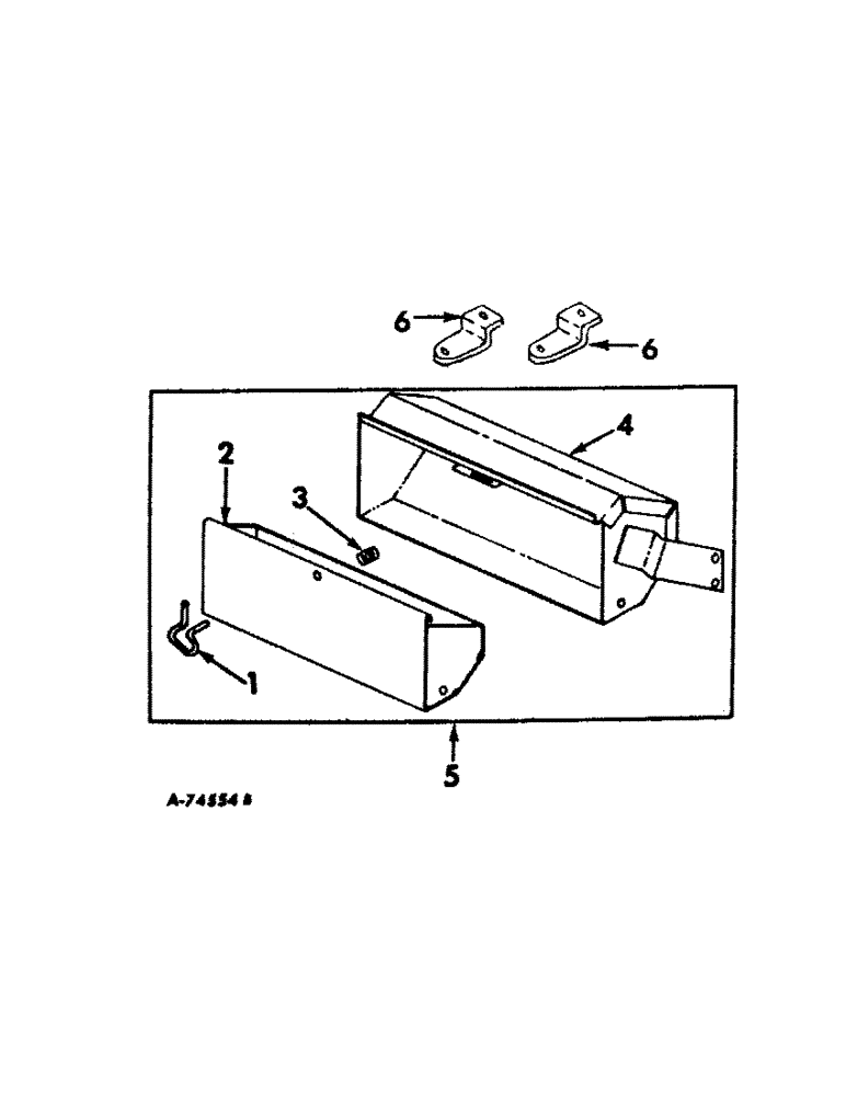
3
6
5
6
2
1
4
FIT
1:1
100%

Артикул

Название

Примечание

Количество

1

383114R1

HANDLE

tool box

1шт.

114856

PIN, 3/64 x 1/2 cotter

1шт.

103338

WASHER,#10

7/32 x 1/2 x 16 ga.

1шт.

2

383110R11

DRAWBAR ASSY, tool box

1шт.

113354

RIVET

3/16 x 1/4 ov-hd. tubular

2шт.

3

27452D

VALVE SPRING

SPRING, tool box handle

1шт.

4

383105R11

COVER ASSY, tool box, carbureted engine tractors

1шт.

4

383116R91

COVER ASSY, tool box, diesel engine tractors

1шт.

5

383104R91

TOOL BOX ASSY, carbureted engine tractors

1шт.

179814

SPACER

1шт.

179837

BOLT,Hex, 3/8" - 16 x 3/4", Gr 5

2шт.

95-11034

WASHER,1/4"

11/32 x 11/16 x .065

1шт.

95-11041

WASHER,3/8"

(13/32 x 13/16 x .065) 3/8"

1шт.

5

383115R91

BOX

TOOL BOX ASSY, diesel engine tractors

1шт.

W6075

SPACER, tool box mtg.

2шт.

9635082

NUT,5/16" - 18, Gr 5

5/16-18 hex

2шт.

6

527360R1

BRACKET, tool box mounting, international hydrostatic drive, diesel engine tractors

2шт.

179816

BOLT,Hex, 5/16" - 18 x 3/4", Gr 5

2шт.

9635082

NUT,5/16" - 18, Gr 5

5/16-18 hex

2шт.

6

530926R2

BRACKET, tool box, diesel engine tractors w/cab

2шт.

179816

BOLT,Hex, 5/16" - 18 x 3/4", Gr 5

2шт.

9635082

NUT,5/16" - 18, Gr 5

5/16-18 hex

2шт.

385551R92

PARTS ACCESSORY, tool box

1шт.

Выбрано товаров: 23