Запчасти Case IH HYDRO 186 (08-15) - ELECTRICAL, IMPLEMENT ELECTRIC REMOTE CONTROL (06) - ELECTRICAL

Схема запчастей Case IH HYDRO 186 - (08-15) - ELECTRICAL, IMPLEMENT ELECTRIC REMOTE CONTROL (06) - ELECTRICAL
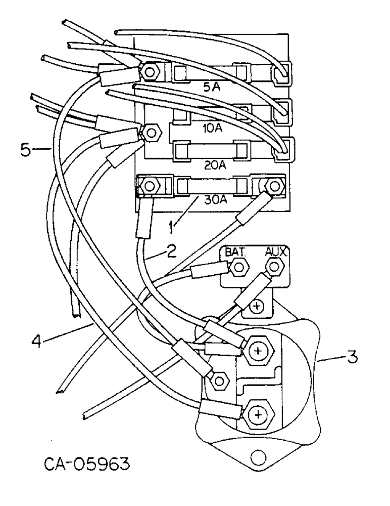
3
4
5
1
2
FIT
1:1
100%

Артикул

Название

Примечание

Количество

72925C91

PACKAGE

PARTS ACCESSORY, implement electric remote control, tractor w/cab

1шт.

72926C91

PARTS ACCESSORY, implement electric remote control, tractor w/rops, for use w/agricultural implement equipped with electric remote control, consists of

1шт.

1

9426331

FUSE CARTRIDGE,30 Amp, Type 3AG

FUSE, cartridge type 3 AG 30 amp, color code light green

1шт.

2

117620C1

CABLE

ASSY, solenoid switch to 30 amp fuse block terminal

1шт.

3

107655C1

SOLENOID SWITCH

SWITCH ASSY, solenoid, tractor w/rops

1шт.

88542

BOLT,Hex, 1/4"-20 x 1/2", Gr 5

1/4 x 1/2 type 5

2шт.

492-11025

LOCK WASHER,1/4"

WASHER, LOCK, 1/4"

2шт.

120375

NUT,Hex, 1/4" - 20, Gr 5

2шт.

80681

LOCK WASHER,5/16"

WASHER, LOCK, 5/16"

2шт.

120614

NUT,Hex, #10 - 32

NUT, #10-32

1шт.

120217

LOCK WASHER,#10

WASHER, LOCK, #10

1шт.

4

111323C1

CABLE

ASSY, solenoid switch to fuse block key switch term., tractor w/rops

1шт.

5

111322C1

CABLE

ASSY, solenoid switch to fuse block battery terminal, tractor w/rops, instructions, implement electric remote control installing (NSS)

1шт.

Выбрано товаров: 13