Запчасти Case IH HYDRO 186 (10-12) - HYDRAULIC, POWER STEERING, TRACTOR WITH TRICYCLE FRONT UPPER BOLSTER (07) - HYDRAULICS

Схема запчастей Case IH HYDRO 186 - (10-12) - HYDRAULIC, POWER STEERING, TRACTOR WITH TRICYCLE FRONT UPPER BOLSTER (07) - HYDRAULICS
4
8
15
8
13
16
13
2
6
18
8
11
7
10
14
9
5
1
10
7
10
19
17
6
12
3
19
8
14
FIT
1:1
100%

Артикул

Название

Примечание

Количество

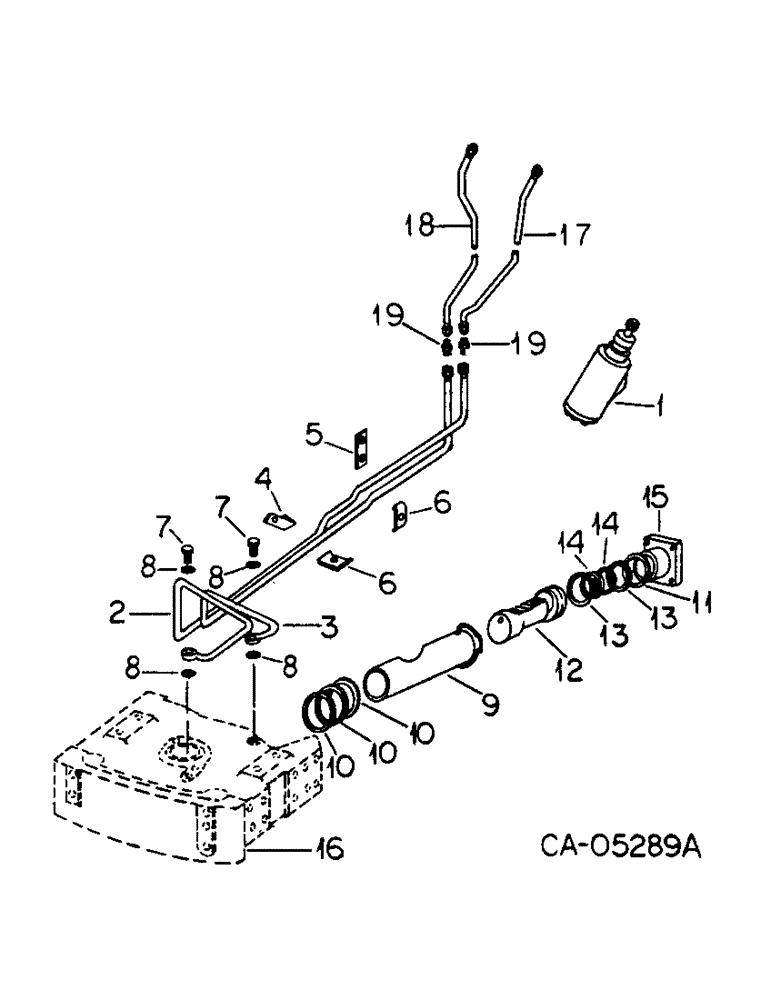
1

1263446C91

PUMP

ASSY, hyd power steering hand, replaces 224675C91, refer to hyd power steering hand pump this group for list of components

1шт.

1

1263446C91R

REMAN-STEERING VALVE

HYDRO 186 INTERNATIONAL DIESEL TRACTOR, ASSY, hyd power steering hand (1/72-12/78)

1шт.

1

1263446C91C

CORE-STEERING VALVE

Return Number

1шт.

179820

BOLT,Hex, 5/16" - 18 x 1 1/4", Gr 5

4шт.

103320

LOCK WASHER,5/16"

WASHER, LOCK, 5/16"

4шт.

2

104759C1

TUBE

ASSY, front port

1шт.

3

104757C1

HYD TUBE

TUBE ASSY, rear port

1шт.

4

70326C1

STRAP ASSY, tube front

1шт.

5

70327C1

BRACKET ASSY, tube

1шт.

6

535307R1

CLAMP

tube

2шт.

103319

LOCK WASHER,1/4"

WASHER, LOCK, 1/4"

2шт.

179797

BOLT,Hex, 1/4" - 20 x 1", Gr 5

2шт.

179817

BOLT,Hex, 5/16" - 18 x 7/8", Gr 5, Full Thd

2шт.

588099R1

WASHER

15/32 x 3/4 x 22 ga

2шт.

7

370922R1

SCREW,Hex, 7/16" - 20 x 1"

pressure tube union

2шт.

8

382997R1

O-RING,0.07" Thk x 0.489" ID, -14, Cl 6, 90 Duro

1/2 x 5/8 x 1/16

4шт.

9

367805R2

SLEEVE CYLINDER

SLEEVE, steering cylinder

1шт.

10

254688R1

O-RING,0.21" Thk x 3.85" ID, -344, Cl 5, 75 Duro

3-7/8 x 4-1/4 x 3/16, steering cylinder sleeve

3шт.

11

384349R1

O-RING,0.139" Thk x 3.734" ID, -240, Cl 6, 90 Duro

3-3/4 x 4 x 1/8

1шт.

12

379364R1

PISTON

power steering

1шт.

13

380910R1

O-RING,0.103" Thk x 2.987" ID, -151, Cl 5, 75 Duro

3 x 3-3/16 x 3/32, rack seal

2шт.

14

378651R1

SEALING RING

RING, rack piston

2шт.

15

378652R1

HOUSING

COVER, housing end

1шт.

183544R1

WASHER

hardened

4шт.

327202R1

BOLT

SCREW, 7/16-14 x 1-7/8 hex-hd cap

4шт.

16

BOLSTER ASSY, upper, refer to tricycle front upper bolster group

14шт.

17

104457C1

HYD TUBE

TUBE ASSY, right turn strg upper

1шт.

18

104455C1

TUBE

ASSY, left turn strg upper

1шт.

19

9402786

UNION,9/16"-18, 37 Degree x 9/16"-18, 37 Degree

3/8 C-Z hyd flared tube

2шт.

Выбрано товаров: 29