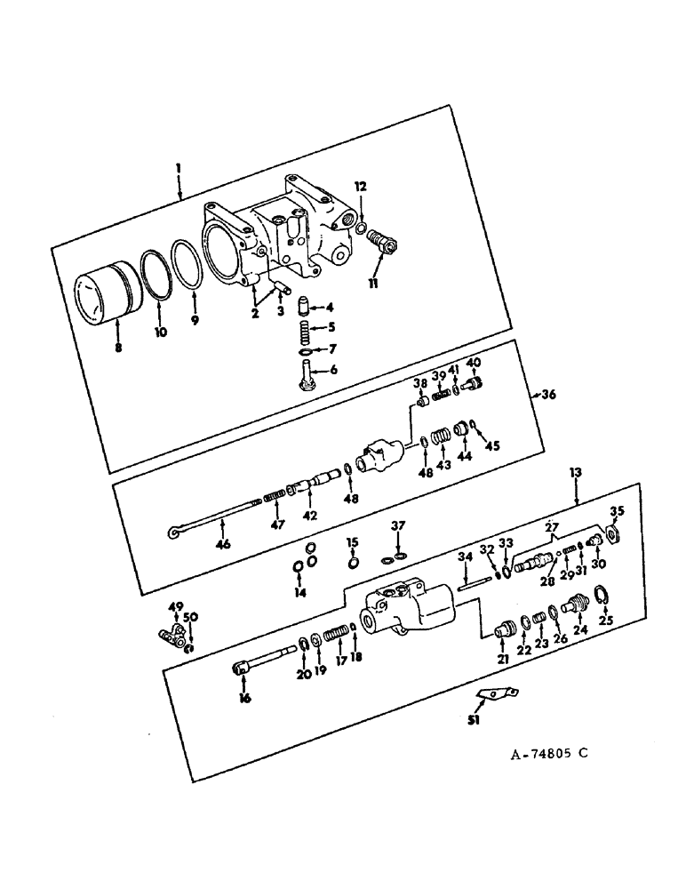
Запчасти Case IH HYDRO 186 (10-24) - HYDRAULIC, DRAFT CONTROL CYLINDER AND VALVE, TRACTORS WITH HI-CLEAR, H186 WITH S/N 11999 AND BELOW (07) - HYDRAULICS

Схема запчастей Case IH HYDRO 186 - (10-24) - HYDRAULIC, DRAFT CONTROL CYLINDER AND VALVE, TRACTORS WITH HI-CLEAR, H186 WITH S/N 11999 AND BELOW (07) - HYDRAULICS
39
16
35
21
23
17
18
50
45
32
19
51
6
24
44
48
29
22
40
3
2
7
15
9
49
43
36
27
46
11
1
4
5
26
34
38
33
31
42
12
30
8
41
28
25
47
13
10
20
48
37
14
FIT
1:1
100%

Артикул

Название

Примечание

Количество

1

60527C92

CYLINDER

ASSY, draft control

1шт.

2

382597R21

CYLINDER BLOCK

CYLINDER ASSY, draft control

1шт.

3

382598R1

LARGE PIN

PIN, drop retarding lever

1шт.

4

385555R1

LOCK VALVE

POPPET, check valve

1шт.

5

385556R1

VALVE SPRING

SPRING, check valve

1шт.

6

385557R1

PLUG ASSY, check valve

1шт.

7

364885R1

O-RING,0.097" Thk x 0.755" ID, -910, Cl 6, 90 Duro

3/4 x 15/16 x 3/32, check valve plug

1шт.

8

397229R1

PISTON

ASSY, draft control

1шт.

9

382604R1

O-RING,4.35" ID x 0.21" Width

draft control piston

1шт.

10

382605R2

WASHER

draft control piston o-ring back-up

1шт.

11

60517C92

VALVE

ASSY, poppet relief

1шт.

12

380839R1

O-RING,0.103" Thk x 0.862" ID, -118, Cl 6, 90 Duro

poppet relief valve

1шт.

13

394445R95

LOCK VALVE

VALVE ASSY, draft control

1шт.

NLS

NO LONGER SERVICED

2шт.

179847

BOLT,Hex, 3/8" - 16 x 2", Gr 5

1шт.

103321

LOCK WASHER,3/8"

WASHER, LOCK, 3/8"

2шт.

14

387926R2

RING

valve to cylinder small seal

3шт.

15

388591R1

RING

valve to cylinder large seal

1шт.

16

382610R11

ROD

ACTUATOR ASSY, valve spool

1шт.

17

133702C1

SPRING

valve spool, replaces 376758R1

1шт.

18

376771R1

RING, SNAP

RING, actuator retaining

1шт.

19

376759R1

RETAINER

PLUG, spool bore

1шт.

20

303322R1

SNAP RING,1.00", Int, #100

Spool bore plug 1.00", Int, #100

1шт.

21

382612R3

VALVE

drop poppet

1шт.

22

403618R1

O-RING,26.64mm ID x 2.62mm Width

drop poppet valve

1шт.

23

372649R1

SPRING

drop poppet valve

1шт.

24

382613R1

PLUG

drop poppet valve

1шт.

25

273026R1

SNAP RING,1.375", Int, #137

Ring, Snap, , drop poppet valve plug 1.375", Int, #137

1шт.

26

391733R1

O-RING,0.07" Thk x 1.114" ID, -24, Cl 6, 90 Duro

1-1/8 x 1-1/4 x 1/16, drop poppet valve plug

1шт.

27

391911R12

LOCK VALVE

SEAT ASSY, drop valve adjustable

1шт.

28

17006R1

BALL

3/16 cr-stl

1шт.

29

133701C1

VALVE SPRING

SPRING, drop valve ball, replaces 376765R1

1шт.

30

382616R1

SCREW,5/16" - 24 x 0.618"

PLUG, drop valve spring

1шт.

31

369375R1

O-RING,0.064" Thk x 0.239" ID, -902, Cl 6, 90 Duro

16/64 x 23/64 x 1/16

1шт.

32

3067183R1

O-RING,0.103" Thk x 0.424" ID, -11, Cl 6, 90 Duro

7/16 x 5/8 x 3/32, drop valve adj seat inner

1шт.

33

391912R1

O-RING,0.737" ID x 0.103" Width

3/4 x 16/16 x 3/32, drop valve adj seat outer

1шт.

34

382617R1

ROD

drop valve actuating

1шт.

35

382618R1

NUT

drop valve adj seat

1шт.

36

391913R91

VALVE

ASSY, drop control

1шт.

NLS

NO LONGER SERVICED

1/4-20 x 1-1/2 hex-soc-hd cap

1шт.

445568

BOLT,Hex, 1/4"-20 x 2 1/4", G8

SCREW, 1/4-20 x 2-1/4 hex-hd cap

1шт.

103319

LOCK WASHER,1/4"

WASHER, LOCK, 1/4"

1шт.

37

21433R1

O-RING,0.103" Thk x 0.674" ID, -115, Cl 6, 90 Duro

11/16 x 7/8 x 3/32, drop control valve

2шт.

38

PISTON, drop control valve, not serviced separately, order valve assy, 391913R91

1шт.

39

SPRING, drop control valve, not serviced separately, order valve assy, 391913R91

1шт.

40

PLUG ASSY, spring retainer, not serviced separately, order valve assy, 391913R91

1шт.

41

O-RING, 7/16 x 9/16 x 1/16, not serviced separately, order valve assy, 391913R91

1шт.

42

SPOOL, variable orifice, not serviced separetely, order valve assy, 391913R91

1шт.

43

382626R1

SPRING

spool return

1шт.

44

384053R1

BUSHING

drop control valve

1шт.

45

384052R1

SNAP RING,#43, .337" Dia, E-Type

Ring, Retaining, , spool #43, .337" Dia, E-Type

1шт.

46

386006R1

ROD

spool actuating

1шт.

18411R1

NUT,#10-32, GB

no. 10-32 elastic stop

1шт.

446160

WASHER,#10

7/32 x 7/16 x .049

1шт.

47

53393D

SPRING

spool actuating rod

1шт.

48

(Not used in this application)

1шт.

49

382629R1

BELLCRANK ASSY, drop control valve

1шт.

432-48

COTTER PIN,1/16" x 1/2"

PIN, 1/16 x 1/2 cot

1шт.

446169

WIRE CONNECTOR,Female, 6 Pole

15/64 x 17/32 x .049

1шт.

50

384052R1

SNAP RING,#43, .337" Dia, E-Type

Ring, Retaining, , drop control valve bellcrank #43, .337" Dia, E-Type

1шт.

51

387414R1

ANCHOR

spring

1шт.

103321

LOCK WASHER,3/8"

WASHER, LOCK, 3/8"

1шт.

401361R91

STRIPPER PACKAGE

1шт.

Выбрано товаров: 63