Запчасти Case IH HYDRO 186 (10-26) - HYDRAULIC, DRAFT CONTROL CYLINDER AND VALVE, H186 WITH SERIAL NO. 12000 AND ABOVE (07) - HYDRAULICS

Схема запчастей Case IH HYDRO 186 - (10-26) - HYDRAULIC, DRAFT CONTROL CYLINDER AND VALVE, H186 WITH SERIAL NO. 12000 AND ABOVE (07) - HYDRAULICS
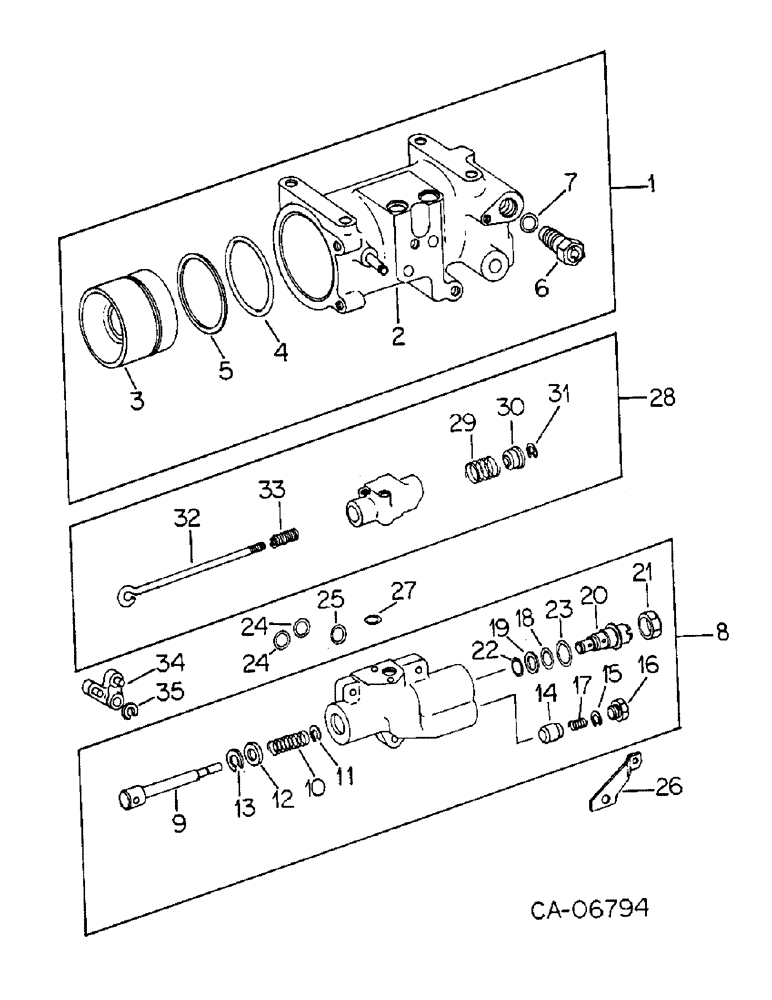
8
30
12
22
18
25
28
23
1
3
11
34
21
17
29
32
7
13
20
4
10
6
24
33
35
26
16
19
9
15
31
27
2
24
5
14
FIT
1:1
100%

Артикул

Название

Примечание

Количество

1

127871C92

CYLINDER

ASSY, draft control

1шт.

2

127870C2

NO LONGER SERVICED

CYLINDER ASSY, draft control

1шт.

3

397229R1

PISTON

ASSY, draft control cyl

1шт.

4

382604R1

O-RING,4.35" ID x 0.21" Width

4-3/8 x 4-3/4 x 3/16, draft control piston

1шт.

5

382605R2

WASHER

draft control piston o-ring backup

1шт.

6

60517C92

VALVE

ASSY, poppet relief

1шт.

7

380839R1

O-RING,0.103" Thk x 0.862" ID, -118, Cl 6, 90 Duro

7/8 x 1-1/16 x 3/32

1шт.

179843

BOLT,Hex, 3/8" - 16 x 1 1/2", Gr 5

3шт.

103321

LOCK WASHER,3/8"

WASHER, LOCK, 3/8"

3шт.

8

127834C91

CONTROL VALVE

VALVE ASSY, draft control

1шт.

9

123258C1

VALVE

ASSY, spool

1шт.

10

133702C1

SPRING

valve spool

1шт.

11

376771R1

RING, SNAP

RING, actuator retaining

1шт.

12

376759R1

RETAINER

PLUG, spool bore

1шт.

13

303322R1

SNAP RING,1.00", Int, #100

Spool bore plug 1.00", Int, #100

1шт.

14

123260C1

VALVE

check poppet

1шт.

15

364885R1

O-RING,0.097" Thk x 0.755" ID, -910, Cl 6, 90 Duro

7/8 tube, check poppet valve plug

1шт.

16

395926R1

PLUG

check poppet valve

1шт.

17

382310R1

SPRING

check poppet valve

1шт.

18

383024R1

O-RING,0.07" Thk x 0.676" ID, -17, Cl 6, 90 Duro

11/16 x 13/16 x 1/16, drop valve

2шт.

19

123263C1

WASHER

drop valve o-ring back-up

1шт.

20

127835C92

VALVE

ASSY, drop, refer to drop valve assy this group for list of components

1шт.

21

9410062

LOCK NUT,Blkhd, 1 1/16"-12

NUT, 1-1/16 adj fitting lock

1шт.

22

392382R1

O-RING,0.551" ID x 0.07" Width

9/16 x 11/16 x 1/16

1шт.

23

368269R1

O-RING,0.116" Thk x 0.924" ID, -912, Cl 6, 90 Duro

3/4 tube

1шт.

24

387926R2

RING

valve to cyl small seal

2шт.

25

388591R1

RING

valve to cyl large seal

1шт.

26

127882C1

ANCHOR

spring

1шт.

27

21433R1

O-RING,0.103" Thk x 0.674" ID, -115, Cl 6, 90 Duro

11/16 x 7/8 x 3/32, drop control valve

1шт.

28

391913R91

VALVE

ASSY, drop control

1шт.

138204

SCREW,Hex Skt, 1/4" - 20 x 1 1/2"

1/4 x 1-1/2 pln h/shd cap

1шт.

445568

BOLT,Hex, 1/4"-20 x 2 1/4", G8

1/4 x 2-1/4 pln type 8

1шт.

103319

LOCK WASHER,1/4"

WASHER, LOCK, 1/4"

1шт.

29

382626R1

SPRING

spool return

1шт.

30

384053R1

BUSHING

drop control valve

1шт.

31

384052R1

SNAP RING,#43, .337" Dia, E-Type

Ring, Retaining, , spool #43, .337" Dia, E-Type

1шт.

32

386006R1

ROD

spool actuating

1шт.

446160

WASHER,#10

.219 x .438 x .036 pln

1шт.

18411R1

NUT,#10-32, GB

no. 10-NF pln P/T lock type 5

1шт.

33

53393D

SPRING

spool actuating rod

1шт.

34

382629R11

LEVER

BELLCRANK ASSY, drop control valve

1шт.

103361

PIN, SPLIT (COTTER)

PIN, 1/16 x 1/2 pln cot

1шт.

495-81252

WASHER,#12

.234 x .531 x .036 pln

1шт.

35

384052R1

SNAP RING,#43, .337" Dia, E-Type

Ring, Retaining, , drop control bellcrank #43, .337" Dia, E-Type

1шт.

Выбрано товаров: 44