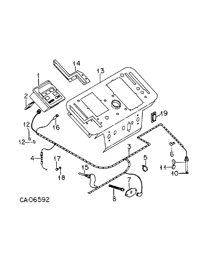
Запчасти Case IH HYDRO 186 (11-04) - INSTRUMENTS, DIGITAL DATA GAUGE, HYDRO 186 TRACTORS WITH SERIAL NO. 10055 AND ABOVE Instruments

Схема запчастей Case IH HYDRO 186 - (11-04) - INSTRUMENTS, DIGITAL DATA GAUGE, HYDRO 186 TRACTORS WITH SERIAL NO. 10055 AND ABOVE Instruments
4
15
12
1
2
18
6
14
10
9
5
7
11
13
16
12
8
19
3
17
FIT
1:1
100%

Артикул

Название

Примечание

Количество

1

1265585C2

GAUGE

digital data center, English or metric, also order the proper product graphic, replaces gauges, 121877C1 and 1252478C1

1шт.

1

1935076C1

REMAN-INSTR CLUSTER

HYDRO 186 INTERNATIONAL DIESEL TRACTOR, SERIAL NO. 10055 AND ABOVE (1/72-12/78), Reman For New P/N 1265585C2

1шт.

1

1935077C1

CORE-CLUSTER, INSTR

Return Number

1шт.

103957C1

NUT

j-shape

2шт.

27076R1

SCREW,Cross Oval Hd, #10 x 1"

no. 10-16 x 1 PHC O/HDCR tap

2шт.

131141C1

PRODUCT GRAPHIC

digital data gauge, used w/gauges, 121877C1 and 1252478C1

1шт.

1265520C2

PRODUCT GRAPHIC

digital data gauge, MPH, English, used only w/gauge, 1265585C2

1шт.

1265521C2

PRODUCT GRAPHIC

digital data gauge, km/h, metric, used only w/gauge, 1265585C2

1шт.

2

131111C1

REGULATOR

gear ratio plug-in, for tractors w/o hi clear

1шт.

2

131112C1

REGULATOR, gear ratio plug-in, for tractors w/hi clear

1шт.

3

131383C2

HARNESS

ASSY, digital data gauge

1шт.

4

223-36

FUSE,2 Amp, Type 3AG

cartridge type 2 amp

1шт.

5

289862C1

CABLE TIE,3/16" x 7"

STRAP, wiring

12шт.

6

366460R1

CABLE CLIP

CLIP, harness

1шт.

7

121786C2

COVER

RPM transducer mtg

1шт.

179795

TILLAGE BLADE

1/4 x 3/4 pln type 5

2шт.

8

130908C2

TRANSMITTER

RPM transducer

1шт.

138506

LOCK WASHER,Ext Tooth, 3/4"

WASHER, 3/4 ext lock

1шт.

9

121869C2

TRANSMITTER

mph transducer

1шт.

138502

WASHER,Ext Tooth, 5/8"

5/8 ext lock

1шт.

10

350429R1

O-RING,0.103" Thk x 0.612" ID, -114, Cl 5, 75 Duro

5/8 x 13/16 x 3/32

1шт.

11

343828R1

PLUG,Cup, 1 13/16"

1-13/16 cup, speedometer drive opening rear front cover

1шт.

12

432327

HOLE PLUG BUTTON,1"

PLUG, 1 button, firewall

2шт.

13

137864C92

INSTRUMENT PANEL

PANEL ASSY, instrument

1шт.

14

137872C2

PLATE

shift guide

1шт.

15

130898C2

ELECTRICAL GAUGE

GAGE, pyrometer thermocouple

1шт.

16

131404C91

INDICATOR LIGHT

LIGHT ASSY, exhaust gas termperature

1шт.

17

445096

PLUG

7/8-18 hex-hd, mech tach drive adapter opening

1шт.

18

59658D

WASHER,22.62mm ID x 32.54mm OD x 1.72mm Thk

GASKET, mech tach drive adapter plug

1шт.

19

141879C1

PLUG

aux lighting switch, for tractors not equipped w/rear fender aux lighting

1шт.

27571R1

SELF-TAP SCREW,Cross Pan Hd, #6 x 1/2"

SCREW, no. 6-20 x 1/2 PHC P/HDCR tap

2шт.

Выбрано товаров: 31