Запчасти Case IH HYDRO 186 (07-12) - DRIVE TRAIN, MULTIPLE CONTROL VALVE (04) - Drive Train

Схема запчастей Case IH HYDRO 186 - (07-12) - DRIVE TRAIN, MULTIPLE CONTROL VALVE (04) - Drive Train
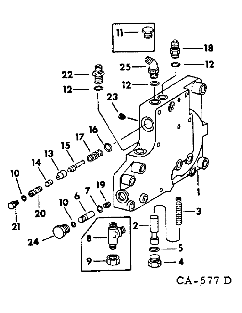
17
12
10
16
21
9
3
18
25
8
15
13
11
19
24
1
23
2
7
6
4
5
12
14
20
12
10
22
FIT
1:1
100%

Артикул

Название

Примечание

Количество

1

406478R94

BODY

ASSY, multiple control valve, composed of body, multiple control valve (NSS)

1шт.

384116R1

PIN

5/16 x 9/16 dowel

2шт.

20556R1

DOWEL,1/2" x 3/4"

PIN, 1/2 x .750 pln hdn-dowel

2шт.

123060C2

PLUG

ORIFICE, flow control valve, flow control (NSS)

1шт.

2

VALVE, flow control, not serviced separately, order body assy, 406478R94

1шт.

3

379211R1

SPRING

flow control valve

1шт.

4

9410360

PLUG

7/8-14 C-Z str thd o-ring boss

1шт.

5

364885R1

O-RING,0.097" Thk x 0.755" ID, -910, Cl 6, 90 Duro

3/4 x 15/16 x 3/32

1шт.

6

384443R92

VALVE

ASSY, safety, 2000 PSI

1шт.

6

384444R92

VALVE

ASSY, safety, 1500 PSI, tractors w/tricycle power steering bolster attachment

1шт.

7

702788R1

O-RING,0.103" Thk x 0.362" ID, -110, Cl 6, 90 Duro

3/8 x 9/16 x 3/32

1шт.

8

(Not used in this application)

1шт.

9

(Not used in this application)

1шт.

10

570828R1

O-RING,0.087" Thk x 0.644" ID, -908, Cl 6, 90 Duro

.644 x .818 x .087

2шт.

11

(Not used in this application)

1шт.

12

364839R1

O-RING,0.078" Thk x 0.468" ID, -906, Cl 6, 90 Duro

6-1, 90 Duro, .468" ID x .078" Thk

3шт.

13

406482R2

VALVE

POPPET, servo reg valve

1шт.

14

406483R1

SEAT

servo reg valve

1шт.

15

406486R2

GUIDE

spring

1шт.

16

406487R1

SPRING WASHER

spring guide

1шт.

17

406488R2

SPRING

servo reg

1шт.

18

527357R1

LOCK VALVE

VALVE ASSY, brake check

1шт.

19

123060C2

PLUG

ORIFICE, flow control

1шт.

20

406489R1

STUD

ash

1шт.

21

406490R1

NUT

lock

1шт.

22

9410202

HYD CONNECTOR,9/16"-18, 37 Degree x 9/16"-18, O-Ring

UNION, 9/16-18 37 deg hyd flare tube short swivel

1шт.

23

538651R1

SIEVE

STRAINER, servo flow

1шт.

24

536855R1

PLUG

o-ring boss 1/2 OD tube

1шт.

25

615667C1

ELBOW,90 Degree, 3/4"-16, 37 Degree x 9/16"-18, O-Ring

3/4-16 37 deg hyd flared tube adj str thd 90 deg

1шт.

Выбрано товаров: 29