Запчасти Case IH HYDRO 186 (07-15) - DRIVE TRAIN, DRIVE CONTROL VALVE (04) - Drive Train

Схема запчастей Case IH HYDRO 186 - (07-15) - DRIVE TRAIN, DRIVE CONTROL VALVE (04) - Drive Train
18
14
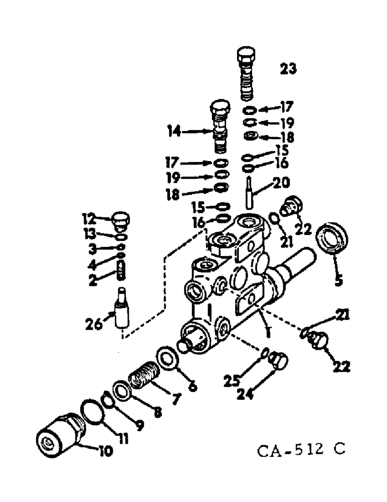
1
21
5
25
10
2
7
4
23
19
26
6
22
8
11
15
17
3
17
16
9
21
13
12
24
22
16
20
19
15
18
FIT
1:1
100%

Артикул

Название

Примечание

Количество

123055C93

VALVE

ASSY, drive control

1шт.

1

BODY ASSY, drive control, not serviced separately, order valve assy, 123055C93

1шт.

529850R1

PLUG, pressure flush type

1шт.

2

400454R1

SPRING

1шт.

3

875777R1

SNAP RING,#25, Ext

Ring, Snap, #25, Ext

1шт.

4

401291R1

SPRING WASHER

valve pin

1шт.

5

381232R91

OIL SEAL

oil

1шт.

6

398693R1

WASHER

1шт.

7

133367C1

SPRING, shuttle valve centering, replaces 398733R1

1шт.

8

398694R1

WASHER

1шт.

9

398700R1

SNAP RING,#56, .524", Ext

RING, retaining

1шт.

10

398692R1

PLUG

drive control valve

1шт.

11

297459R1

O-RING,0.116" Thk x 1.048" ID, -914, Cl 6, 90 Duro

1-3/64 x 1-7/32 x 7/64

1шт.

12

533567R1

PLUG

9/16-18 str-thd o-ring boss

1шт.

13

364839R1

O-RING,0.078" Thk x 0.468" ID, -906, Cl 6, 90 Duro

6-1, 90 Duro, .468" ID x .078" Thk

1шт.

14

404497R3

VALVE

ASSY, capsule

8шт.

15

375271R1

O-RING,0.426" ID x 0.07" Width

7/16 x 9/16 x 1/16

1шт.

16

398699R1

BACK-UP RING

RING, back up

1шт.

17

570828R1

O-RING,0.087" Thk x 0.644" ID, -908, Cl 6, 90 Duro

.644 x .818 x .087

2шт.

18

383004R1

BACK-UP RING,Split, 13.16mm ID x 15.9mm OD x 1.32mm Thk

RING, back up

2шт.

19

370920R1

O-RING,1/2" ID

1/2 x 5/8 x 1/16

2шт.

20

398696R1

PIN

lower valve lift

1шт.

22

9410356

PLUG

7/16-20 str thd o-ring boss

2шт.

23

404496R3

VALVE

ASSY, capsule

1шт.

24

(Not used in this application)

1шт.

25

(Not used in this application)

1шт.

26

VALVE, anti-coast, not serviced separately order 123055C93 drive control valve

1шт.

21

369751R1

O-RING,0.072" Thk x 0.351" ID, -904, Cl 6, 90 Duro

3/8 x 1/2 x 1/16

2шт.

Выбрано товаров: 28