Запчасти Case IH HYDRO 186 (07-24) - DRIVE TRAIN, GEAR SHIFT MECHANISM, RANGE TRANSMISSION INTERNAL (04) - Drive Train

Схема запчастей Case IH HYDRO 186 - (07-24) - DRIVE TRAIN, GEAR SHIFT MECHANISM, RANGE TRANSMISSION INTERNAL (04) - Drive Train
14
1
10
8
4
3
6
2
7
13
5
9
11
12
FIT
1:1
100%

Артикул

Название

Примечание

Количество

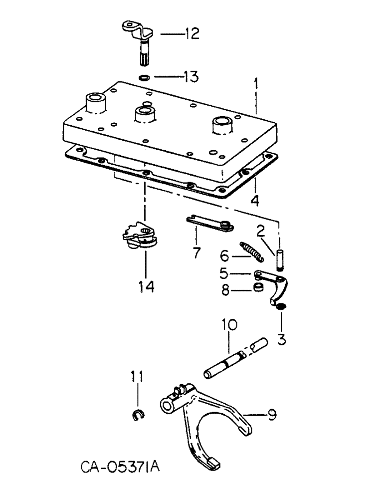
1

398298R41

COVER

ASSY, rear frame front, consists of (1) cover (NSS), (1) plug 104731C1, (1) plug 386194R1, (1) plug 444612, (1) pin 19962R1, (1) pin 398299R1, (1) pin 382563R1, (1) guide 386450R1

1шт.

104731C1

PLUG

cup

1шт.

386194R1

PLUG,Cup, 3/4"

cup

1шт.

179847

BOLT,Hex, 3/8" - 16 x 2", Gr 5

10шт.

19962R1

DOWEL,3/8" x 3/4"

PIN, 3/8 x 3/4 dowel

2шт.

382563R1

PIN

spring anchor

1шт.

2

398299R1

PIN

pivot

1шт.

3

370290R1

SNAP RING,#50, .392" Dia, E-Type

Ring, Retaining, , shift control arm pivot pin #50, .392" Dia, E-Type

1шт.

4

380315R1

GASKET

rear frame front cover

1шт.

5

398300R2

ARM

ASSY, shift control

1шт.

6

398304R1

SPRING

shifter control arm

1шт.

7

406160R1

LARGE PLATE

PLATE ASSY, roller retainer

1шт.

8

380115R2

ROLLER

DETENT

1шт.

9

398279R2

FORK

hi-lo shift

1шт.

10

148503C1

PIN,19mm OD x 201.4mm L

hi-lo shift fork, replaces 104325C2 by also ordering two rings 148501C1

1шт.

11

148501C1

RING, SNAP

RING, retaining, replaces 378066R1 by also ordering pin 148503C1

1шт.

12

104545C1

SHAFT ASSY, hi-lo shift

1шт.

615168R1

WASHER

25/32 x 1-1/2 x 11 ga

1шт.

13

379181R1

O-RING,0.614" ID x 0.07" Width

5/8 x 3/4 x 1/16

1шт.

14

398285R2

ARM

ASSY, hi-lo operating

1шт.

591184R1

PIN,3/16" x 1 1/4", Coiled

1шт.

Выбрано товаров: 21