Запчасти Case IH HYDRO 70 (10-21) - HYDRAULICS, PILOT RELIEF VALVE, FOOT-N-INCH, 666, 70 AND 86 HYDROSTATIC DRIVE TRACTORS (07) - HYDRAULICS

Схема запчастей Case IH HYDRO 70 - (10-21) - HYDRAULICS, PILOT RELIEF VALVE, FOOT-N-INCH, 666, 70 AND 86 HYDROSTATIC DRIVE TRACTORS (07) - HYDRAULICS
6
7
10
2
9
1
3
4
5
8
FIT
1:1
100%

Артикул

Название

Примечание

Количество

*

398705R91

VALVE

ASSY, foot-n-inch

1шт.

*

179847

BOLT,Hex, 3/8" - 16 x 2", Gr 5

2шт.

*

102635

NUT,3/8"-16, G5

2шт.

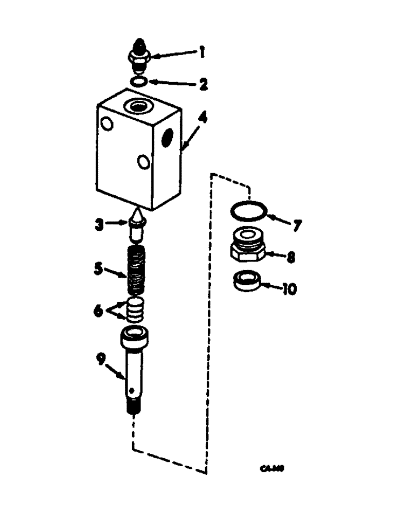
1

398709R1

SEAT

high pressure pilot relief valve

1шт.

2

369751R1

O-RING,0.072" Thk x 0.351" ID, -904, Cl 6, 90 Duro

4-1, 90 Duro, .351" ID x .072" Thk, Pilot relief valve seat

1шт.

3

398710R1

VALVE POPPET

POPPET, high pressure pilot relief valve

1шт.

4

BODY, high pressure pilot relief, not serviced separately, Order valve, 398705R91

1шт.

5

398731R1

SPRING

high pressure relief valve

1шт.

6

530575R91

SHIM KIT

PACKAGE, relief valve shim, Consists of

1шт.

*

SHIM .005 (NSS)

4шт.

*

SHIM .007 (NSS)

4шт.

*

SHIM .020 (NSS)

2шт.

*

SHIM .042 (NSS)

1шт.

7

364885R1

O-RING,0.097" Thk x 0.755" ID, -910, Cl 6, 90 Duro

3/4 x 15/16 x 3/32

1шт.

8

398707R1

GUIDE

valve spring stop

1шт.

9

398708R1

STOP

pilot relief valve

1шт.

Ref #9 (P/N 398707R1) - illustration is wrong see 1680 book Fig. 6-215

1шт.

10

398701R91

OIL SEAL,8.26mm ID x 19.15mm OD x 6.5mm Thk

ASSY, oil

1шт.

Выбрано товаров: 18