Запчасти Case IH HYDRO 70 (09-09) - FRAME, THREE POINT HITCH QUICK COUPLER ATTACHMENT (12) - FRAME

Схема запчастей Case IH HYDRO 70 - (09-09) - FRAME, THREE POINT HITCH QUICK COUPLER ATTACHMENT (12) - FRAME
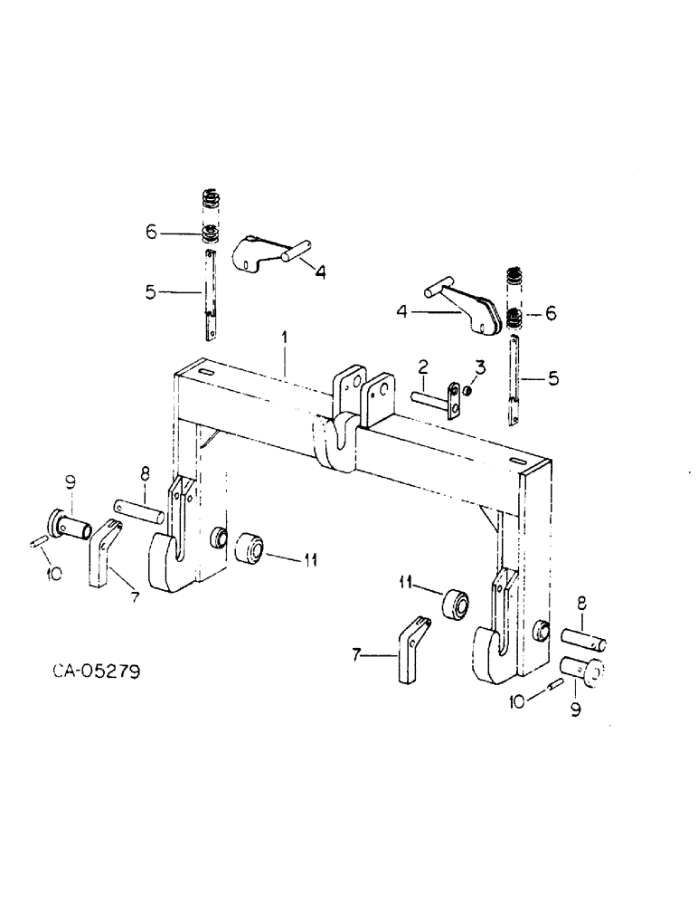
6
10
2
11
9
4
6
5
4
8
8
7
9
10
1
5
3
11
FIT
1:1
100%

Артикул

Название

Примечание

Количество

ATTACHMENT, three point hitch quick coupler, 62783C91, category II hitch, 686 and 86 tractors

1шт.

62784C91

COUPLING

COUPLER ASSY, category II quick

1шт.

1

64711C1

FRAME

ASSY, coupler main

1шт.

2

64712C1

PIN

ASSY, upper link

1шт.

3

64714C1

BUSHING

pin retainer

1шт.

120396

WASHER

.531 x 1.062 x .074 znd

1шт.

26317R1

BOLT,Hex, 1/2" - 13 x 1 1/4", Gr 8

SCREW, 1/2-13 x 1-1/4 pt hex-hd cap

1шт.

4

64715C1

HANDLE

latch

2шт.

39374D

CLEVIS PIN,5/16" x 1 1/16"

PIN, 5/16 x 1-1/16 clevis ht

2шт.

103384

COTTER PIN,1/8" x 3/4"

Pin, Split (Cotter), 1/8" x 3/4"

2шт.

5

64716C1

BAR

spring

2шт.

6

64717C1

SPRING

latch

2шт.

7

64718C1

LUG

lock, latch

2шт.

19555R1

PIN,5/16" x 1", Coiled

2шт.

20126R1

PIN,1/2" x 2", Coiled

2шт.

8

64719C1

PIN

lower link

2шт.

19795R1

PIN,1/4" x 1 3/4", Coiled

2шт.

9

401232R1

ADAPTER

implement lower hitch pin

2шт.

10

21926R1

PIN,7/16" x 1 3/8", Coiled

2шт.

11

NOT USED THIS APPLICATION

1шт.

Выбрано товаров: 20