Запчасти Case IH HYDRO 84 (13-01) - SUPERSTRUCTURE, HOOD AND PANEL (05) - SUPERSTRUCTURE

Схема запчастей Case IH HYDRO 84 - (13-01) - SUPERSTRUCTURE, HOOD AND PANEL (05) - SUPERSTRUCTURE
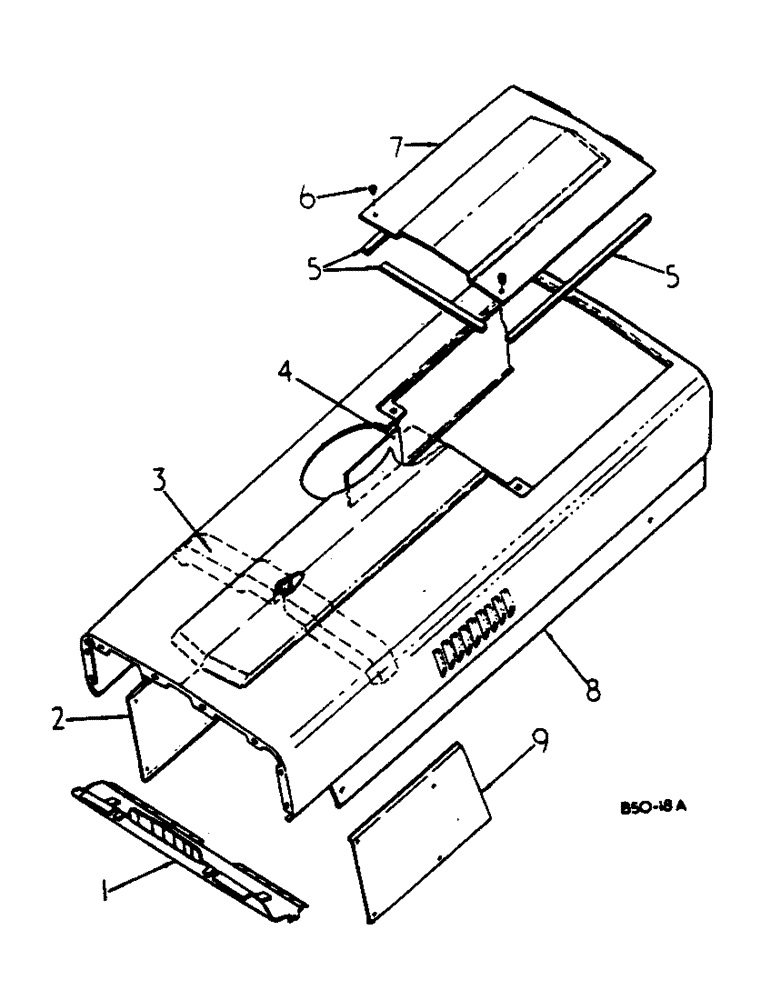
1
6
5
7
9
2
5
8
3
4
FIT
1:1
100%

Артикул

Название

Примечание

Количество

1

3121397R2

BAFFLE

upper, tractors w/cast bolster

1шт.

95-11028

WASHER,1/4"

.281 x .625 x .051 pln

4шт.

103319

LOCK WASHER,1/4"

WASHER, LOCK, 1/4"

4шт.

109084

NUT,1/4"-20, G5

4шт.

2

3121399R1

PANEL

side RH, tractors w/cast bolster w/3 side mtg holes

1шт.

2

3121396R1

PANEL

side RH, tractors w/cast bolster w/3 side mtg holes, tractors w/fabricatede bolster

1шт.

3118624R1

SCREW

5/16"-18 C-Z hex washer hd

4шт.

9635884

BOLT,Hex, 5/16" - 18 1", Full Thd, Gr 5

5/16 x 1 type 5, tractors w/fabricated bolster

2шт.

28167R1

WASHER, .34 x 1 x .054 cad, tractors w/fabricated bolster

2шт.

3

NSS

NOT SOLD SEPARAT

GASKET, foam, furnish 15 in. from foam gasket strip marked 3125487R1

1шт.

4

3121377R1

SHIELD

heat

2шт.

5

NSS

NOT SOLD SEPARAT

SEAL, rear hood cover front, furnish 10.9 in. from bulk roll marked 73211C1

1шт.

5

NSS

NOT SOLD SEPARAT

SEAL, rear hood cover side, furnish 17.0 in. from bulk roll marked 73211C1

2шт.

6

389872R1

THUMB SCREW,Knurled Head, 5/16"-18 x 3/4"

SCREW OR

2шт.

6

389872R1

THUMB SCREW,Knurled Head, 5/16"-18 x 3/4"

SCREW

2шт.

376787R1

WASHER

x

2шт.

7

3121393R91

COVER ASSY

rear hood

1шт.

8

3121381R92

HOOD ASSY.

HOOD ASSY, approx.length 56.3 in., tractors w/vertical exhaust & cast bolster w/4 side mtg holes, tractors w/ fabricated bolster

1шт.

8

3121383R92

HOOD ASSY.

HOOD ASSY, approx. length 59.3 in., tractors w/vertical exhaust & cast bolster w/3 side mtg holes

1шт.

8

3121387R91

HOOD ASSY.

HOOD ASSY, tractors w/underslung exhaust & cast bolster w/4 side mtg holes

1шт.

8

3121389R91

HOOD ASSY.

HOOD ASSY, approx. length 59.3 in., tractors w/underslung exhaust & cast bolster w/3 side mtg holes

1шт.

9635082

NUT,5/16" - 18, Gr 5

2шт.

80681

LOCK WASHER,5/16"

WASHER, LOCK, 5/16"

2шт.

3121721R1

SCREW

5/16-18 hex washer hd

4шт.

1502286C1

NUT

5/16-18 floating cage

2шт.

9

3121398R1

PANEL

side LH, tractors with bolster w/3 side mtg holes

1шт.

9

3121395R1

PANEL

side LH, tractors with bolster w/4 side mtg holes, tractors w/fabricated bolster

1шт.

3118624R1

SCREW

5/16"-18 C-Z hex washer hd

4шт.

9635884

BOLT,Hex, 5/16" - 18 1", Full Thd, Gr 5

5/16 x 1 type 5, tractors w/fabricated bolster

2шт.

28167R1

WASHER, .34 x 1 x .054 cad, tractors w/fabricated bolster

2шт.

Выбрано товаров: 30