Запчасти Case IH HYDRO 84 (12-35) - POWER, CYLINDER HEAD, VALVES AND STUDS Power

Схема запчастей Case IH HYDRO 84 - (12-35) - POWER, CYLINDER HEAD, VALVES AND STUDS Power
16
11
22
7
1
19
20
12
9
15
17
10
3
5
4
13
18
2
8
23
21
6
14
24
FIT
1:1
100%

Артикул

Название

Примечание

Количество

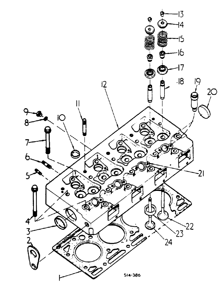
1

3228362R1

CYLINDER HEAD GASKET

cylinder head

1шт.

2

3055370R1

STIRRUP

SHACKLE, engine mounting front

1шт.

NLS

NO LONGER SERVICED

3/4 x 1-1/8 pln type 5

1шт.

3

934003R1

PLUG,M52, Conical

expansion

1шт.

4

3138748R1

BOLT,Flng, 9/16" - 12 x 5-3/4"

BOLT, cylinder head 9/16-12 x 5-3/4 hex hd

10шт.

5

179817

BOLT,Hex, 5/16" - 18 x 7/8", Gr 5, Full Thd

Water collecting pipe, replaces stud 3055221R1 Hex, 5/16"-18 x 7/8", G5, Full Thd

8шт.

6

3055663R1

STUD

exhaust, 8 used, w/o coolant filter, 6 used w/coolant filter

1шт.

6

3228188R1

STUD

exhaust, w/coolant filter

2шт.

7

3138747R1

BOLT,Cyl Hd, 9/16" - 12 x 123mm

cylinder head 9/16-12 x 5 hex hd

8шт.

8

718743R1

SEALING RING,M10 x 16 x 1

Ring, Packing M10 x 16 x 1

1шт.

9

934259R1

PLUG,Hex, M10 x 1

1шт.

10

933537R1

PLUG,M25, Conical

expansion

4шт.

11

179894

BOLT,Hex, 1/2" - 13 x 3 1/4", Gr 5

Rocker shaft bracket, replaces stud 3055220R1 Hex, 1/2"-13 x 3 1/4", G5

5шт.

12

3055367R97

HEAD (CYLINDER)

HEAD, guides and studs cylinder

1шт.

13

3055057R91

ROCKER ARM COTTER

KEY ASSY, spring lock valve

16шт.

14

3055058R2

SPRING CUP

CAP, valve spring retainer

8шт.

15

3055060R1

SPRING

valve

8шт.

16

3228677R91

SEAL

SEAL, valve stem, package

1шт.

17

3055059R91

CAP

ROTOCAP, valve, replaces spacer 3218069R1

8шт.

18

3055022R2

VALVE GUIDE

GUIDE, valve stem

8шт.

19

3055344R1

SLEEVE

INSERT, nozzle holder

4шт.

20

934003R1

PLUG,M52, Conical

expansion

1шт.

21

Not used this application

1шт.

22

3055055R2

OVERSIZE INLET VALVE

VALVE, intake

4шт.

23

3132361R1

INSERT

exhaust valve seat, .40mm/.016 inch O/S

4шт.

23

3132362R1

VALVE SEAT

INSERT, exhaust valve seat, .15mm/.006 inch O/S

4шт.

24

3055056R2

STD EXHAUST VALVE

VALVE, exhaust

4шт.

Выбрано товаров: 27