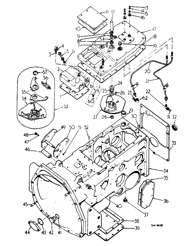
Запчасти Case IH HYDRO 84 (07-01) - DRIVE TRAIN, HYDROSTATIC DRIVE HOUSING, CONTROL CAM, MULTI-VALVE, HYDRO 84 TRACTORS (04) - Drive Train

Схема запчастей Case IH HYDRO 84 - (07-01) - DRIVE TRAIN, HYDROSTATIC DRIVE HOUSING, CONTROL CAM, MULTI-VALVE, HYDRO 84 TRACTORS (04) - Drive Train
28
27
33
36
23
60
17
39
26
29
5
44
2
51
19
52
46
56
6
61
54
25
55
20
3
40
50
37
4
30
9
11
1
35
62
59
49
58
38
21
57
18
15
32
14
42
10
12
8
45
13
41
31
47
48
43
34
53
24
22
7
16
FIT
1:1
100%

Артикул

Название

Примечание

Количество

1

401056R1

GASKET

multiple valve

1шт.

2

NSS

NOT SOLD SEPARAT

MULTI-VALVE ASSY, for components, see list of parts under details of multi-valve

1шт.

179848

BOLT,Hex, 3/8" - 16 x 2 1/4", Gr 5

5шт.

3

369751R1

O-RING,0.072" Thk x 0.351" ID, -904, Cl 6, 90 Duro

4-1, 90 Duro, .351" ID x .072" Thk, 1/4 OD tube

1шт.

4

9410974

ELBOW,90 Degree, 7/16"-20, 37 Degree x 7/16"-20, O-Ring

7/16-20 37 deg hyd flared tube

1шт.

5

533561R1

TUBE

ASSY, pressure check

1шт.

6

9403330

PLUG,7/16"-20, 37 Degree

1/4 C-Z hyd flared tube

1шт.

7

19892R1

SPLIT PIN/SAFETY PIN

PIN, 3/8 x 1-1/2 dowel

1шт.

8

66534C91

NEEDLE BEARING

ASSY, needle

2шт.

9

65457C1

SEAL,19.04mm ID x 25.5mm OD x 3.17mm Thk

oil cam actuating shaft

1шт.

10

400957R1

GASKET,0.76mm Thk

servo access cover

1шт.

11

400956R1

COVER

servo access

1шт.

179844

BOLT,Hex, 3/8" - 16 x 1 5/8", Gr 5

3/8 x 1-5/8 pln type 5

4шт.

179841

BOLT,Hex, 3/8" - 16 x 1 1/4", Gr 5

3/8-16 x 1-1/4 pln type 5

2шт.

179839

BOLT,Hex, 3/8" - 16 x 1", Gr 5

2шт.

103321

LOCK WASHER,3/8"

WASHER, LOCK, 3/8"

8шт.

12

65458C2

SHAFT

cam actuating

1шт.

13

384937R1

O-RING,0.07" Thk x 0.239" ID, -10, Cl 6, 90 Duro

1/4 x 3/8 x 1/16

2шт.

14

401017R1

RING

back up

2шт.

15

402865R1

LOCK

tube

2шт.

16

402864R1

RETAINER

tube lock

2шт.

17

66544C92

COVER

ASSY, cam mounting, includes ref nos 7, 8, & 9

1шт.

444697

PLUG,Hex Soc, 3/8"-18

3/8-18 pln hex/skt auto pipe

1шт.

172531

PLUG,Exp, 3/4"

expansion

1шт.

413-630

BOLT,Hex, 3/8" - 16 x 1-7/8", Gr 5

10шт.

103321

LOCK WASHER,3/8"

WASHER, LOCK, 3/8"

10шт.

18

401019R3

GASKET

top cover

1шт.

19

9409947

DRAIN PLUG,Sq Soc, 3/4"-14 NPTF

PLUG, 3/4 sq soc hd pipe

1шт.

20

401005R2

TUBE ASSY.

TUBE ASSY, reverse pressure

1шт.

179814

SPACER

5/16 x 5/8 pln type 5

1шт.

95-11034

WASHER,1/4"

.344 x .688 x .051 pln

1шт.

21

401001R1

TUBE

ASSY, forward pressure

1шт.

179814

SPACER

5/16 x 5/8 pln type 5

1шт.

95-11034

WASHER,1/4"

.344 x .688 x .051 pln

1шт.

22

9410974

ELBOW,90 Degree, 7/16"-20, 37 Degree x 7/16"-20, O-Ring

1/4 C-Z hyd fld adj 90D

1шт.

23

369751R1

O-RING,0.072" Thk x 0.351" ID, -904, Cl 6, 90 Duro

4-1, 90 Duro, .351" ID x .072" Thk, 1/4 OD tube

2шт.

24

396795R1

THRUST WASHER

RACE, needle bearing thrust

2шт.

25

324105R91

THRUST BEARING,19.1mm ID x 31.5mm OD x 1.98mm W

BEARING, needle thrust

2шт.

26

124549

WOODRUFF KEY,#9, 3/16" x 3/4", HT

1шт.

27

401050R31

CAM

ASSY, control

1шт.

133765

SCREW,Sl Flat Hd, 1/4" - 20 x 7/16"

1/4-20 x 7/16 slot-f-hd mach

3шт.

28

373692R1

RING

.703 ext rect sect ret

1шт.

29

400947R1

PIPE

overflow

1шт.

30

20556R1

DOWEL,1/2" x 3/4"

PIN, 1/2 x 3/4 dowel

1шт.

31

369751R1

O-RING,0.072" Thk x 0.351" ID, -904, Cl 6, 90 Duro

4-1, 90 Duro, .351" ID x .072" Thk, 1/4 OD tube

1шт.

32

252050C91

OIL SEAL

IPTO shaft lip

1шт.

33

399814R4

GASKET

clutch housing to rear frame

1шт.

34

537098R94

HOUSING ASSY.

HOUSING ASSY, hydrostatic drive, inclues ref nos, 30, 32, 37, 44, 45 and 50

1шт.

19892R1

SPLIT PIN/SAFETY PIN

PIN, 3/8 x 1.500 pln hdn dowel

1шт.

340340R1

BOLT,Hex, 1/2" - 13 x 1 1/2", Gr 8

1/2 x 1-1/2 pln type 8, to rear frame

9шт.

179887

CABLE

1/2 x 1-3/4 pln type 5

4шт.

179894

BOLT,Hex, 1/2" - 13 x 3 1/4", Gr 5

2шт.

186295

BOLT,Hex, 1/2" - 13 x 5 1/2", Gr 5

1/2 x 5-1/2 pln type 5

2шт.

102637

NUT,1/2"-13, G5

2шт.

103323

LOCK WASHER,1/2"

WASHER, LOCK, , Adaptor plate to clutch hsg 1/2"

2шт.

179895

BOLT,Hex, 1/2" - 13 x 3 1/2", Gr 5

1/2 x 3-1/2 pln type 5, oil pan/spacer to clutch hsg

2шт.

35

400951R1

GASKET

relief valve access cover

2шт.

36

400950R1

COVER

relief valve access

2шт.

382331R1

SEALING WASHER,8.33mm ID x 12.7mm OD x 0.79mm Thk

sealing

2шт.

179816

BOLT,Hex, 5/16" - 18 x 3/4", Gr 5

12шт.

103320

LOCK WASHER,5/16"

WASHER, LOCK, 5/16"

12шт.

37

3113103R1

PLUG

3/4-14 auto hex-hd pipe

1шт.

38

402556R2

GASKET

bottom cover

1шт.

39

402182R1

COVER

bottom

1шт.

179837

BOLT,Hex, 3/8" - 16 x 3/4", Gr 5

11шт.

40

539245R1

BUSHING

clutch and brake shaft

1шт.

41

368269R1

O-RING,0.116" Thk x 0.924" ID, -912, Cl 6, 90 Duro

3/4 OD tube

1шт.

42

9410361

PLUG

3/4 C-Z str thd O-ring boss

1шт.

43

21480R1

O-RING,0.103" Thk x 1.987" ID, -136, Cl 5, 75 Duro

2 x 2-3/16 x 3/32, front IPTO bearing cover

1шт.

44

400954R1

COVER

front IPTO bearing

1шт.

179840

BOLT,Hex, 3/8" - 16 x 1 1/8", Gr 5

3/8 x 1-1/8 pln type 5

2шт.

103321

LOCK WASHER,3/8"

WASHER, LOCK, 3/8"

2шт.

45

19904R1

DOWEL,1/2" x 1"

PIN, 12 x 1 dowel

2шт.

46

537099R1

NO LONGER SERVICED

BUSHING, LH brake pedal pivot, or

1шт.

46

539834R1

BUSHING,22.35mm ID x 25.47mm OD x 68.07mm L

LH brake pedal pivot

1шт.

47

369751R1

O-RING,0.072" Thk x 0.351" ID, -904, Cl 6, 90 Duro

4-1, 90 Duro, .351" ID x .072" Thk, 1/4 OD tube, Pressure check plug

1шт.

48

405192R1

PLUG

pressure check

1шт.

49

405195R1

COVER ASSY

pressure check access

1шт.

179815

BOLT,Hex, 5/16" - 18 x 11/16", Gr 5

4шт.

382331R1

SEALING WASHER,8.33mm ID x 12.7mm OD x 0.79mm Thk

sealing

1шт.

50

405193R1

GASKET

access cover

1шт.

51

384937R1

O-RING,0.07" Thk x 0.239" ID, -10, Cl 6, 90 Duro

1/4 x 3/6 x 1/16, pressure check bushing

1шт.

52

19962R1

DOWEL,3/8" x 3/4"

PIN, 3/8 x 3/4 dowel

1шт.

53

Not used this application

1шт.

54

Not used this application

1шт.

55

Not used this application

1шт.

56

Not used this application

1шт.

57

567879R1

RING

retaining

1шт.

58

350684R1

O-RING,0.139" Thk x 0.734" ID, -210, Cl 5, 75 Duro

3/4 x 1 class 5, Start Serial: 1692

1шт.

59

9410357

PLUG

5/16 C-Z str thd o-ring boss, Start Serial: 1692

1шт.

60

369384R1

O-RING,0.072" Thk x 0.414" ID, -905, Cl 6, 90 Duro

5-1, 90 Duro, .414" ID x .072" Thk, 5/16 OD tube, class 6

1шт.

61

3125837R1

ADAPTER

ADAPTOR, Start Serial: 1692

1шт.

62

224599C1

ELBOW

ASSY, use w/tube 401005R2

1шт.

Выбрано товаров: 93