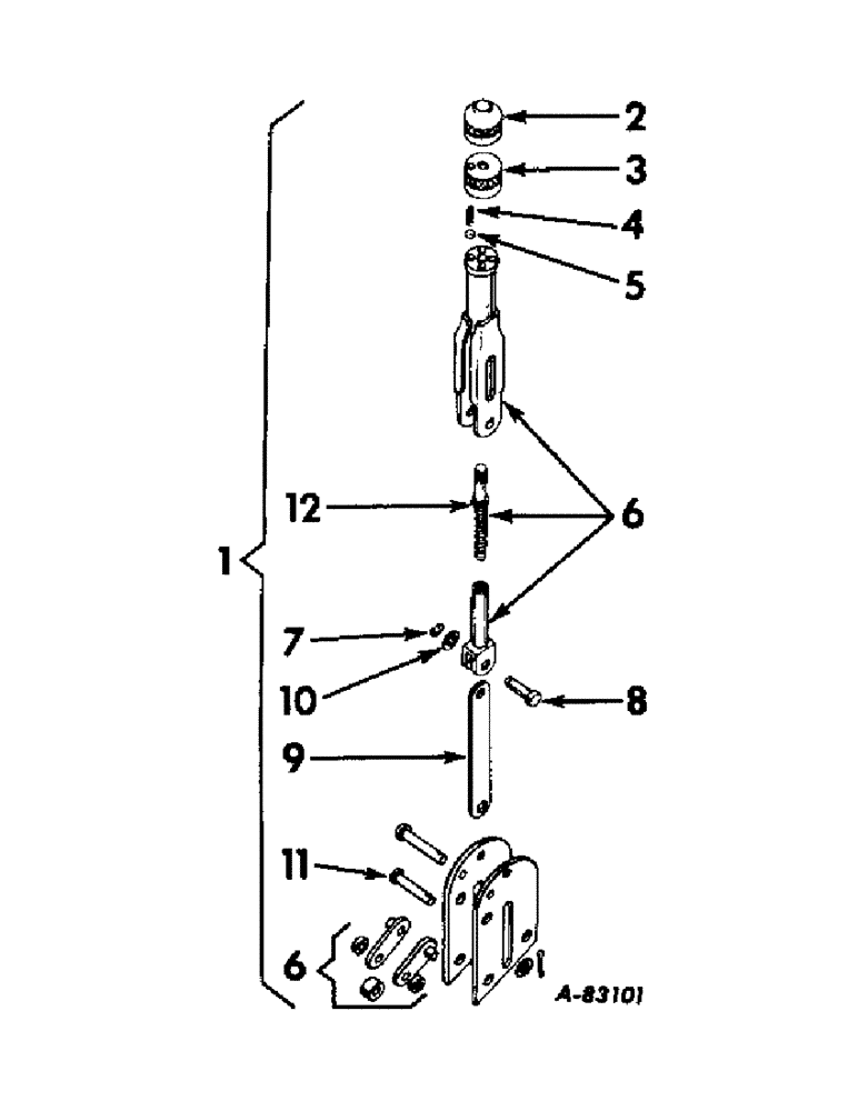
Запчасти Case IH B414 (122) - BRAKES, HAND BRAKE LEVER, 6-1/2 X 3-3/2 INCH, B-414 DIESEL/31374 UP, B-414 GASOLINE/4360 UP (5.1) - BRAKES

Схема запчастей Case IH B414 - (122) - BRAKES, HAND BRAKE LEVER, 6-1/2 X 3-3/2 INCH, B-414 DIESEL/31374 UP, B-414 GASOLINE/4360 UP (5.1) - BRAKES
1
8
3
7
5
2
9
12
10
6
11
4
6
FIT
1:1
100%

Артикул

Название

Примечание

Количество

1

3045931R92

NO LONGER SERVICED

LEVER ASSEMBLY, HAND BRAKE (6-1/2 x 3-1/2 IN.)

1шт.

102635

NUT,3/8"-16, G5

3шт.

186283

BOLT,Hex, 3/8" - 16 x 3 1/2", Gr 5

SCREW, 3/8-16 x 3-1/2 HEX-HD CAP

1шт.

179849

BOLT,Hex, 3/8" - 16 x 2 1/2", Gr 5

2шт.

103321

LOCK WASHER,3/8"

WASHER, LOCK, 3/8"

3шт.

2

3045968R1

KNOB

OUTER HALF

1шт.

3

3045965R1

KNOB

INNER HALF

1шт.

4

3045967R1

SPRING

1шт.

5

3045966R1

BALL

1шт.

6

3045964R91

LEVER

1шт.

7

3045972R1

CIRCLIP

1шт.

8

3045970R1

AXLE PIN

PIN, SHORT

1шт.

9

3045969R1

LINK

1шт.

10

3045971R1

WASHER

1шт.

11

3045973R1

PIN

LONG

1шт.

3045975R1

PIN

SPLIT COTTER

1шт.

3045974R1

WASHER

1шт.

12

3069414R1

SCREW

ADJUSTING

1шт.

Выбрано товаров: 0