Запчасти Case IH B414 (054) - LUBRICATION SYSTEM, OIL PUMP AND OIL LEVEL GAUGE, CARBURETED ENGINE TRACTORS Lubrication System

Схема запчастей Case IH B414 - (054) - LUBRICATION SYSTEM, OIL PUMP AND OIL LEVEL GAUGE, CARBURETED ENGINE TRACTORS Lubrication System
3
23
1
10
22
9
20
16
17
12
15
22
18
21
8
4
7
19
2
11
14
24
5
13
6
FIT
1:1
100%

Артикул

Название

Примечание

Количество

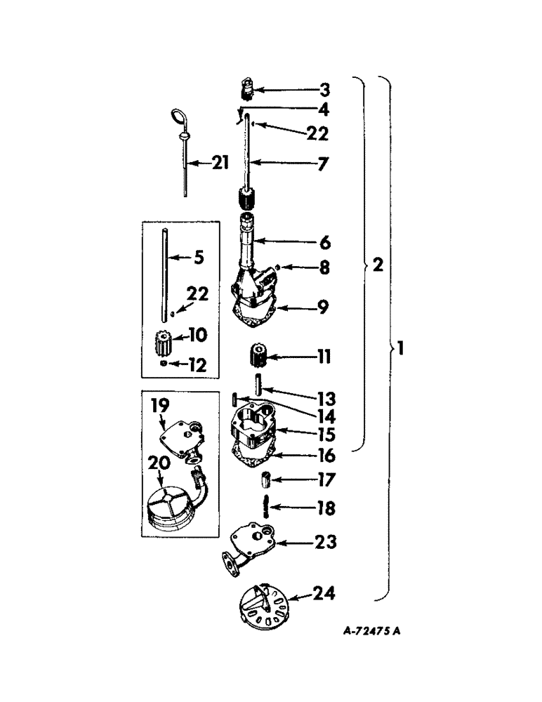
1

3043827R93

PUMP

ASSY, OIL, Serial Range: -BC-144/5594

1шт.

1

3064064R91

PUMP

ASSY, OIL, Start Serial: BC-144/5595

1шт.

179840

BOLT,Hex, 3/8" - 16 x 1 1/8", Gr 5

SCREW, 3/8-16 x 1-1/8 HEX-HD CAP

1шт.

115549

LOCK WASHER,Int Tooth, 3/8"

WASHER, LOCK, Int Tooth, 3/8"

1шт.

2

3045828R93

BODY

ASSY, OIL PUMP

1шт.

3

3043830R1

GEAR

PINION, OIL PUMP DRIVE

1шт.

4

932204R1

LOCK PIN,M3 x 20, Slotted

PIN, ROLL, 3 MM DIA x 20 MM LONG

1шт.

5

712095R1

SHAFT

OIL PUMP DRIVE, Serial Range: -BC-144/4765

1шт.

6

751831R92

BODY ASSY, OIL PUMP, Serial Range: -BC-144/4765

1шт.

6

3042570R92

CASE

BODY ASSY, OIL PUMP, COMPOSED OF, Start Serial: BC-144/4766

1шт.

NSS

NOT SOLD SEPARAT

BODY

1шт.

NSS

NOT SOLD SEPARAT

CASE

1шт.

706628R1

GASKET

1шт.

932205R1

LOCK PIN,M10 x 40, Slotted

PIN

2шт.

103883

PIPE PLUG,Slotted, Headless, 1/8" NPT

PLUG, PIPE, Slotted, Headless, 1/8" NPT

1шт.

NSS

NOT SOLD SEPARAT

SHAFT

1шт.

7

3062345R91

SHAFT

ASSY, OIL PUMP DRIVE, Start Serial: BC-144/4766

1шт.

8

103883

PIPE PLUG,Slotted, Headless, 1/8" NPT

PLUG, PIPE, Slotted, Headless, 1/8" NPT

1шт.

9

706628R1

GASKET

OIL PUMP BODY

1шт.

10

751656R1

GEAR

OIL PUMP BODY, Serial Range: -BC-144/4765

1шт.

11

751657R1

GEAR

OIL PUMP BODY IDLER, Start Serial: BC-144/4765

1шт.

11

3063757R1

GEAR

OIL PUMP BODY IDLER, Start Serial: BC-144/4766

1шт.

12

27999H

RING

RETAINER, OIL PUMP BODY GEAR, Serial Range: -BC-144/4765

1шт.

13

SHAFT, OIL PUMP IDLER, NOT SERVICED SEPARATELY

1шт.

14

932205R1

LOCK PIN,M10 x 40, Slotted

PIN, ROLL, 10 MM DIA x 40 MM LONG

1шт.

15

CASE, OIL PUMP GEAR, NOT SERVICED SEPARATELY

1шт.

16

711558R1

GASKET

OIL PUMP GEAR, AS REQUIRED

1шт.

17

751830R2

VALVE

OIL PRESSURE REGULATING

1шт.

18

751829R1

SPRING

OIL PRESSURE REGULATING VALVE

1шт.

19

751828R1

COVER

OIL PUMP

1шт.

9635082

NUT,5/16" - 18, Gr 5

2шт.

179826

BOLT,Hex, 5/16" - 18 x 2", Gr 5

2шт.

179828

BOLT,Hex, 5/16" - 18 x 2 1/2", Gr 5

2шт.

115548

LOCK WASHER,Int Tooth, 5/16"

WASHER, LOCK, Int Tooth, 5/16"

4шт.

20

56108D

FILTER SCREEN

SCREEN, OIL PUMP, Serial Range: -BC-144/5594

1шт.

108635

PIN,1/8" x 1 1/8"

Split (Cotter), 1/8" x 1 1/8"

1шт.

21

706977R91

DIPSTICK

GAUGE, OIL LEVEL

1шт.

22

NLS

NO LONGER SERVICED

1/8 x 5/8 WOODRUFF 5, Serial Range: -BC-144/4765

2шт.

23

3064061R1

COVER

OIL PUMP

1шт.

9635082

NUT,5/16" - 18, Gr 5

2шт.

179826

BOLT,Hex, 5/16" - 18 x 2", Gr 5

2шт.

179828

BOLT,Hex, 5/16" - 18 x 2 1/2", Gr 5

2шт.

115548

LOCK WASHER,Int Tooth, 5/16"

WASHER, LOCK, Int Tooth, 5/16"

4шт.

24

3064062R91

FILTER SCREEN

SCREEN, OIL PUMP, Start Serial: BC-144/5595

1шт.

179791

BOLT,Hex, 1/4" - 20 x 1/2", Gr 5

2шт.

103319

LOCK WASHER,1/4"

WASHER, LOCK, 1/4"

2шт.

Выбрано товаров: 46