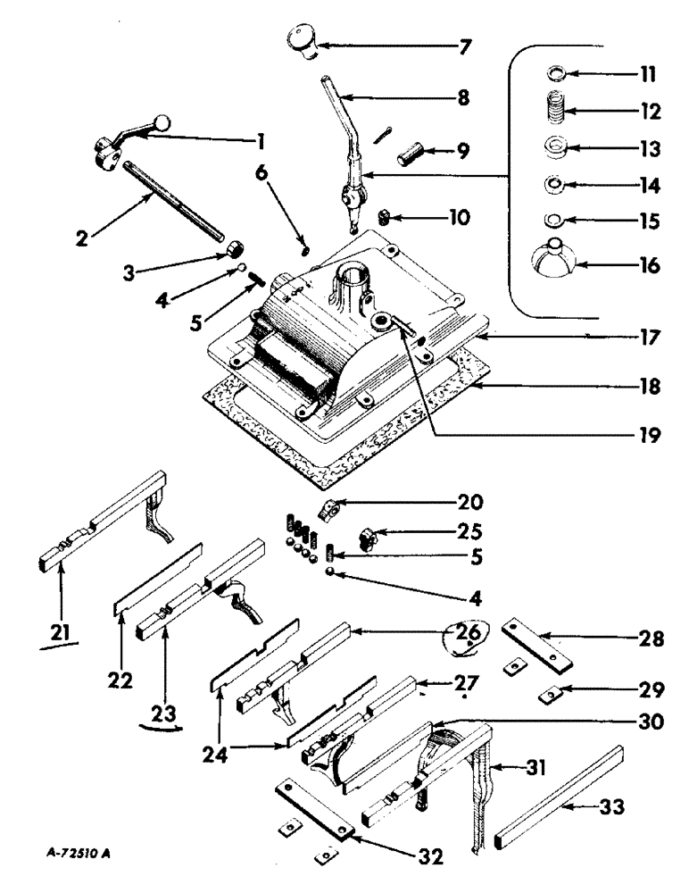
Запчасти Case IH B414 (085) - REAR FRAME AND DRIVING MECHANISMS, GEAR SHIFTER MECHANISM & TRANMISSION CASE FRONT COVER Rear Frame & Driving Mechanisms

Схема запчастей Case IH B414 - (085) - REAR FRAME AND DRIVING MECHANISMS, GEAR SHIFTER MECHANISM & TRANMISSION CASE FRONT COVER Rear Frame & Driving Mechanisms
29
15
24
8
11
33
31
5
32
28
16
22
21
1
10
19
17
27
26
7
13
4
18
20
3
5
25
2
6
9
4
12
30
14
23
FIT
1:1
100%

Артикул

Название

Примечание

Количество

1

751089R2

HANDLE

HIGH LOW RANGE SHIFTER

1шт.

142521

HYD TUBE

Pin, Grooved, 1/4" x 1 1/4", Type A

1шт.

2

751088R2

SHAFT

HIGH LOW RANGE SHIFTER

1шт.

3

751086R91

SEAL ASSY.

SEAL, HIGH LOW RANGE SHIFTER SHAFT OIL

1шт.

4

16013R1

BALL

13/32 DIA CHROME, GRADE 2 STL

6шт.

5

711283R1

SPRING

GEAR SHIFTER POPPET

6шт.

6

172529

PLUG

GEAR SHIFTER LEVER SWIVEL SHAFT EXPANSION, SMALL

2шт.

7

53717DA

BUTTON

KNOB, GEAR SHIFTER LEVER

1шт.

8

704041R91

LEVER

ASSY, GEAR SHIFTER

1шт.

108644

SEAT

3/16 x 1-3/8 COT.

1шт.

9

705650R1

SHAFT

GEAR SHIFTER LEVER SWIVEL LARGE

1шт.

10

217-442

PLUG,3/4" - 14

3/4 CI PIPE

1шт.

11

710953R1

STOP

GEAR SHIFTER LEVER SPRING

1шт.

12

29547D

SPRING

GEAR SHIFTER LEVER

1шт.

13

34880D

RETAINER

GEAR SHIFTER LEVER FELT WASHER

1шт.

14

34879D

WASHER

GEAR SHIFTER LEVER FELT

1шт.

15

615190R1

WASHER

29/32 x 1-3/8 x 18 GA

1шт.

16

712626R1

SHIELD

GEAR SHIFTER SWIVEL HOUSING

1шт.

17

3044047R1

COVER

TRANSMISSION CASE FRONT

1шт.

NLS

NO LONGER SERVICED

8шт.

103321

LOCK WASHER,3/8"

WASHER, LOCK, 3/8"

8шт.

18

703969R1

GASKET

TRANSMISSION CASE COVER FRONT

1шт.

19

34878D

SHAFT

GEAR SHIFTER LEVER SWIVEL SMALL

1шт.

20

751090R2

CAM

HIGH LOW RANGE SHIFTER

1шт.

188943

DOWEL

PIN, 3/16 x 1-1/8 TYPE 1 GROOVE

1шт.

21

751094R31

FORK

ASSY, HIGH SPEED SHIFTER

1шт.

22

705926R1

GUIDE

GEAR SHIFTER RAIL LH

1шт.

23

751100R11

SHIFTER FORK

FORK ASSY, 4TH SPEED GEAR SHIFTER

1шт.

24

704038R1

GUIDE

GEAR SHIFTER RAIL INNER

2шт.

25

751851R3

CAM

LOW SPEED GEAR SHIFTER

1шт.

142508

DRIVE BUSHING

3/16 x 1-1/4 TYPE 1 GROOVE

1шт.

26

751104R91

SHIFTER FORK

FORK ASSY, 2ND AND 3RD SPEED GEAR SHIFTER

1шт.

27

751101R21

SHIFTER FORK

FORK ASSY, 1ST AND REVERSE SPEED GEAR SHIFTER

1шт.

27

3049380R91

SHIFTER FORK

FORK ASSY, 1ST SPEED GEAR SHIFTER, FORWARD AND REVERSE TRANSMISSION

1шт.

28

751085R1

BRACKET

GEAR SHIFTER FORK AND GUIDE

1шт.

179837

BOLT,Hex, 3/8" - 16 x 3/4", Gr 5

2шт.

29

59473DA

LOCK

GEAR SHIFTER RAIL GUIDE BOLT

4шт.

30

704039R2

GUIDE

GEAR SHIFTER RAIL RH

1шт.

31

3040867R31

SHIFTER FORK

FORK ASSY, LOW SPEED SHIFTER

1шт.

32

3044010R1

GUIDE

BRACKET, GEAR SHIFTER FORK AND GUIDE

1шт.

179837

BOLT,Hex, 3/8" - 16 x 3/4", Gr 5

2шт.

33

NOT USED

1шт.

Выбрано товаров: 42