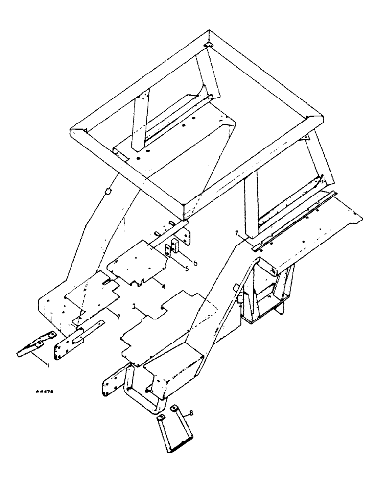
Запчасти Case IH 2350 (6-74) - SAFETY FRAME, 444-001/B001574 UP, 444-002/B009826 UP, 2350-004/B000531 UP, 2350-005/B000531 UP (09) - CHASSIS

Схема запчастей Case IH 2350 - (6-74) - SAFETY FRAME, 444-001/B001574 UP, 444-002/B009826 UP, 2350-004/B000531 UP, 2350-005/B000531 UP (09) - CHASSIS
5
4
8
2
3
8
6
1
FIT
1:1
100%

Артикул

Название

Примечание

Количество

31133

FRAME, cpte. safety

1шт.

271558

HOOD,Hex, 5/8" - 11 x 1 1/2", Gr 5

5/8 x 1-1/2 hex hd

8шт.

271614

BOLT,Hex, 3/4" - 10 x 2 3/4", Gr 5

3/4 x 2-3/4 hex hd

4шт.

3070973R1

BOLT

5/8 x 8-1/2 'T' hd

4шт.

102639

NUT,5/8"-11, G5

4шт.

280954

NUT,3/4"-10, G5

4шт.

87403

BOLT,Hex, 3/4" - 10 x 2 1/4", Gr 5

4шт.

103346

WASHER

.812 x 1.50 x 1.08

4шт.

1

3112896R1

STEP

FOOTSTEP, assy R.H.

1шт.

180122

BOLT,Hex, 3/8" - 16 x 1", Gr 5

3/8 x 1 hex hd

2шт.

120377

NUT,3/8" - 16, Gr 5

2шт.

120382

LOCK WASHER,Helical Spring, 3/8"

WASHER, LOCK, 3/8"

1шт.

2

3112898R1

PLATE

FOOTPLATE, R.H. front

1шт.

19417R1

BOLT

3/8 x 1 sq neck carriage

2шт.

180122

BOLT,Hex, 3/8" - 16 x 1", Gr 5

3/8 x 1 hex hd

2шт.

120377

NUT,3/8" - 16, Gr 5

4шт.

120382

LOCK WASHER,Helical Spring, 3/8"

WASHER, LOCK, 3/8"

4шт.

446548

WASHER,0.38" ID x 0.75" OD x 0.05" Thk

3/8 plain

6шт.

3

3112897R1

PLATE

FOOTPLATE, cpte. L.H.

1шт.

180122

BOLT,Hex, 3/8" - 16 x 1", Gr 5

3/8 x 1 hex hd

3шт.

120377

NUT,3/8" - 16, Gr 5

3шт.

120382

LOCK WASHER,Helical Spring, 3/8"

WASHER, LOCK, 3/8"

3шт.

446548

WASHER,0.38" ID x 0.75" OD x 0.05" Thk

3/8 plain

6шт.

4

3112899R1

PLATE

FOOTPLATE, R.H. cpte. rear

1шт.

413-412

BOLT,Hex, 1/4" - 20 x 3/4", Gr 5

1шт.

180122

BOLT,Hex, 3/8" - 16 x 1", Gr 5

3/8 x 1 hex hd

2шт.

120375

NUT,Hex, 1/4" - 20, Gr 5

1шт.

120377

NUT,3/8" - 16, Gr 5

2шт.

492-11025

LOCK WASHER,1/4"

WASHER, LOCK, 1/4"

1шт.

120382

LOCK WASHER,Helical Spring, 3/8"

WASHER, LOCK, 3/8"

2шт.

446548

WASHER,0.38" ID x 0.75" OD x 0.05" Thk

3/8 plain

4шт.

5

3114165R1

SHIM

(2 or as required)

1шт.

6

3112968R2

BAR

axle spacer

2шт.

7

3112388R1

SEAL

SEAL, wing piping

2шт.

8

3112895R1

STEP

FOOTSTEP, assy, L.H.

1шт.

180122

BOLT,Hex, 3/8" - 16 x 1", Gr 5

3/8 x 1 hex hd

2шт.

120377

NUT,3/8" - 16, Gr 5

2шт.

120382

LOCK WASHER,Helical Spring, 3/8"

WASHER, LOCK, 3/8"

2шт.

443087

STUD

NO.4. x 5/16 groove rd hd (Safety Frame approval plate)

2шт.

3112888R1

PLUG

2шт.

PLUG, blanking BRACKET, cross shaft cpte. (See GOVERNOR CONTROLS) ROD, hand brake connecting (See HANDBRAKE LINKAGE-CHASSIS) PEDAL, cpte. diff lock (See DIFFERENTIAL LOCK - CHASSIS) "PACKAGE, Safety Frame Conversion Foot Plate" L.H. (M/C Fitted w/Power Steering) (Factory application) (Consists of:

1шт.

3115228R1

" PLATE, cpte. floor L.H."

1шт.

Выбрано товаров: 42