Запчасти Case IH 2400 (07-35) - REAR FRAME COVER AND CONNECTIONS (04) - Drive Train

Схема запчастей Case IH 2400 - (07-35) - REAR FRAME COVER AND CONNECTIONS (04) - Drive Train
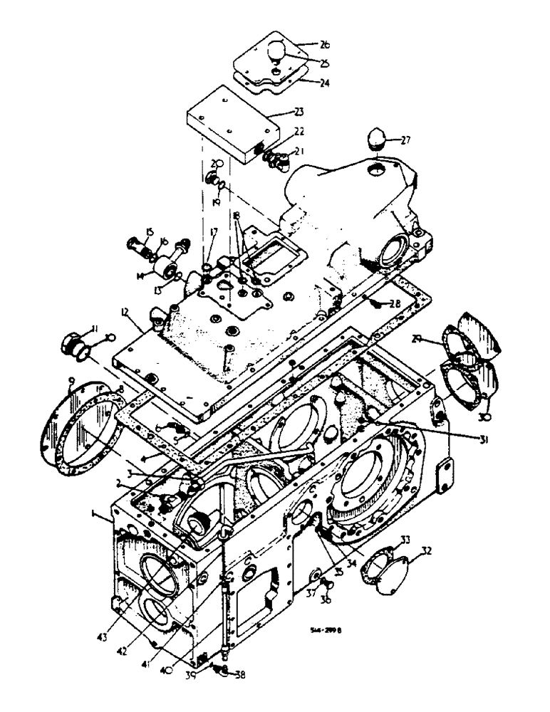
35
17
2
18
12
41
3
15
20
19
28
38
27
33
9
26
25
34
16
15
36
31
29
39
22
21
32
11
30
24
42
14
43
37
40
23
1
FIT
1:1
100%

Артикул

Название

Примечание

Количество

1

399848R51

FRAME

ASSY, REAR, SYNCHROMESH DRIVE TRACTORS

1шт.

1

399849R92

FRAME

ASSY, REAR, HYDROSTATIC DRIVE TRACTORS, ALSO INCLUDES BEARING 399820R91 OR 527746R91 AND 362251R91 IN RANGE TRANSMISSION

1шт.

327412R1

PLUG,Cup, 13/16"

13/16 CUP

1шт.

3113103R1

PLUG

3/4-14 AUTO HEX-HD PIPE

2шт.

349373R1

PLUG

1-1/4 CUP

1шт.

19904R1

DOWEL,1/2" x 1"

2шт.

19875R1

DOWEL,5/8" x 1 1/2"

PIN, 5/8 X 1-1/2

4шт.

386194R1

PLUG,Cup, 3/4"

3/4 CUP

2шт.

512870R1

PLUG,Cup, 2 1/4"

2-1/4 CUP

1шт.

19846R1

DOWEL,1/2" x 1 1/4"

PIN, 1/2 X 1-1/4

1шт.

70129R1

PLUG,Cup, 2"

CORED HOLE

1шт.

23828R1

PLUG,Cup, 2 1/2"

2-1/2 CUP

1шт.

330222R1

PLUG,Cup, 1 7/8"

1-7/8 CUP

1шт.

151162R1

PLUG,Cup, 1 3/8"

1-3/8 CUP

1шт.

327413R1

PLUG

1-1/2 CUP

1шт.

2

9411131

TEE,3/4"-16, 37 Degree x 3/4"-18, O-Ring Run

3/4-16 C-Z 37 DEG HYD FLARED, TUBE ADJ STR THD 90 DEG, TRANSFER PUMP OUTLET TUBE, SYNCHROMESH DRIVE TRACTORS, 454/8693 UP

1шт.

2

9410977

ELBOW,90 Degree, 3/4"-16, 37 Degree x 3/4"-16, O-Ring

3/4-16 C-Z 37 DEG HYD FLARED, TUBE ADJ STR THD 90 DEG, TRANSFER PUMP OUTLET TUBE, SYNCHROMESH DRIVE TRACTORS, UP TO 454/8692, BUT USED ON TRACTORS W/FORWARD AND REVERSE

1шт.

3

68393C1

TUBE ASSY.

RETURN, 454/8693 UP, 2400/716 UP

1шт.

4

538649R91

PACKAGE

REAR FRAME COVER GASKET W/THREE SEALS 406734R1

1шт.

5

369751R1

O-RING,0.072" Thk x 0.351" ID, -904, Cl 6, 90 Duro

1/4 OD tube

2шт.

6

9410974

ELBOW,90 Degree, 7/16"-20, 37 Degree x 7/16"-20, O-Ring

7/16-20 90 DEG TUBE, RH BRAKE TUBE, 454/102858 UP, 2400/100276 UP

1шт.

6

9411128

TEE,7/16"-20, 37 Degree x 7/16"-20, O-Ring Run

7/16-20 C-Z 37 DEG HYD FLARED, TUBE ADJ STR HD 90 DEG

1шт.

403369

CAP, 7/16-20 C-Z 37 DEG HYD FLARED TUBE, RH BRAKE TUBE, UP TO 454/102857, UP TO 2400/100275

1шт.

7

NOT USED

1шт.

8

405739R2

GASKET

SIDE IPTO COVER

1шт.

9

405738R1

COVER

SIDE PTO

1шт.

179837

BOLT,Hex, 3/8" - 16 x 3/4", Gr 5

7шт.

10

296247R1

O-RING,16-1, 90 Duro, 1.171" ID x .116" Thk

1 OD TUBE

1шт.

11

9410363

PLUG

1-5/16-12 STR THD, O-RING BOSS

1шт.

12

529381R94

COVER ASSY

REAR FRAME

1шт.

120377

NUT,3/8" - 16, Gr 5

4шт.

120382

LOCK WASHER,Helical Spring, 3/8"

4шт.

179847

BOLT,Hex, 3/8" - 16 x 2", Gr 5

11шт.

179846

LEVER

11шт.

179850

BOLT,Hex, 3/8" - 16 x 2 3/4", Gr 5

3/8-16 X 2-5/8 HEX HD CAP

2шт.

179886

BOLT,Hex, 1/2" - 13 x 1 5/8", Gr 5

1/2-13 X 1-5/8 HEX-HD CAP

2шт.

413-830

BOLT,Hex, 1/2" - 13 x 1-7/8", Gr 5

1/2-13 X 1-7/8 HEX-HD CAP

4шт.

444695

PLUG

3/8-18 AUTOM-HEX-SOC-HD, PIPE

1шт.

444697

PLUG,Hex Soc, 3/8"-18

3/8-18 AUTOM-HEX-SOC-HD, PIPE

1шт.

444698

PLUG

3/8-18 C-Z AUTOM HEX SOC, HD PIPE

1шт.

386194R1

PLUG,Cup, 3/4"

3/4 CUP

1шт.

373553R1

PLUG,Cup, 7/8"

7/8 CUP

1шт.

41600D

PLUG,Cup, 1 1/8"

1-1/8 CUP

1шт.

24469R1

PLUG,Cup, 3 1/4"

3-1/4 CUP

2шт.

103321

LOCK WASHER,3/8"

14шт.

179883

BOLT,Hex, 1/2" - 13 x 1 1/4", Gr 5

3шт.

231-1408

LOCK NUT,1/2"-13, GB

1/2-13 NYLON INSERT

3шт.

536855R1

PLUG

3-1/4-16 C-Z STR HD O-RING, BOSS

1шт.

570828R1

O-RING,0.087" Thk x 0.644" ID, -908, Cl 6, 90 Duro

1/2 OD TUBE

1шт.

531144R1

STUD

TOP COVER SHORT

2шт.

531143R2

STUD

TOP COVER LONG

2шт.

13

384376C1

O-RING

15/16 X 1-1/16 X 1/16, 454/100236 UP, 2400/100040 UP

1шт.

14

9410978

ELBOW,90 Degree, 7/8"-14, 37 Degree x 7/8"-14, O-Ring

7/8-14 C-Z 37 DEG HYD FLARED TUBE ADJ STR THD 90 DEG, UP TO 454/100235, 2400/100039

1шт.

14

66762C1

PIPE,0.625" OD, 3.5" Length

TUBE ASSY, INLET UNION, 454/100236 UP, 2400/100040 UP

1шт.

15

66766C1

PLUG

INLET UNION, 454/100236 UP, 2400/100040 UP

1шт.

16

364885R1

O-RING,0.097" Thk x 0.755" ID, -910, Cl 6, 90 Duro

5/8 OD TUBE

1шт.

19

369751R1

O-RING,0.072" Thk x 0.351" ID, -904, Cl 6, 90 Duro

1/2 OD Tube, SYNCHROMESH DRIVE TRACTORS, UP TO 454/8692, USE ON TRACTORS W/FWD AND REVERSE

1шт.

17

21433R1

O-RING,0.103" Thk x 0.674" ID, -115, Cl 6, 90 Duro

11/16 X 7/8 X 3/32, AUXILIARY VALVE MANIFOLD

1шт.

18

352221R1

O-RING,0.103" Thk x 0.549" ID, -113, Cl 5, 75 Duro

9/16 X 3/4 X 3/32, AUXILIARY VALVE MANIFOLD

2шт.

37

369751R1

O-RING,0.072" Thk x 0.351" ID, -904, Cl 6, 90 Duro

1/4 OD tube

1шт.

19

570828R1

O-RING,0.087" Thk x 0.644" ID, -908, Cl 6, 90 Duro

1/2 OD TUBE, SYNCHROMESH DRIVE TRACTORS, 454/8693 UP

1шт.

20

9410977

ELBOW,90 Degree, 3/4"-16, 37 Degree x 3/4"-16, O-Ring

3/8-16 C-Z 37° HYD FLARED TUBE ADJ STR THD 90°, LUB REGULATOR RETURN TUBE, SYNCHROMESH DRIVE TRACTORS, UP TO 454/8692, BUT USED ON TRACTORS W/FORWARD AND REVERSE

1шт.

20

9410359

PLUG

3/4-16 C-Z STR THD O-RING BOSS, SYNCHROMESH DRIVE TRACTORS, 454/8693 UP

1шт.

21

9410978

ELBOW,90 Degree, 7/8"-14, 37 Degree x 7/8"-14, O-Ring

7/8-14 C-Z 37 DEG HYD FLARED TUBE ADJ STR THD 90 DEG, AUXILIARY VALVE MANIFOLD

1шт.

22

364885R1

O-RING,0.097" Thk x 0.755" ID, -910, Cl 6, 90 Duro

5/8 OD TUBE

1шт.

23

529382R1

MANIFOLD

AUX VALVE

1шт.

179847

BOLT,Hex, 3/8" - 16 x 2", Gr 5

4шт.

24

399996R1

GASKET

LINKAGE ACCESS COVER

1шт.

25

65970C1

BREATHER

ASSY, HYDRAULIC UNIT HOUSING, 454/8498 UP

1шт.

25

366591R91

CLEANER

BREATHER ASSY, HYD UNIT HOUSING

1шт.

25

538330R1

NO LONGER SERVICED

BREATHER ASSY, HYD UNIT HOUSING, OPTIONAL, UP TO 454/8497

1шт.

ON ORDERS FOR 399995R1 OR 366591R91, FURNISH 65269C1 COVER, 65970C1 BREATHER AND 399996R1 GASKET

1шт.

26

65969C1

COVER

LINKAGE ACCESS

1шт.

26

399995R1

COVER

LINKAGE ACCESS

1шт.

ON ORDERS FOR 399995R1 OR 366591R91, FURNISH 65269C1 COVER, 65970C1 BREATHER AND 399996R1 GASKET

1шт.

179791

BOLT,Hex, 1/4" - 20 x 1/2", Gr 5

5шт.

27

20953R1

DRAIN PLUG,Sq Hd, 1 1/4"-11 1/2 NPTF

1-3/4-11 X 1/2 NPTE

1шт.

28

82301R1

BLEEDER,3/8" - 24 x 117mm

BRAKE BLEED

2шт.

29

399843R2

GASKET

IPTO COVER

2шт.

179837

BOLT,Hex, 3/8" - 16 x 3/4", Gr 5

6шт.

30

399842R1

COVER

REAR FRAME IPTO

2шт.

31

406734R1

SEAL

TEFLON

3шт.

32

528448R1

PLATE

PARKING BRAKE PIVOT HOLE BLANKING, TRACTORS W/HAND OPERATED DRUM BRAKE

1шт.

179837

BOLT,Hex, 3/8" - 16 x 3/4", Gr 5

3шт.

103321

LOCK WASHER,3/8"

3шт.

33

528449R1

GASKET

PIVOT HOLE BLANKING PLATE

1шт.

34

9410200

HYD CONNECTOR,7/16" - 20 JIC x 7/16" - 20 ORB

7/16-20 C-Z 37 DEG HYD FLARED

1шт.

TUBE SHORT SWIVEL, L H BRAKE INLET TUBE

2шт.

35

369751R1

O-RING,0.072" Thk x 0.351" ID, -904, Cl 6, 90 Duro

1/4 OD tube

1шт.

36

9410356

PLUG

7/16-20 STR THD O-RING BOSS

1шт.

38

9410976

ELBOW,90 Degree, 9/16"-18, 37 Degree x 9/16"-18, O-Ring

9/16-18 37 DEG HYD FLARED TUBE ADJ STR THD 90 DEG OIL LEVEL GAUGE TUBE, MACHINE NOT FITTED W/ISO MOUNTED CAB

1шт.

38

9410280

ELBOW,90 Degree, 9/16"-18, 37 Degree x 9/16"-18, 37 Degree Fem Sw

9/16-18 37 DEG HYD FLARED TUBE

1шт.

9410202

HYD CONNECTOR,9/16"-18, 37 Degree x 9/16"-18, O-Ring

HYD FLARELESS TUBE, OIL LEVEL GAUGE TUBE, MACHINE FITTED W/ISO MOUNTED CAB

1шт.

39

364839R1

O-RING,0.078" Thk x 0.468" ID, -906, Cl 6, 90 Duro

3/8 OD tube

1шт.

40

528059R1

TUBE

REAR FRAME OIL LEVEL GAUGE

1шт.

41

352219R1

O-RING,0.07" Thk x 0.239" ID, -10, Cl 5, 75 Duro

1/4 X 3/8 X 1/16

1шт.

42

528054R1

DIPSTICK

GAUGE ASSY, REAR FRAME OIL LEVEL, SYNCHROMESH DRIVE TRACTORS

1шт.

42

528057R1

NO LONGER SERVICED

GAUGE ASSY, REAR FRAME OIL LEVEL, HYDROSTATIC DRIVE TRACTORS

1шт.

43

527748R1

PLUG

OIL RESERVOIR

1шт.

Выбрано товаров: 99