Запчасти Case IH 2400 (13-20) - BOSTROM SUSPENSION SEAT DELUXE, UP TO 454/105199 2400/100349 (05) - SUPERSTRUCTURE

Схема запчастей Case IH 2400 - (13-20) - BOSTROM SUSPENSION SEAT DELUXE, UP TO 454/105199 2400/100349 (05) - SUPERSTRUCTURE
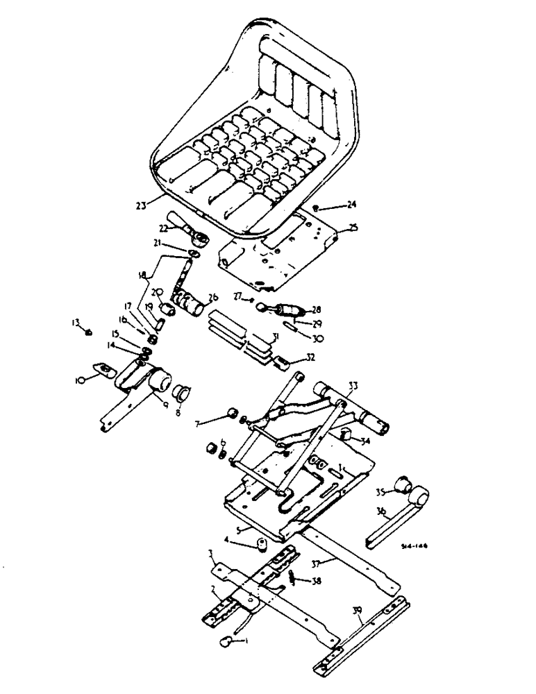
36
31
1
20
18
17
24
22
5
6
32
10
13
7
19
16
25
27
4
15
14
34
38
21
2
39
9
30
29
23
35
28
37
33
26
3
8
FIT
1:1
100%

Артикул

Название

Примечание

Количество

528738R91

SEAT ASSY.

DELUXE SUSPENSION, CONSISTS OF ALL UNMARKED PARTS AND THOSE MARKED FOR P/N 528738R91

1шт.

533223R91

SEAT

ASSY, DELUXE SUSPENSION, HIGH BACK, CONSISTS OF ALL UMARKED PARTS AND THOSE MARKED FOR P/N 533223R91

1шт.

180081

BOLT,Hex, 5/16"-18 x 1 1/4", G5

4шт.

23060R1

LOCK WASHER,Int Tooth, 5/16"

WASHER, 5/16 INT TOOTH LOCK

4шт.

3064188R1

SPACER

SEAT, MACHINE FITTED, W/ISO MOUNTED CAB

4шт.

160717

SCREW,Cross Pan Hd, 5/16" - 18 x 1"

4шт.

23060R1

LOCK WASHER,Int Tooth, 5/16"

WASHER, 5/16 INT TOOTH LOCK, MACHINES NOT FITTED W/ISO MOUNTED CAB

4шт.

1

538693R1

BUTTON

KNOB

1шт.

2

825199C91

SLIDE

RAIL, RH

1шт.

160688

SCREW,Cross Pan Hd, 5/16" - 18 x 3/4"

2шт.

80681

LOCK WASHER,5/16"

2шт.

3

538550R1

BRACKET

FRONT

1шт.

120376

NUT,5/16"-18, G5

2шт.

160688

SCREW,Cross Pan Hd, 5/16" - 18 x 3/4"

2шт.

80681

LOCK WASHER,5/16"

2шт.

4

3109739R1

BUMPER

1шт.

113959

SCREW,Sl Rnd Hd, 1/4" - 20 x 1"

1/4-20 X 5/8 CR REC FILL HD MACH

1шт.

32590D

WASHER

.266 X .422 X .032 CZ

2шт.

5

538553R1

BASE

PLATE ASSY

1шт.

88574

BOLT,Hex, 5/16" - 18 x 1/2", Gr 5, Full Thd

2шт.

120393

BEARING WASHER,5/16", SAE

11/32 X 11/16 X .051 CZ

2шт.

6

538565R1

WASHER

6шт.

7

538566R1

ROLLER

4шт.

8

538556R1

FLANGED BEARING

BEARING, FLANGED

1шт.

9

538558R1

SHROUD, LH

1шт.

88574

BOLT,Hex, 5/16" - 18 x 1/2", Gr 5, Full Thd

2шт.

120393

BEARING WASHER,5/16", SAE

11/32 X 11/16 X .051 CZ

2шт.

10

534574R1

SPACER

NOT USED

1шт.

13

538695R1

PLUG

PUSH IN

1шт.

14

538575R91

BEARING, NEEDLE

1шт.

15

538576R1

THRUST WASHER

2шт.

16

538572R1

PIN, ROLL

1шт.

17

538571R1

COLLAR

1шт.

18

538567R91

STUD

ASSY, ADJUSTER

1шт.

19

538569R1

SLEEVE

1шт.

20

538568R1

TRUNNION

ADJUSTER

1шт.

21

538570R1

GEAR

ADJUSTER

1шт.

22

538573R1

HANDLE

ASSY, RATCHET

1шт.

180077

BOLT,Hex, 5/16" - 18 x 3/4", Gr 5

5/16-18 X 3/4 ZND HEX HD CAP

1шт.

20893R1

WASHER

11/32 X 1 X 11 GA CZ

1шт.

80681

LOCK WASHER,5/16"

1шт.

23

538528R1

SEAT

ASSY, PAN, FOR 528738R91

1шт.

23

3113424R1

SEAT ASSY, PAN, FOR 533223R91

1шт.

160688

SCREW,Cross Pan Hd, 5/16" - 18 x 3/4"

4шт.

80681

LOCK WASHER,5/16"

4шт.

120393

BEARING WASHER,5/16", SAE

11/32 X 11/16 X .51 CZ

4шт.

24

538552R1

NUT

4шт.

25

538551R1

SEAT PLATE

ASSY, TOP

1шт.

413-410

BOLT,Hex, 1/4" - 20 x 5/8", Gr 5

SCREW, 1/4-20 X 5/8 ZND HEX HD CAP

2шт.

156241

SCREW,Cross Flat Hd, 1/4" - 20 x 1/2"

2шт.

492-11025

LOCK WASHER,1/4"

2шт.

26

538557R1

ADJUSTER

1шт.

27

110668

RING

2шт.

28

538577R1

DAMPER

ASSY

1шт.

29

538579R1

PIN, ROLL

COTTER CHECK

2шт.

30

538578R1

PIN

DAMPER

2шт.

31

3074836R1

BAR

TORSION

3шт.

32

538560R1

RETAINER

1шт.

33

538554R1

LEVER ASSY.

1шт.

34

538564R1

STOP

LIMIT

2шт.

35

538556R1

FLANGED BEARING

BEARING, FLANGED

1шт.

36

538555R91

BRACKET

BEARING ASSY

1шт.

37

538529R1

BRACKET

REAR

1шт.

120376

NUT,5/16"-18, G5

2шт.

160688

SCREW,Cross Pan Hd, 5/16" - 18 x 3/4"

2шт.

80681

LOCK WASHER,5/16"

2шт.

38

538694R1

SPRING

1шт.

39

825198C1

RAIL

SLIDE LH

1шт.

160688

SCREW,Cross Pan Hd, 5/16" - 18 x 3/4"

2шт.

80681

LOCK WASHER,5/16"

2шт.

Выбрано товаров: 0